Black Glass Floating TV Shelf
Instruction Manual
Black Glass Floating TV Shelf
| Please read all instructions carefully before use and retain for future reference. | |
| Protect your eyes. | |
| Protect your ears. | |
| Protect your hands. | |
| CAUTION Potential finger trap/pinchment points | |
| Re-tighten fixings every 6 months | |
| 8kg/17.6lb Maximum. |
Basic safety precautions should always be followed.
INTENDED USE
This product is not intended for outdoor use.This product is not intended as a climbing structure and it is not a toy. Children should be supervised to ensure that they do not play with the product.
BEFORE FIRST USE
Locate the product in a suitable area where it will not create an obstruction. Locate away from sources of combustion.
GENERAL SAFETY
The assembly pack may contain small parts which can pose a choking hazard to children and pets. Do not overload the product as this may result in damage to the product or personal injury.
CLEANING & MAINTENANCE
Do not clean the product with any abrasive cloth or chemicals. Solvents or detergents can cause damage to the surface.
Periodically check and re-tighten fittings where applicable. Re-tighten all fittings after first week following assembly. To clean, sponge down with warm water, a soft cloth and mild detergent. Ensure you have all the pieces listed. If you are missing any components, contact our customer services department at [email protected] 
WALL MOUNTING
IMPORTANT
When drilling into walls always check that there are no hidden wires or pipes. Ensure that the screws and wall plugs being used are suitable for supporting the unit to be installed.
If you are unsure it is recommended you contact a suitable qualified tradesperson.
TIPS Ensure you use a recommended drill bit to match the wall plug and hole size.
Take extra care when drilling high walls, ceilings, and ceramic tiles, and ensure the wall plug is fitted below the ceramic tile to avoid splitting or cracking.
Ensure the wall plugs are well fitted and are a secure fit to the drilled hole.
The guide below will help to determine the most suitable wall plug type for your application.
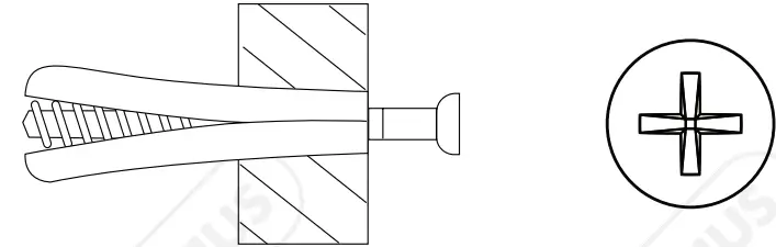
| Shield Anchor For use with heavier items such as TVs. | ![]() |
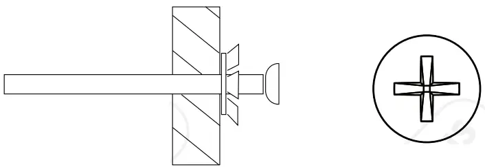
| Hammer Fixing Use with wall stuck with plasterboard. The Hammer fixing allows it to be fixed to a wall rather than the plasterboard. | ![]() |
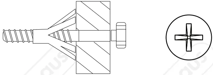
| Cavity Fixing Heavy Duty For use when supporting heavy loads for example cabinets and shelving. | ![]() |
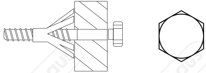
| Cavity Fixing For use with plasterboard partitions or hollow wooden doors. | ![]() |
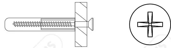
| Standard Wall Plug Suitable for use on most types of walls such as brick, breeze block, concrete, stone, wood or plaster. | ![]() |
COMPONENTS

ASSEMBLY




DISPOSAL INFORMATION
Please recycle where facilities exist. Check with your local authority for recycling advice.
CUSTOMER SERVICE
If you are having difficulty using this product and require support, please contact [email protected]
WARRANTY
To register your product and find out if you qualify for a free extended warranty please go to www.vonhaus.com/warranty. Please retain a proof of purchase receipt or statement as proof of the purchase date. The warranty only applies if the product is used solely in the manner indicated in the warnings page of this manual, and all other instructions have been followed accurately. Any abuse of the product or the manner in which it is used will invalidate the warranty.
Returned goods will not be accepted unless re-packaged in their original packaging and accompanied by a relevant and completed returns form. This does not affect your statutory rights. No rights are given under this warranty to a person acquiring the appliance second-hand or for commercial or communal use.
COPYRIGHT
All material in this instruction manual is copyrighted by DOMU Brands. Any unauthorized use may violate worldwide copyright, trademark, and other laws.
THANK YOU
Thank you for purchasing your product/appliance.
Should you require further assistance with your purchase, you can contact us at [email protected]
VonHaus is a registered trademark of DOMU Brands
Ltd. Made in China for DOMU Brands. M24 2RW.![]()
























