DOLMAR HT-5510 Hedge Trimmer Instruction Manual
SPECIFICATIONS
| Model | HT-5510 | HT-6510 | HT-7510 |
| Blade length | 550 mm | 650 mm | 750 mm |
| Strokes per minute (min-1) | 1,500 | 1,500 | 1,500 |
| Overall length | 970 mm | 1,049 mm | 1,157 mm |
| Net weight | 4.3 kg | 4.4 kg | 4.6 kg |
| Safety class | |||
- Due to our continuing program of research and development, the specifications herein are subject to change without notice.
- Specifications may differ from country to country.
- Weight according to EPTA-Procedure 01/2003
Symbol
The following show the symbols used for the equipment.
Be sure that you understand their meaning before use.
Read instruction manual.
DOUBLE INSULATION
Do not expose to rain.
Remove plug from the mains immediately if the cable is damaged or cut.
Only for EU countries
Do not dispose of electric equipment together with household waste material!
In observance of European Directive 2012/19/EU on waste electric and electronic equipment and its implementation in accordance with national law, electric equipment that have reached the end of their life must be collected separately and returned to an environmentally compatible recycling facility.
Intended use
The tool is intended for trimming hedges.
Power supply
The tool should be connected only to a power supply of the same voltage as indicated on the nameplate, and can only be operated on single-phase AC supply. They are double-insulated and can, therefore, also be used from sockets without earth wire.
Noise
The typical A-weighted noise level determined according to EN60745:
Sound pressure level (LpA) : 86.5 dB (A)
Sound power level (LWA) : 94.5 dB (A)
Uncertainty (K) : 0.7 dB (A)
Wear ear protection
Vibration
The vibration total value (tri-axial vector sum) determined according to EN60745:
Work mode : hedge trimming
Vibration emission (ah) : 4.4 m/s2
Uncertainty (K) : 1.5 m/s
NOTE: The declared vibration emission value has been measured in accordance with the standard test method and may be used for comparing one tool with another.
NOTE: The declared vibration emission value may also be used in a preliminary assessment of exposure.
WARNING: The vibration emission during actual use of the power tool can differ from the declared emission value depending on the ways in which the tool is used.
WARNING: Be sure to identify safety measures to protect the operator that are based on an estimation of exposure in the actual conditions of use (taking account of all parts of the operating cycle such as the times when the tool is switched off and when it is running idle in addition to the trigger time).
For European countries only
EC Declaration of Conformity
The undersigned, Tamiro Kishima and Rainer Bergfeld, as authorized by Dolmar GmbH, declare that the DOLMAR machine(s):
Designation of Machine:
Hedge Trimmer
Model No./ Type: HT-5510, HT-6510, HT-7510
Specifications: see “SPECIFICATIONS” table. are of series production and
Conforms to the following European Directives:
2000/14/EC, 2006/42/EC
And are manufactured in accordance with the following standards or standardised documents:
EN60745
The technical documentation is on file at:
Dolmar GmbH,
Jenfelder Straße 38, Abteilung FZ,
D-22045 Hamburg
The conformity assessment procedure required by
Directive 2000/14/EC was in Accordance with annex V.
Measured Sound Power Level: 94.5 dB (A)
Guaranteed Sound Power Level: 96 dB (A)

Tamiro Kishima
Managing Director
![]()
Rainer Bergfeld
Managing Director
General Power Tool Safety Warnings
WARNING Read all safety warnings and all instructions. Failure to follow the warnings and instructions may result in electric shock, fire and/or serious injury.
Save all warnings and instructions for future reference.
HEDGE TRIMMER SAFETY WARNINGS
- Keep all parts of the body away from the cutter blade. Do not remove cut material or hold material to be cut when blades are moving.
Make sure the switch is off when clearing jammed material. A moment of inattention while operating the hedge trimmer may result in serious personal injury. - Carry the hedge trimmer by the handle with the cutter blade stopped. When transporting or storing the hedge trimmer always fit the cutting device cover. Proper handling of the hedge trimmer will reduce possible personal injury from the cutter blades.
- Hold the power tool by insulated gripping surfaces only, because the cutter blade may contact hidden wiring or its own cord. Cutter blades contacting a “live” wire may make exposed metal parts of the power tool “live” and could give the operator an electric shock.
- Keep cable away from cutting area. During operation the cable may be hidden in shrubs and can be accidentally cut by the blade.
- Do not use the hedge trimmer in the rain or in wet or very damp conditions. The electric motor is not waterproof.
- First-time users should have an experienced hedge trimmer user show them how to use the trimmer.
- The hedge trimmer must not be used by children or young persons under 18 years of age. Young persons over 16 years of age may be exempted from this restriction if they are undergoing training under the supervision of an expert.
- Use the hedge trimmer only if you are in good physical condition. If you are tired, your attention will be reduced. Be especially careful at the end of a working day. Perform all work calmly and carefully. The user is responsible for all damages to third parties.
- Never use the trimmer when under the influence of alcohol, drugs or medication.
- Check to make sure that the voltage and frequency of the power supply correspond to the specifications given on the identification plate. We recommend the use of a residual-current-operated circuit breaker (ground-fault circuit interrupter) with a tripping current of 30 mA or less, or an earth leakage current protector.
- Work gloves of stout leather are part of the basic equipment of the hedge trimmer and must always be worn when working with it. Also wear sturdy shoes with anti-skid soles.
- Before starting work check to make sure that the trimmer is in good and safe working order. Ensure guards are fitted properly. Check cable for damage before starting work and replace if necessary.
The hedge trimmer must not be used unless fully assembled. - Keep cable away from the cutting area. Always work in such a way that the extension power cord is behind you.
- Remove plug from the mains immediately if cable is damaged or cut.
- Make sure you have a secure footing before starting operation.
- Hold the tool firmly when using the tool.
- Do not operate the tool at no-load unnecessarily.
- Immediately switch off the motor and unplug the mains plug if the cutter should come into contact with a fence or other hard object. Check the cutter for damage, and if damaged repair immediately.
- Before checking the cutter, taking care of faults, or removing material caught in the cutter, always switch off the trimmer and unplug the mains plug.
- Switch off the trimmer and disconnect and secure the mains plug before doing any maintenance work.
- When moving the hedge trimmer to another location, including during work, always unplug the mains plug and put the blade cover on the cutter blades. Never carry or transport the trimmer with the cutter running. Never grasp the cutter with your hands.
- Clean the hedge trimmer and especially the cutter after use, and before putting the trimmer into storage for extended periods. Lightly oil the cutter and put on the cover. The cover supplied with the unit can be hung on the wall, providing a safe and practical way to store the hedge trimmer.
- Store the hedge trimmer with the cover on, in a dry room. Keep it out of reach of children. Never store the trimmer outdoors.
- Do not operate the tool at no-load unnecessarily.
SAVE THESE INSTRUCTIONS.
WARNING: DO NOT let comfort or familiarity with product (gained from repeated use) replace strict adherence to safety rules for the subject product. MISUSE or failure to follow the safety rules stated in this instruction manual may cause serious personal injury.
FUNCTIONAL DESCRIPTION
CAUTION:
- Always be sure that the tool is switched off and unplugged before adjusting or checking function on the tool.
Switch action
► Fig.1:
- Switch trigger B
- Switch trigger A
- Switch trigger C
For your safety, this tool is equipped with a triple switching system. To turn on the tool, press two out of three triggers A, B and C. Release either one of the two pressed triggers to turn off. The sequence of switching is unimportant as the tool only starts when both switches are activated.
Straight cut
► Fig.2
To trim the hedge straight, pull triggers A and B.
Vertical cut
► Fig.3
Cut upwards with both hands pull the switch triggers B and C and move it in front of your body.
Far area cut
► Fig.4
To trim the hedge in far area with both hands pull the switch triggers A and C.
ASSEMBLY
CAUTION:
- Always be sure that the tool is switched off and unplugged before carrying out any work on the tool.
Engage the extension cord
CAUTION:
- Make sure that the extension cord is unplugged to the mains outlet.
► Fig.5:

- Hook complete
- Extension cord
- Tool’s cord
When engaging the extension cord, secure it to the tool’s cord with the hook complete. Attach the hook about 100 – 200 mm from the extension cord connector.
This will help prevent unintentional disconnection.
Waist cord hook
CAUTION:
- Do not attach the holder of waist cord hook to other than the extension cord. Do not attach it in a position closer to the tool beyond the hook complete. Failure to do so may cause an accident or personal injury.
- Attach firmly one hook of the hook complete to the tool’s cord and the other hook of hook complete to the extension cord. Working with the tool with a sole hook only attached may cause an accident and injury.
Using the waist cord hook helps to minimizing a risk of cutting off the extension cord unexpectedly caused by the loose extension cord.
► Fig.6:

- Hook
- Tool
- Tool’s cord
- Hook complete
- Extension cord
- Holder
- Waist cord hook
Press in or pull out the cord through the opening of the holder.
► Fig.7:
- Holder
- Cord
CAUTION:
- Do not force the opening of the holder. Failure to do so may cause deflection and damage to it.
Arm cord hook (Accessory)
CAUTION:
- Do not attach the holder of arm cord hook to other than the extension cord. Do not attach it in a position closer to the tool beyond the hook complete hooks. Failure to do so may cause an accident or personal injury.
- Attach firmly one hook of the hook complete to the tool’s cord and the other hook of hook complete to the extension cord. Working with the tool with a sole hook only attached may cause an accident and injury.
Using the arm cord hook helps to minimize a risk of cutting off the extension cord unexpectedly caused by the loose extension cord.
► Fig.8:

- Holder
- Arm cord hook
Attach firmly the arm cord hook placing around your arm and pass the extension cord through the holder.
The length of the arm cord hook band is adjustable.
NOTE:
- Do not pass the extension cord through the band.
- Do not force the opening of the holder. Failure to do so may cause deflection and damage to it.
- Using the arm cord hook together with the waist cord hook is more helpful.
OPERATION
CAUTION:
- Be careful not to accidentally contact a metal fence or other hard objects while trimming. The blade will break and may cause serious injury.
- Overreaching with a hedge trimmer, particularly from a ladder, is extremely dangerous. Do not work from anything wobbly or infirm.
NOTICE: Do not attempt to cut branches thicker than 10 mm in diameter with the tool. Cut branches to 10 cm lower than the cutting height using branch cutters before using the tool.
► Fig.9:

- Cutting height
- 10 cm
CAUTION:
- Do not cut off dead trees or similar hard objects.
Failure to do so may damage the tool.
Hold the trimmer with both hands pull the switch trigger A or B and move it in front of your body.
► Fig.10

As a basic operation, tilt the blades towards the trimming direction and move it calmly and slowly at the speed rate of 3 – 4 seconds per meter.
► Fig.11:

- Trimming direction
- Tilt the blades
- Hedge surface to be trimmed
To cut a hedge top evenly, it helps to tie a string at the desired hedge height and to trim along it, using it as a reference line.
► Fig.12

Attaching the chip receiver (accessory) on the tool when trimming the hedge straight can avoid cut off leaves’ being thrown away.
► Fig.13

To cut a hedge side evenly, it helps to cut from the bottom upwards.
► Fig.14

Trim boxwood or rhododendron from the base toward the top for a nice appearance and good job.
► Fig.15

Installing or removing chip receiver
(accessory)
CAUTION:
- Always be sure that the tool is switched off and unplugged before installing or removing chip receiver.
NOTE:
- When replacing the chip receiver, always wear gloves so that hands and face does not directly contact the blade. Failure to do so may cause personal injury.
- Always be sure to remove the blade cover before installing the chip receiver.
- The chip receiver receives cut-off leaves and alleviates collecting thrown-away leaves. This can be installed on either side of the tool.
► Fig.16:

- Press
- Chip receiver
- Nut
- Shear blade
Press the chip receiver on the shear blades so that its slits overlap with the nuts on the shear blades. At this time, make sure that the chip receiver does not contact branch catcher at the top of the shear blades.
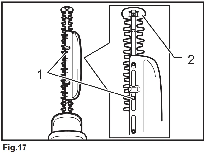
► Fig.17:

- Nut
- Branch catcher
At this time, the chip receiver needs to be installed so that its hooks fit into grooves in the shear blade unit.
► Fig.18:

- Hooks
- Fit the hooks into groove
- Grooves
To remove the chip receiver, press its lever on both sides so that the hooks are unlocked.
► Fig.19:

- Press the levers on both sides
- Unlock the hooks
CAUTION:
- The blade cover (standard equipment) cannot be installed on the tool with the chip receiver being installed. Before carrying or storing, uninstall the chip receiver and then install the blade cover to avoid blade exposure.
NOTE:
- Check the chip receiver for secure installment before use.
- Never try to uninstall the chip receiver by an excessive force with its hooks locked in the blade unit grooves. Using the excessive force may damage it.
MAINTENANCE
CAUTION:
- Always be sure that the tool is switched off and unplugged before attempting to perform inspection or maintenance.
Cleaning the tool
Clean out the tool by wiping off dust with a dry or soapdipped rag.
CAUTION:
- Never use gasoline, benzine, thinner, alcohol or the like. Discoloration, deformation or cracks may result.
Blade maintenance
Smear the blade before and once per hour during operation using machine oil or similars.
After operation, remove dust from both sides of the blade with wired brush, wipe off it with a rag and then apply enough low-viscosity oil, such as machine oil etc. and spray-type lubricating oil.
CAUTION:
- Do not wash the blades in water. Failure to do so may cause rust or damage on the tool.
Removing or installing shear blade
CAUTION:
- Before removing or installing shear blade, always be sure that the tool is switched off and unplugged.
- When replacing the shear blade, always wear gloves without removing blade cover so that hands and face does not directly contact the blade. Failure to do so may cause personal injury.
NOTE:
- Do not wipe off grease from the gear and crank.
Failure to do so may cause damage to the tool. - For specific way of removing and installing shear blades refer to the reverse of a package for accessory shear blades.
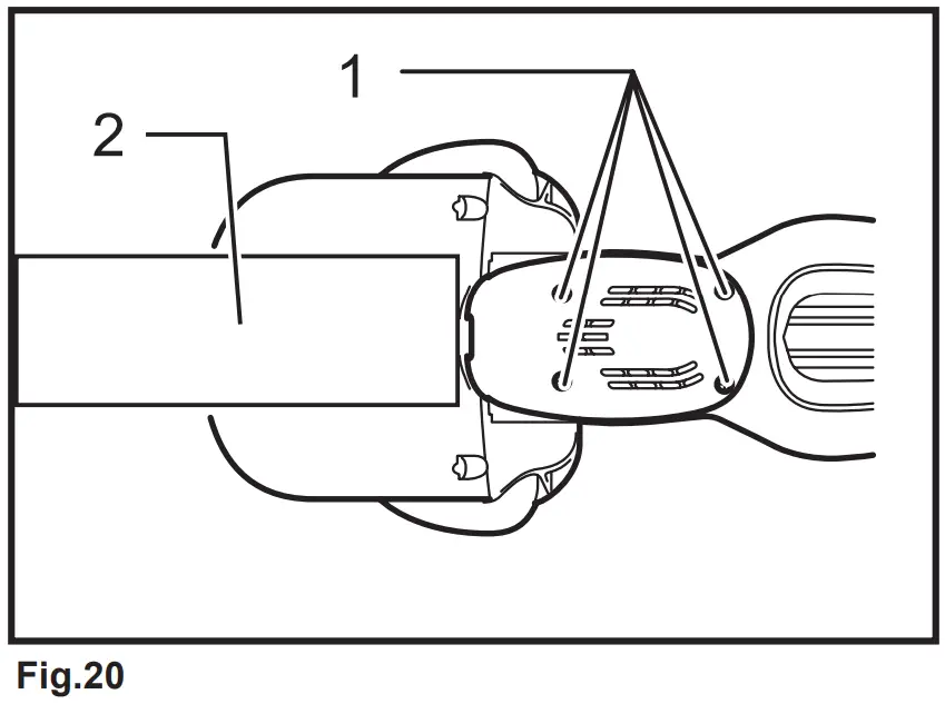
Removing the shear blades
Reverse the tool and loosen four screws.
► Fig.20:

- Screws
- Blade cover
NOTE:
- Be careful not to get your hands dirty as grease is applied in the shear blade driving area.
Remove the under cover.
► Fig.21:

- Under cover
- Blade cover
Remove the gear housing cover.
► Fig.22:

- Gear housing cover
Set the crank at the angle as shown in the figure with a slotted bit screwdriver.
► Fig.23:

- Crank
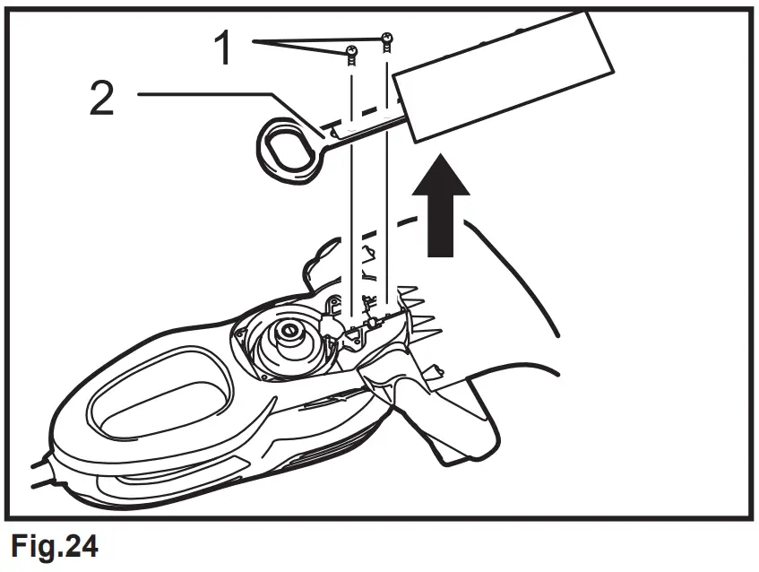
Remove two screws from the shear blades and the shear blade unit will be taken out.
► Fig.24:

- Screws
- Shear blade
CAUTION:
- Return the gear to the original position in such a manner as it was installed if it should be taken away by mistake.
Installing the shear blade
Prepare 4 removed screws (For under cover), 2 screws (For shear blade), gear housing cover, under cover, and new shear blades.
Adjust the crank position as shown in the figure. At this time, apply some grease provided with new shear blades to the periphery of the crank.
► Fig.25:

- Crank
Overlap the oval hole in the upper blade with that in the lower one.
► Fig.26:

- Ellipse of shear blade
Take out the blade cover from the old shear blades and fit it onto the new ones for easy handling during the replacement of blades.
► Fig.27

Place the new shear blades on the tool so that the oval holes in the shear blades fit onto the crank. Overlap the holes in the shear blades with the screw holes in the tool and then secure them with two screws.
► Fig.28:

- Ellipse of shear blade
- Crank
Check the crank for smooth turn with a slotted bit screwdriver.
► Fig.29:

- Crank
Install the gear housing, under cover on the tool.
Tighten the screw firmly.
Remove the blade cover and then turn on the tool to check it for proper movement.
NOTE:
- When the shear blades does not operate properly, there is a poor fit between the blades and crank. Redo from the beginning.
Storage
The hook hole in the bottom of the blade cover is convenient for hanging the tool from a nail or screw on the wall.
► Fig.30

Put the blade cover on the shear blades so that the blades are not exposed. Store the tool out of the reach of children carefully.
Store the tool in the place not exposed to water and rain.
To maintain product SAFETY and RELIABILITY, repairs, carbon brush inspection and replacement, any other maintenance or adjustment should be performed by Dolmar Authorized Service Centers, always using Dolmar replacement parts.
OPTIONAL ACCESSORIES
CAUTION:
- These accessories or attachments are recommended for use with your Dolmar tool specified in this manual. The use of any other accessories or attachments might present a risk of injury to persons. Only use accessory or attachment for its stated purpose.
If you need any assistance for more details regarding these accessories, ask your local Dolmar service center.
- Blade cover
- Hook complete
- Shear blade assembly
- Waist cord hook
- Arm cord hook
NOTE:
- Some items in the list may be included in the tool package as standard accessories. They may differ from country to country
DOLMAR GmbH
Postfach 70 04 20
D-22004 Hamburg
Germany




















