CROWN CT13551-110RSV Burnishing Grinding

Product Overview


Power tool specifications
| Burnishing machine | CT13551-110RSV | |
| Power tool code | [220-230 V ~50/60 Hz] | 422545 |
| Rated power | [W] | 1400 |
| Power output | [W] | 815 |
| Amperage at voltage | 220-230 V [A] | 6.6 |
| Rated speed | [min-1] | 1000-4000 |
| Max. Ø of brush | [mm] [inches] | 110 4-1/4″ |
| Max. width of brush | [mm] [inches] | 100 4″ |
| Spindle Ø | [mm] [inches] | 19 3/4″ |
| Weight | [kg] [lb] | 3,1 6.84 |
| Safety class | ||
| Sound pressure | [dB(A)] | 86,9 |
| Acoustic power | [dB(A)] | 97,9 |
| Weighted vibration | [m/s2] | 1,5 |
Noise information
Always wear ear protection if the sound pressure exceed 85 dB(A).
Declaration of conformity
We declare under our sole responsibility that the product described under “Power tool specifications” is in conformity with all relevant provisions of the directives 2006/42/EC including their amendments and complies with the following standards: EN 60745-1, EN 60745-2-3
Certification manager

Wu Cunzhen
Merit Link International AG
Stabio, Switzerland, 04.12.2018
WARNING – To reduce the risk of injury, user must read instruction manual!
General safety rules
WARNING! Read all safety warnings and all instructions. Failure to follow the warnings and instructions may result in electric shock, fire and / or serious injury.
Save all warnings and instructions for future reference.
The term “power tool” in the warnings refers to your mains-operated (corded) power tool or battery-operated (cordless) power tool.
Work area safety
- Keep work area clean and well lit. Cluttered or dark areas invite accidents.
- Do not operate power tools in explosive atmospheres, such as in the presence of flammable liquids, gases or dust. Power tools create sparks which may ignite the dust or fumes.
- Keep children and bystanders away while operating a power tool. Distractions can cause you to lose control.
Electrical safety
- Power tool plugs must match the outlet. Never modify the plug in any way. Do not use any adapter plugs with earthed (grounded) power tools. Unmodified plugs and matching outlets will reduce risk of electric shock.
- Avoid body contact with earthed or grounded surfaces, such as pipes, radiators, ranges and refrigerators. There is an increased risk of electric shock if your body is earthed or grounded.
- Do not expose power tools to rain or wet conditions. Water entering a power tool will increase the risk of electric shock.
- Do not abuse the cord. Never use the cord for carrying, pulling or unplugging the power tool. Keep cord away from heat, oil, sharp edges or moving parts. Damaged or entangled cords increase the risk of electric shock.
- When operating a power tool outdoors, use an extension cord suitable for outdoor use. Use of a cord suitable for outdoor use reduces the risk of electric shock.
- If operating a power tool in a damp location is unavoidable, use a residual current device (RCD) protected supply. Use of an RCD reduces the risk of electric shock. NOTE! The term “residual current device (RCD)” may be replaced by the term “ground fault circuit interrupter (GFCI)” or “earth leakage circuit breaker (ELCB)”.
- Warning! Never touch the exposed metal surfaces on gearbox, shield, and so on because touching metal surfaces will be interfered with the electromagnetic wave, thus causing potential injury or accidents.
Personal safety
- Stay alert, watch what you are doing and use common sense when operating a power tool. Do not use a power tool while you are tired or under the influence of drugs, alcohol or medication. A moment of inattention while operating power tools may result in serious personal injury.
- Use personal protective equipment. Always wear eye protection. Protective equipment such as dust mask, non-skid safety shoes, hard hat, or hearing protection used for appropriate conditions will reduce personal injuries.
- Prevent unintentional starting. Ensure the switch is in the off-position before connecting to power source and / or battery pack, picking up or carrying the tool. Carrying power tools with your fin- ger on the switch or energising power tools that have the switch on invites accidents.
- Remove any adjusting key or wrench before turning the power tool on. A wrench or a key left attached to a rotating part of the power tool may result in personal injury.
- Do not overreach. Keep proper footing and balance at all times. This enables better control of the
power tool in unexpected situations. - Dress properly. Do not wear loose clothing or jewellery. Keep your hair, clothing and gloves away from moving parts. Loose clothes, jewellery or long hair can be caught in moving parts.
- If devices are provided for the connection of dust extraction and collection facilities, ensure these are connected and properly used. Use of dust collection can reduce dust-related hazards.
- Do not let familiarity gained from frequent use of tools allow you to become complacent and ignore tool safety principles. A careless action can cause severe injury within a fraction of a second.
- Warning! Power tools can produces an electromagnetic field during operation. This field may under some circumstances interfere with active or passive medical implants. To reduce the risk of serious or fatal injury, we recommend persons with medical implants to consult their physician and the medical implant manufacturer before operating this power tool.
Power tool use and care
- The persons with lowered psychophysical or mental aptitudes as well as children can not operate the power tool, if they are not supervised or instructed about use of the power tool by a person responsible for their safety.
- Do not force the power tool. Use the correct power tool for your application. The correct power tool will do the job better and safer at the rate for which it was designed.
- Do not use the power tool if the switch does not turn it on and off. Any power tool that cannot be controlled with the switch is dangerous and must be repaired.
- Disconnect the plug from the power source and / or the battery pack from the power tool before making any adjustments, changing accessories, or storing power tools. Such preventive safety measures reduce the risk of starting the power tool accidentally.
- Store idle power tools out of the reach of children and do not allow persons unfamiliar with the power tool or these instructions to operate the power tool. Power tools are dangerous in the hands of untrained users.
- Maintain power tools. Check for misalignment or binding of moving parts, breakage of parts and any other condition that may affect the power tool’s operation. If damaged, have the power tool repaired before use. Many accidents are caused by poorly maintained power tools.
- Keep cutting tools sharp and clean. Properly maintained cutting tools with sharp cutting edges are less likely to bind and are easier to control.
- Use the power tool, accessories and tool bits etc. in accordance with these instructions, taking into account the working conditions and the work to be performed. Use of the power tool for operations different from those intended could result in a hazardous situation.
- Keep handles and grasping surfaces dry, clean and free from oil and grease. Slippery handles and grasping surfaces do not allow for safe handling and control of the tool in unexpected situations.
- Note that when you operate a power tool, please hold the auxiliary handle correctly, which is helpful when controlling the power tool. Therefore, proper holding can reduce the risk of accidents or injuries.
Service
- Have your power tool serviced by a qualified repair person using only identical replacement parts. This will ensure that the safety of the power tool is maintained.
- Follow instruction for lubricating and changing accessories.
Special safety warnings
Safety warnings common for grinding, sanding, wire brushing, polishing or abrasive cutting-off operations:
- This power tool is intended to function as a grinder, sander, wire brush, polisher or cut-off tool. Read all safety warnings, instructions, illustrations and specifications provided with this power tool. Failure to follow all instructions listed below may result in electric shock, fire and / or serious injury.
- Do not use accessories which are not specifically designed and recommended by the tool manufacturer. Just because the accessory can be attached to your power tool, it does not assure safe operation.
- The rated speed of the accessory must be at least equal to the maximum speed marked on the power tool. Accessories running faster than their rated speed can break and fly apart.
- The outside diameter and the thickness of your accessory must be within the capacity rating of your power tool. Incorrectly sized accessories cannot be adequately guarded or controlled.
- The arbour size of wheels, flanges, backing pads or any other accessory must properly fit the spindle of the power tool. Accessories with arbour holes that do not match the mounting hardware of the power tool will run out of balance, vibrate excessively and may cause loss of control.
- Do not use a damaged accessory. Before each use inspect the accessory such as abrasive wheels for chips and cracks, backing pad for cracks, tear or excess wear, wire brush for loose or cracked wires. If power tool or accessory is dropped, inspect for damage or install an undamaged accessory. After inspecting and installing an accessory, position yourself and bystanders away from the plane of the rotating accessory and run the power tool at maximum no-load speed for one minute. Damaged accessories will normally break apart during this test time.
- Wear personal protective equipment. Depending on application, use face shield, safety goggles or safety glasses. As appropriate, wear dust mask, hearing protectors, gloves and workshop apron capable of stopping small abrasive or workpiece fragments. The eye protection must be capable of stopping flying debris generated by various operations. The dust mask or respirator must be capable of filtrating particles generated by your operation. Prolonged exposure to high intensity noise may cause hearing loss.
- Keep bystanders a safe distance away from work area. Anyone entering the work area must wear personal protective equipment. Fragments of workpiece or of a broken accessory may fly away and cause injury beyond immediate area of operation.
- Hold the power tool by insulated gripping surfaces only, when performing an operation where the cutting accessory may contact hidden wiring or its own cord. Cutting accessory contacting a “live” wire may make exposed metal parts of the power tool “live” and could give the operator an electric shock.
- Position the cord clear of the spinning accessory. If you lose control, the cord may be cut or snagged and your hand or arm may be pulled into the spinning accessory.
- Never lay the power tool down until the accessory has come to a complete stop. The spinning accessory may grab the surface and pull the power tool out of your control.
- Do not run the power tool while carrying it at your side. Accidental contact with the spinning accessory could snag your clothing, pulling the accessory into your body.
- Regularly clean the power tool’s air vents. The motor’s fan will draw the dust inside the housing and excessive accumulation of powdered metal may cause electrical hazards.
- Do not operate the power tool near flammable materials. Sparks could ignite these materials.
- Do not use accessories that require liquid coolants. Using water or other liquid coolants may result in electrocution or shock.
Kickback is a sudden reaction to a pinched or snagged rotating wheel, backing pad, brush or any other accessory. Pinching or snagging causes rapid stalling of the rotating accessory which in turn causes the uncontrolled power tool to be forced in the direction opposite of the accessory’s rotation at the point of the binding. For example, if an abrasive wheel is snagged or pinched by the workpiece, the edge of the wheel that is entering into the pinch point can dig into the surface of the material causing the wheel to climb out or kick out. The wheel may either jump toward or away from the operator, depending on direction of the wheel’s movement at the point of pinching. Abrasive wheels may also break under these conditions.
Kickback is the result of power tool misuse and / or incorrect operating procedures or conditions and can be avoided by taking proper precautions as given below.
- Maintain a firm grip on the power tool and position your body and arm to allow you to resist kickback forces. Always use auxiliary handle, if provided, for maximum control over kickback or torque reaction during start-up. The operator can control torque reactions or kickback forces, if proper precautions are taken.
- Never place your hand near the rotating accessory. Accessory may kickback over your hand.
- Do not position your body in the area where power tool will move if kickback occurs. Kickback will propel the tool in direction opposite to the wheel’s movement at the point of snagging.
- Use special care when working corners, sharp edges etc. Avoid bouncing and snagging the accessory. Corners, sharp edges or bouncing have a tendency to snag the rotating accessory and cause loss of control or kickback.
- Do not attach a saw chain woodcarving blade or toothed saw blade. Such blades create frequent kickback and loss of control.
- It is strictly forbidden to work with the power tool turned upside-down or fix it at place – it can be dangerous and cause serious injuries.
- Workpieces containing asbestos must not be
processed. - It is strictly forbidden to reduce brush rotation speed by inertia, using the spindle keylock. Using the spindle keylock for this purpose will cause failure of the power tool and make the warranty void.
Warning: the chemical substances contained in dust generated in sanding, cutting, sawing, grinding, drilling and other construction industry activities may result in cancer, congenital deficiency or be harmful to the fertility. The ion of some chemical substances shall be:
- Before any repair and replacement work to the machine, the power plug must be pulled out firstly.
- The transparent two silicon oxide and other masonry products in the wall bricks and cement; the chromium arsenic (CCA) in wood with chemical treatment. The harm degree of these substances shall depend on the frequent degree of you carrying out these works. If you want to reduce the contact with these chemical substances, please work in the place with ventilation and you shall use the appliances with safety certificates (such as the dust mask designed with tiny dust filter). Notice the power voltage: in power connection, you must confirm that if the power voltage is the same to the voltage marked in the tool’s data plate. If the power voltage is higher than the appropriate voltage, the accidents will be resulted to the operators, and at the same time, the tool will be destroyed. Therefore, if the power voltage has not been confirmed, then you shall never plug in arbitrarily. On the contrary, when the power voltage is lower than the required voltage, the motor will be damaged.
Symbols used in the manual
Following symbols are used in the operation manual, please remember their meanings. Correct interpretation of the symbols will allow correct and safe use of the power tool.
| Symbol | Meaning |
![]() | Serial number sticker: CT … – model; |
![]() | Read all safety regulations and instructions. |
![]() | Wear safety goggles. |
![]() | Wear ear protectors. |
![]() | Wear a dust mask. |
![]() | Disconnect the power tool from the mains before installation or adjustment. |
![]() | Movement direction. |
![]() | Rotation direction. |
| Locked. | |
| Unlocked. | |
![]() | Prohibited. |
| Double insulation / protection class. | |
![]() | Attention. Important |
![]() | A sign certifying that the product complies with essential requirements of the EU directives and harmonized EU standards. |
![]() | Wear protective gloves. |
![]() | During operation, remove the accumulated dust. |
![]() | Do not dispose of the power tool in a domestic waste container. |
Power tool designation
The power tool is designed for dry grinding and processing of different materials with brushes.
Power tool components
- Ventilation slots
- On / off switch
- Screw
- Plate
- Locknut of additional handle
- Additional handle
- Protective casing
- Cover
- Spindle lock
- Reducer
- Fixing lever
- Front roller
- Wing nut
- Lock
- Rear roller
- Dust removal pipe
- Speed selector thumbwheel
- Vacuum cleaner adapter
- Dowel *
- Allen key *
- Mounting lug
- Nut
- Spindle
- Bolt
- Flange
- Brush *
- Washer
* Optional extra
Not all of the accessories illustrated or described are included as standard delivery
Installation and regulation of power tool elements
Before carrying out any works on the power tool it must be disconnected from the mains.
Do not draw up the fastening elements too tight to avoid damaging the thread.
Protective casing
Operation without protective casing 7 is strictly forbidden. Protective casing 7 should always face the operator with its closed part.
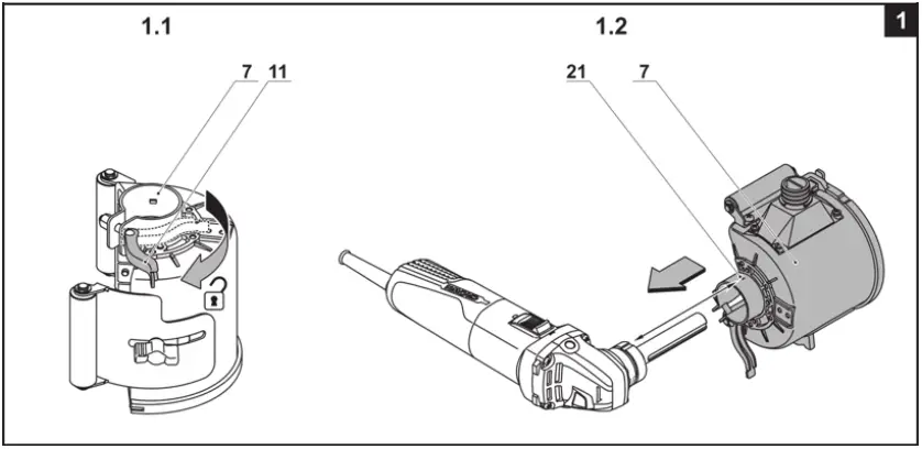
Mounting / dismounting the protective casing (see fig. 1-2)
- Move the fixing lever 11, as shown in fig. 1.1.
- Place the protective casing 7 on the spindle mouth making sure that the mounting lug 21 fits into the spindle mouth longitudinal slot (see fig. 1.2).

- Turn the protective casing 7 into the required position and pull the fixing lever 11, as shown in fig. 2.1.
- For dismounting of the protective casing 7 repeat the above stated procedures in reverse order.
- If the fixing lever 11 does not fix the protective casing 7 in place, tighten the nut 22 using a spanner (not included in the scope of supply) (see fig. 2.2).

Additional handle (see fig. 3)
Always use the additional handle 6 when operating.
- Place the plate 4 and screw in screws 3 (see fig. 3.1).
- Screw the additional handle 6 into the plate 4 as shown in figure 3.2.
- Tighten the locknut 5.
- Disassembly operations do in reverse sequence.

Mounting / dismounting of the adapter for connection to the vacuum cleaner (see fig. 4)
Mount / dismount the adapter 18, as shown in fig. 4.
Adjusting the position of the rear roller (see fig. 5)
It is recommended to adjust the position of the front roller 12 as the brush wears off.
- Loosen the wing nut 13 (see fig. 5.1).
- Move the front roller 12 up or down so that during operation the brush wire 26 become slightly deformed, and both rollers 12 and 15 touch the work surface (see fig. 5.2-5.3).
- Tighten the wing nut 13 (see fig. 5.1).

Mounting / replacement of brushes (see fig. 6-7)
After mounting accessories of any kind, make a trial run before commencing operation – start the power tool and let it work in idle mode for not less than 30 seconds. The operation of brushes with radial or axial run-out and causing increased vibration of the power tool is strictly forbidden.
Wearing protective gloves is recommended for mounting / replacing brushes.
- Press on the lock 14 and remove the cover 8, as shown in fig. 6.1.
- Press and hold the spindle lock 9, try to rotate the spindle 23 to make sure that it cannot spin (see fig. 6.2).
- Mount to the spindle 23 the washer 27. Place both dowels 19 on the spindle 23 (see fig. 7.1). Attention: it is strictly forbidden to use dowels 19 having any damages (bends, chips, etc.), dowels of different length or shape or to mount the brush 26 using only one dowel 19.
- Place the brush 26, flange 25 and screw in and tighten bolt 24 using a Allen key 20 (see fig. 7.2).
Attention: bolt 24 has a left-hand thread. - Release the spindle lock 9.
- Place the cover 8. Attention: the cover 8 must be set without skews, and the holder 14 must snap in.
- Rotate the brush 26 several times – it should rotate freely, without hitting any parts of the power tool.


Initial operating of the power tool
Always use the correct supply voltage: the power supply voltage must match the information quoted on the power tool identification plate.
Switching the power tool on / off
Switching on:
Press the back part of on / off switch 2 and while holding it in this position, move on / off switch 2 forward. Press the front part of on / off switch 2 to fix it in pressed position.
Switching off:
Push the back part of on / off switch 2.
Dust suction during the power tool operation
Dust collection decreases dust concentration in the air and prevents build up of dust at the work station.
While operating the power tool, always use a vacuum cleaner suitable for collecting process generated dust. A special adapter is used to join the vacuum cleaner to adaptor 18.
Design features of the power tool
Restart protection
Restart protection – prevents the power tool from automatically starting up after a power cut. After a power cut, the power tool must be actively turned off before it can be started again.
Soft start
Soft start (limiting system of starting current) enables smooth start of power tools – the spindle is being run up gradually with no jerks and kickbacks; no jump-like load is imposed on the motor upon switching.
Rotation stabilizer
Rotation stabilizer (on-load stabilization of rotation) maintains set rotation rate irrespective of press force on the surface being treatment – the uniform rotation rate of the spindle ensures the best quality of treatment.
Speed selector thumbwheel
Using speed selector thumbwheel 17, you may select the required spindle speed (also during operation).
The required speed is dependent on the material and can be determined with practical trials.
When operating your power tool at a low speed for a long time, it has to be cooled down for 3 minutes. To do it, set a maximum speed and leave your power tool to run idle.
Recommendations on the power tool operation
Brush selection
Choose the type of a brush (wire, nylon, fibre, abrasive and other brushes) which is the most suitable for the work to be carried out.
The intended use of the brush is stated on a package, you can also consult a seller.
General recommendations
- Switch on the power tool and allow the engine to reach full speed, and only after that slowly move the brush 26 to the workpiece being processed.
- Do not apply excessive pressure on the power tool, it will not provide better results but will cause the engine to overload and the brush 26 to wear off faster.
- Move the power tool at constant speed, with moderate feed, without skewing, oscillatory and jerking movements.
- It is recommended to perform a trial run on a spare workpiece to find the best speed for the material being processed.
- Adjust the position of the front roller 12 as the brush 26 wears off, as described above.
Power tool maintenance / preventive measures
Before carrying out any works on the power tool it must be disconnected from the mains.
Cleaning of the power tool
An indispensable condition for a safe long-term exploitation of the power tool is to keep it clean. During the long treatment of metal, current-conducting dust can be accumulated inside the power tool. Regularly flush the power tool with compressed air thought the ventilation slots 1.
When processing resinous woods, sawdust and grain can stick to power tool components. During these works it is necessary to:
- Check cleanliness of the internal surface of the protective casing 7.
- Keep rollers 12 and 15 clean – their surface must be clean and they must rotate freely.
- Check the orifice in the dust removal pipe 16 for obstructions.
- Check ventilation slots 1 (especially on the lower side of the power tool) for obstructions.
If the above stated components are found to be clogged, clean them.
After-sales service and application service
Our after-sales service responds to your questions concerning maintenance and repair of your product as well as spare parts. Information about service centers, parts diagrams and information about spare parts can also be found under: www.crown-tools.com.
Transportation of the power tools
- Categorically not to drop any mechanical impact on the packaging during transport.
- When unloading / loading is not allowed to use any kind of technology that works on the principle of clamping packaging.
Environmental protection
Recycle raw materials instead of disposing as waste.
Power tool, accessories and packaging should be sorted for environment-friendly recycling. The plastic components are labelled for categorized recycling.
These instructions are printed on recycled paper manufactured without chlorine.
Merit Link International AG
P.O. Box 641, CH-6855 Stabio
Switzerland




































