INLIGHT PEDRO Round 1-Light Spotlight Black Chrome

User Instructions
Thank you for selecting this product. It has been thoughtfully designed and carefully manufactured to ensure a high level of reliability and performance. We strongly recommend that spotlights are installed by a qualified electrician. If, however, you decide to carry out your own installation, please read through these instructions carefully before commencing work, and retain them for future reference. Please note, the important safeguards and instructions appearing in this leaflet are not meant to cover all possible conditions and situations that may occur. It must be understood that common sense, caution, and care are factors that cannot be built into any product and must be supplied by the person installing and caring for the fitting.
Changes to Building Regulations
As of 1 January 2005, changes to the Building Regulations affect domestic electrical installations in England and Wales. You don’t need to be a qualified electrician to make changes to your home’s electrical system, but the work must be done in accordance with the standards in the Regulations. You do not need to notify your Local Authority if you do minor electrical work such as:-
- replacing or repairing a socket, light or cable in any room
- adding extra spurs, sockets or lights to an existing circuit (except in a kitchen, bathroom or outdoors)
However, the work must be done to the standards in the Wiring Regulations and you should consider having the work checked by a competent electrician to make sure it is safe. Before you start other electrical work such as:-
- adding new circuits to your existing installation
- any work (other than repairs/replacements) in a room where there is water (eg. kitchen, bathroom, etc.)
- any work (other than repairs/replacements) outdoors (eg. installing garden lighting or sockets, etc.)
You must notify your Local Authority Building Control Department, which has the responsibility for ensuring the work is inspected and tested. Where you have any work done by an electrician who is a member of a competent person self-certification scheme, the electrician will be able to certify the work complies with the Regulations and you do not need to notify your Local Authority. We recommend that you make yourself aware of the Regulations before you undertake any work and if you require any clarification you should contact your Local Authority Building Control Department.
Important Safety Information
All ceiling fittings should be connected via a 5 amp fused circuit and must be installed in accordance with current applicable building and electrical installation regulations.
Before installation and servicing, disconnect the electrical supply at the mains. Carefully observe all instructions or warnings that are labelled on, or supplied with, your product. Unless otherwise stated, products are suitable for normal indoor use only and should not be used where water or high humidity may affect them. If in any doubt, consult a qualified electrician.
General Information
Do not mount ceiling/wall fittings onto damp surfaces such as newly painted or plastered areas as this may cause discoloration of the finish.
Tools that may be required
- Drill
- Cross Head Screwdriver
- Small Electrical Slotted Screwdriver
- Insulation Tape
Fixing instructions for ceiling fittings
All ceiling fittings and wall lights must be connected to the supply earth. If your lighting circuit does not have an earth, ask a qualified electrician to provide an earth facility. Make sure that there is a joist or other solid mounting at the point of fixing. This is necessary to take the weight of the fitting.
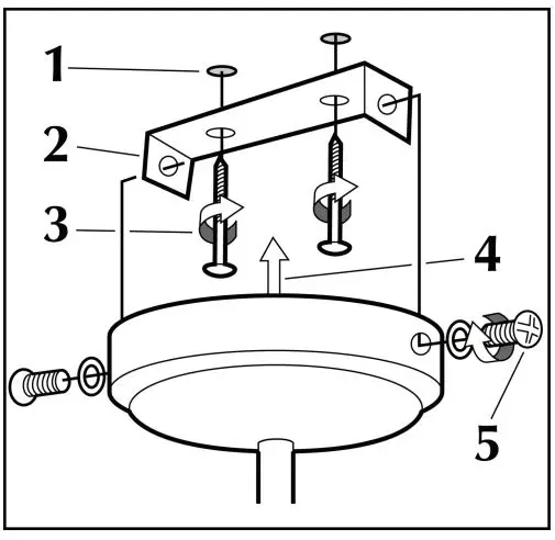
Ceiling cup with strap…
- Taking care not to damage any house wiring, detach the mounting strap from the fitting and affix to the ceiling using the screws supplied. These screws should penetrate the joist by at least 2cm. Using the connector block supplied, connect the wires as shown on the diagram opposite. Check that you have correctly identified the house wires, that all connections are tight and that no loose strands have been left out of the connection blocks.
- Offer the ceiling cup up to the mounting strap and secure in place using the screws/washers.

Wiring ceiling fittings
For Earthed items (Class 1): These are marked with the symbol

The IEE Wiring Regulations (BS 7671) have changed the colors in the cable used for fixed wiring for all new electrical installations. The old and new Colours are listed below for reference: LIVE – Red (old) Brown (new) SWITCHED LIVE – Red, or Black with Red sleeve (old) Brown, or Blue with Brown sleeve (new) NEUTRAL – Black (old) Blue (new) EARTH – Bare, with Green/Yellow sleeve (no change
Selecting the correct lightbulb
- Maximum wattage – 35 Watts. Lightbulb shape – reflector.
- Lightbulb cap shape – GU10.
- Self-shielded – identified by this symbol
Do not exceed the maximum wattage or use a different shape of a lightbulb. This may cause your light fitting to overheat. Always allow the fitting to cool down before re positioning the Lamp heads or changing the bulbs.



















