Knightsbridge CSPT1BC Brushed Chrome GU10 Single Spotlight

GENERAL INSTRUCTIONS
These instructions should be read carefully and retained after installation by the end user for future reference and maintenance. These instructions should be used to aid installation of the following products:
CSPT1BC / CSPT1BK / CSPT1W
SAFETY
- This product must be installed in accordance with the latest edition of the IEE Wiring Regulations (BS7671) and current Building Regulations. If in any doubt, consult a qualified electrician
- Please isolate mains prior to installation or maintenance
- Please note the IP (Ingress Protection) rating of this product when deciding the location for installation
- This product is for indoor use only
- This product is Class I and must be earthed
- This product is IP20 rated
INSTALLATION
- Provide power to the required point of installation
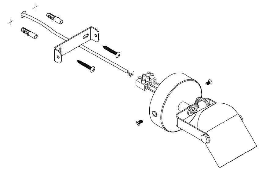
- Remove the bracket from the base of the luminaire by removing the two screws on the side of the base (see Fig. 1)
- Using the bracket as a template, mark the location for, and drill the fixing holes ensuring not to infringe with any gas/water pipes or electrical cables
- Fix the base to a suitable solid surface using the screws provided (see Fig. 1)

- Connect the luminaire to the mains supply ensuring the correct polarity is observed: L – Live (brown), E – Earth (green/yellow), N – Neutral (blue)
- Reattach the luminaire to the bracket
- Insert a suitable GU10 lamp
- Switch on and check for correct operation
GENERAL
Clean with a soft dry cloth only, do not use aggressive cleaning products or solvents which may damage the product. This product is dimmable dependent on lamp type. This product should be recycled in the correct manner when it reaches the end of its life. Check local authorities for where facilities exist.
WARRANTY
This product has a warranty of 2 years from date of purchase. Failure to install this product in accordance with the current edition of the IEE Wiring Regulations (BS7671), improper use, or removal of the batch code will invalidate the warranty. If this product should fail within its warranty period, it should be returned to the place of purchase for a free of charge replacement. ML Accessories does not accept responsibility for any installation costs associated with the replacement product. Your statutory rights are not affected. ML Accessories reserve the right to alter product specification without prior notice.
Supplied By:
(UK) Manufacturer
ML Accessories Ltd, Unit E Chiltern Park, Boscombe Road, Dunstable LU5 4LT, www.mlaccessories.co.uk
(EU) Authorised Representative
nnuks Holding GmbH, Niederkasseler Lohweg 18, 40547 Düsseldorf, Germany,
Email: [email protected]



















