linovum TENJO Ceiling Spotlight Spot Series

Linovum Ceiling Light Spot Series TENJO – Product Information
The Linovum Ceiling Light Spot Series TENJO is a versatile lighting solution suitable for installation on ceilings and walls. The product comes in three models – TENJO 1, TENJO 2, and TENJO 3. The assembly steps for all models are identical, with only the number of screws and light heads differing. The product is designed to be mounted on a stable, tilt-resistant, and level surface.
It is essential to disconnect the connecting cable from the power supply before starting the assembly process. Failure to observe the assembly instructions can lead to a short circuit or electric shock and pose a danger to life.
The product components, particularly the lamps/light source, become hot during operation, especially in the case of halogen lamps/light source. Therefore, it is crucial to maintain a sufficient distance (0.5 m) from easily flammable objects such as curtains and drapes and flammable materials.
Linovum Ceiling Light Spot Series TENJO – Product Usage Instructions
Follow the below instructions to assemble and operate the Linovum Ceiling Light Spot Series TENJO:
Assembly Instructions for Models TENJO 1, TENJO 2, and TENJO 3
- Disconnect the connecting cable from the power supply.
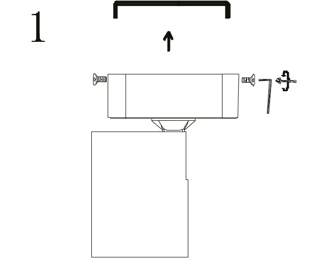
- Remove the screws (enclosure & ceiling bracket). Refer to Fig. 1 in the user manual for guidance.
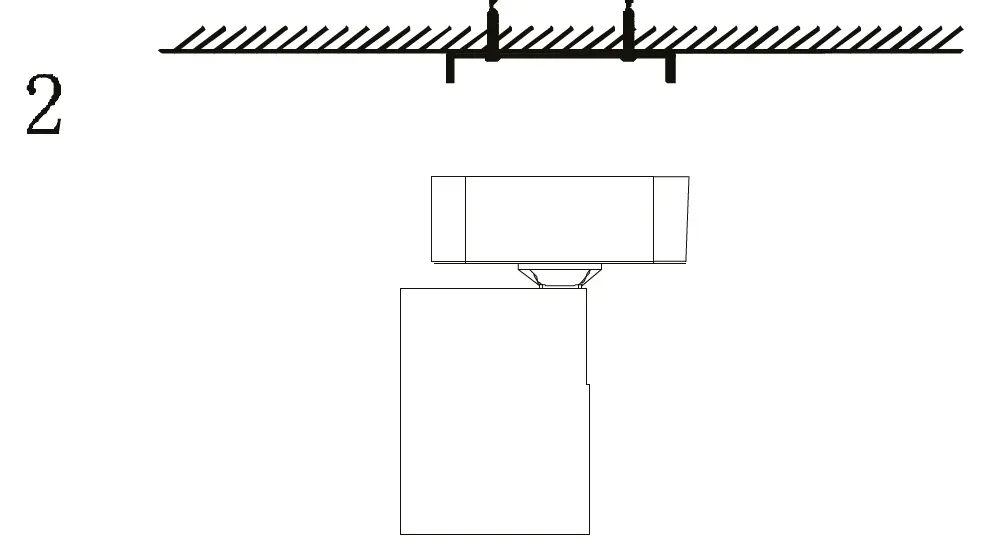
- Use the metal bracket as a template for drill holes in the wall or ceiling and insert the dowels.
- Secure the bracket (rail) with screws at the designated position. Refer to Fig. 2 in the user manual for guidance.
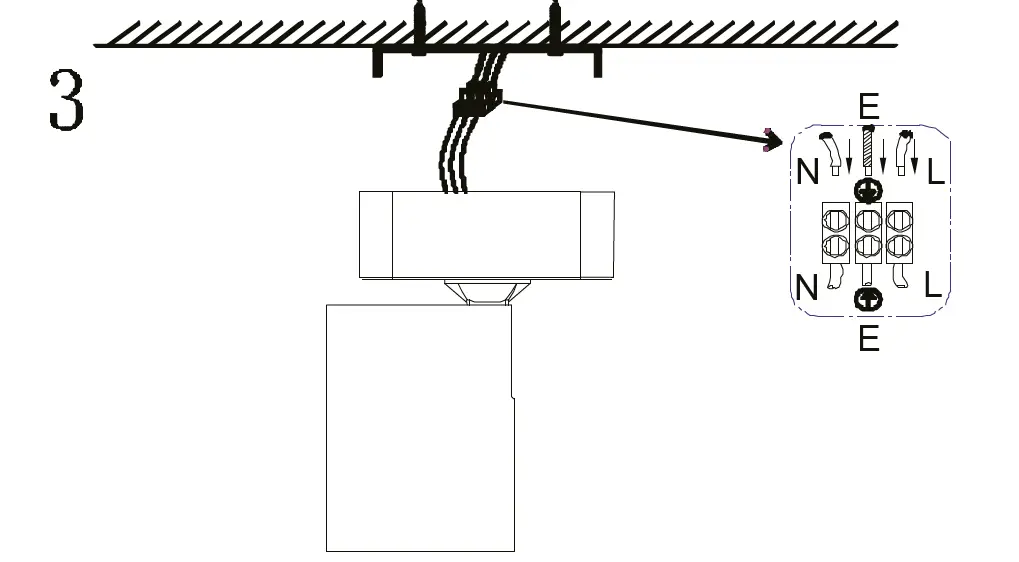
- Connect the connecting cable to the light (terminals L, N & protective earth). Refer to Fig. 3 in the user manual for guidance.
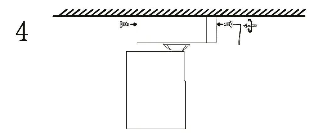
- Place the enclosure on the bracket and secure it to the side with appropriate screws. Refer to Fig. 4 in the user manual for guidance.
Ensure that the product is not covered under any circumstances, especially not with insulating material, as it poses a fire hazard. Once assembled, turn on the power supply to operate the product.
If you face any issues during the installation process or have any questions about the product’s usage, please refer to the user manual or contact our customer support team for assistance.
Assembly/operating instructions for linovum ceiling light spot series TENJO
Intended use
This product is for lighting purposes only and: -may only be installed indoors -only be operated in dry rooms, i.e. not in damp rooms or rooms where there is a risk of dirt and in the area of high humidity -must not be exposed to strong mechanical loads or heavy soiling – may not be operated after damp or dirty storage until after a condition check -may not be changed or modified, otherwise the operating permit and conformity will expire with immediate effect! It is not allowed to remove the type plate.
If the aforementioned points are not observed, a short circuit or electric shock may occur! There is danger to life!
General safety instructions
- The complete installation may only be carried out by an authorized electrician who is familiar with the applicable guidelines. Hereinafter referred to as „qualified electrician“.
- For safe handling of the product, the user must have read and understood the installation/operating instructions completely before using the device for the first time.
- The product may only be used if it is alright. If the device or parts of it are defective, it must be repaired by a qualified electrician.
- Only use lamps/light sources approved by the manufacturer. The max. lamp wattage in watts is not allowed be exceeded.
- This product is not a toy and is not allowed be stored or used within the reach of children.
- Safe operation of the product is only guaranteed if these instructions are followed. Therefore, keep these assembly/operating instructions. linovum GmbH accepts no liability if the instructions given here are not followed or the lamp is subjected to improper use.
Assembly & configuration
- Caution: The connecting cable must be disconnected from the power supply before starting work (switch off the main switch/fuse)! Only use parts which are supplied with the product or which are clearly marked as equipment! Otherwise the product may not be sufficiently safe!
- The cable routing shown in the illustrations is for simplified purposes only. They in no way represent a recommendation for connection! The connection may only be carried out by a qualified electrician.
- When drilling, pay attention to cables and gas and water lines. Always route the cable so that it does not touch the light.
Assembly location
The product is suitable for installation on ceilings and walls. The product may only be mounted on a stable, tilt-resistant and level surface. Do not cover the product under any circumstances, especially not with insulating material! Fire hazard!
Components of the luminaire and especially the lamps/light source become hot during operation. Especially in the case of halogen lamps/light source. Keep a sufficient distance (0.5 m) from easily flammable objects (e.g. curtains, drapes, etc.) and flammable materials (ignition temperature<250°C)!
Operation, bulb replacement, faults & disorders
- Caution: Disconnect the connecting cable from the power supply before replacing lamps/light sources! Halogen lamps/light sources become very hot during operation – risk of burns! Therefore, do not touch the protective glass or the reflector! Allow to cool down before replacing! Do not cover! There is a risk of fire when covering (e.g. with towel)! Lamps with protective cover may only be operated with complete protective cover!
- Never look directly into the light source!
What to do in case of error?
In case of an error, the device must be switched off immediately. The product may only be operated if it works correctly. The device may only be put back into operation after it has been checked by a qualified electrician! This is the case if:
- there is visible damage, 2. the product is not working corrctly, 3. there is smoke, steam, or audible crackling noises, 4. overheating can be detected.
Caution: There is a danger to life – repairs to the product or work on parts carrying mains voltage may only be carried out by qualified electricians.
Avoidance of disturbances and fire hazards:
It is not allowed to cover the product under any circumstances. Air circulation must be ensured. Nothing may be attached or hung on the product, especially no decoration.
Cleaning & care instructions
The product may only be wiped dry or carefully with a slightly damp and lint-free cloth. The product is not allowed to be removed for this purpose. Do not use abrasive or sharp objects or aggressive cleaning agents. Do not use solvents.
Assembly instructions models TENJO 1, TENJO2, TENJO 3
TENJO 1
Note: The assembly steps are identical for all models. Only the number of screws and the number of light heads differ.
- Disconnect the connecting cable from the power supply!
- Remove the screws (enclosure & ceiling bracket). Fig. 1

TENJO 2
- Use the metal bracket as a template for the drill holes. Drill suitable holes in the wall or ceiling and insert the dowels.
- Secure the bracket (rail) with the screws at the designated position. Fig. 2

TENJO 3
- Connect the connecting cable to the light (terminals L, N & protective earth). Fig. 3

- Place the enclosure on the bracket and secure it to the side with the appropriate screws. Fig. 4

- Unscrew the ring on the light head. Fig. 5

Can only be used indoors
- Insert & turn the GU10 light source into the socket and tighten the previously removed light head ring. Fig. 5
- Repeat steps 7 and 8 according to the respective number of light heads.
Notes / explanations & legend
The following applies to all models
-
Disconnect the device from the mains power before starting any work
Protection class I
Installation only by qualified electrician
Distance to illuminated objects min. 0.5m
Vers. 11/2022
Notes on use indoors & outdoors
- Protection type IP2X: Use only indoors and dry, i.e. do not use in damp or dirty rooms and in areas of high humidity.
- Protection type IP4X & IP6X: Can be used indoors and outdoors.
- Web: www.linovum.de
- Satisfied with your product? Then we look forward to your product review in our online store, on Amazon or eBay!
Disposal instructions
Make sure to dispose packaging in accordance with the applicable guidelines of your local authority. Devices marked with
the crossed-out waste garbage do not belong in the household waste! You are obliged to hand in these devices at one of the free collection points in your municipality. You can obtain more information from your local authority, the relevant town hall or a local or regional waste disposal company. Keep packaging material and small parts away from children and animals. Danger of suffocation!

Type: Ceiling light / wall light
- Model: TENJO 1 / TENJO 1 (3W) / TENJO 1 (6W)
- TENJO 2 / TENJO 2 (3W) / TENJO 2 (6W)
- TENJO 3 / TENJO 3 (3W) / TENJO 3 (6W)
- Type: Ceiling light / wall light
- Voltage: 220 – 240 V / 50-60Hz
- Protection type: IP20
- Socket: TENJO 1: 1 x GU10
- TENJO 2: 2 x GU10
- TENJO 3: 3 x GU10
- Material: Aluminium
- Operating temperature: -5°C – +40°C
- Pivotable: 90°
- Max. power: TENJO 1: 1 x 15 W
- TENJO 2: 2 x 15 W
- TENJO 3: 3 x 15W
- Protection class: I
- Measurements head: Ø 60 x 80 mm
- Rotatable: 350°
- Measurements socket: TENJO 1: Ø 60 mm
- Measurements head: Ø 60 x 80 mm
- Rotatable: 350°
- Pivotable: 90°
- TENJO 2: 250 x 60 x 25 mm
- TENJO 3: 450 x 60 x 25 mm
- Colour: White / black
Technical data – model 3W
- Article: Model 3W
- Light colour : Warm white
- Technical data – model 6 W
- Operating voltage: 230V AC 50/60 Hz
- Power consumption: 3,0 Watt
- Lifetime: 20.000 hours
- Dimmable: No
This product contains a light source / light sources of the energy efficiency class E
Technical data – model 6 W
- Article: Model 6W
- colour: Warm white
- Operating voltage: 230V AC 50/60 Hz
- Power consumption: 6,0 Watt
- Lifetime: 20.000 hours
- Dimmable: No
This product contains a light source / light sources of the energy efficiency class F
linovum GmbH – Am Krozinger Weg 4, 79189 Bad Krozingen, Germany
E-Mail: [email protected] – Phone: 07633 – 9393-841 – www.linovum.de






Disconnect the device from the mains power before starting any work
Protection class I
Installation only by qualified electrician
Distance to illuminated objects min. 0.5m
Vers. 11/2022

















