Elvita E113339 CEILING SPOTLIGHT User Manual
Safety Instructions
- For indoor use only.
- Do not install in bathrooms, wash rooms or other similar wet rooms.
- Warning! Always disconnect the power to the circuit before electrical installation, connection and service.
- The electrical installation must comply with current safety regulations to prevent life-threatening accidents. The installation of this product should only be performed by someone with a good knowledge of electrical wiring. Contact a qualified electrician if in any doubt.
- The product is intended to be connected to 230 V~, 50 Hz.
- GU10 Max. 35W bulb should be used in this luminaire.
- Allow the lamp to cool down before changing bulbs. Halogen bulbs can get very hot.
For household use only. To be installed in a ceiling, out of reach.
Use only with self-shield tungsten halogen lamp (or LED).
The minimum distance from lighted objects: 0.5m.- Only use a dry cloth to wipe the light clean when needed.
Never use liquids or abrasive detergents. - This product must be installed out of reach at ceiling height.
INSTALLATION
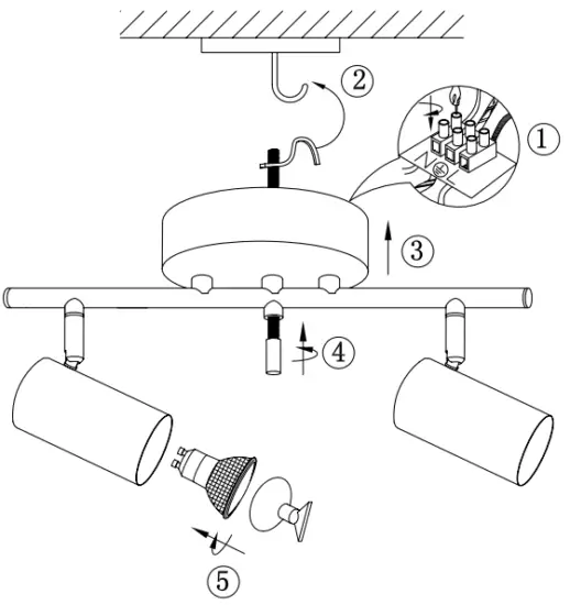
Install the light in the order 1-5 as below picture is showing.
The wires should be connected to the terminal block according to the diagram.
Note: The light needs to be earthed. If in any doubt about proper installation, contact a qualified electrician.
- L Brown or black (Live)
- Green & Yellow (Earth)
- N Blue (Neutral) to N

DISPOSAL
Do not dispose of electrical appliances as unsorted municipal waste, use separate collection facilities. Contact your local government for information regarding the collection systems available. If electrical appliances are disposed of in landfills or dumps, hazardous substances can leak into the groundwater and get into the food chain, damaging your health and well-being.
WARRANTY
Guarantee of quality for the consumer (does not include wear parts).
ELON GROUP. +46 (0) 10-220 40 00.




















