beko 7724086710 Built-in oven

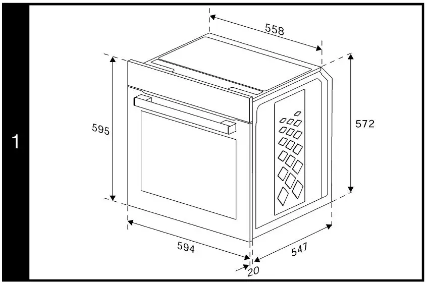
DIMENSIONS

Safety instructions
- Product must be installed by a qualified person in accordance with the regulations in force. The manufacturer shall not be held responsible for damages arising from procedures carried out by unauthorized persons which may also void the warranty.
- Preparation of location and electrical installation for the product is under customer’s responsibility.
- The product must be installed in accordance with all local electrical regulations.
- Before installing the product, remove all the materials and documents in it and visually check if the product has any defects on it. If so, do not have it installed.
- The product is heavy, carry the product with at least two people.
- The door and/or handle must not be used for lifting or moving the appliance. Use the lifting spaces on both sides of the product. faJways wear protective gloves during transport and installation.
- Disconnect electrical connections in the area to be installed before installation.
- The surfaces of the furniture that the oven is to be installed in must be heat-resistant (100 °C minimum).
- Make sure the furniture is fixed before installing the product.
- Do not install heat insulation strips inside the interior of the furniture that the oven is to be installed in.
- The appliance must not be installed behind a decorative door in order to avoid overheating.
- The dimensions given in the installation diagrams are in mm.
Installing the product
If the product will be placed under the counter:

- In order to provide the necessary ventilation in the back of the kitchen furniture, openings should be created in the dimensions shown in figure 2.
- The electrical connection must be in the area A in figure 2 or outside the installation site.
- If the product is to be placed under a hob, follow the dimensions given in the hob installation manual.
If the product will be placed in the tall cabinet:

- In the back compartment of the kitchen furniture, openings should be created in the dimensions shown in figure 3 in order to provide the necessary ventilation. This opening should be along the height of the cabinet.
- If there is a back panel of the tall cabinet where the product will be placed, it must be removed.
- The electrical connection must be in the A area in figure 3 or outside the installation area.
If the product will be placed to corner:
Attention should be paid to the dimensions given in order to make the corner installation in the figure 4a and 4b.

Connecting the appliance to the electricity supply
- Only connect the product to a grounded outlet/line with the voltage and protection as specified in the “Technical specifications”. Have the grounding installation made by a qualified electrician while using the product with or without
a transformer. Our company shall not be liable for any problems arising due to the product not being earthed in accordance with the local regulations. - Before starting any work on the electrical installation, disconnect the product from the mains supply. There is the risk of electric shock!
- The product must be connected to the mains supply only by an authorised and qualified person. The product’s warranty period starts only after correct installation. Manufacturer shall not be held responsible for damages arising from procedures carried out by unauthorised persons.
- The appliance must be installed so that it can be completely disconnected from the mains supply. The separation must be provided by a switch built into the fixed electrical installation, according to construction regulations.
- Rear surface of the oven gets hot when it is in use. Make sure that the electrical connection does not come into contact with the rear surface otherwise, connections can get damaged.
- The connection cable must not be clamped,bent or trapped or come into contact with hot parts of the oven. You may cause the oven to short circuit and catch fire as a result of the cable melting. If the power cord is damaged, it must be replaced by a qualified electrician. Otherwise there is a risk of electric shock, short circuit or fire!
- The plug of the power cord should be easily accessible after installation (but not over the hobs).
- When wiring, you must comply with national / local electrical regulations and use socket outlet / line and plug suitable for the Oven. If the power limits of the product exceed the current carrying capacity of the plug and socket outlet / line, you must connect the product directly to the fixed electrical installation without using the plug and socket outlet / line.
- Make sure that fuse rating is compatible with the product.
- Power cable of your product must comply with the values in “Technical specifications” table.
- If the product will be connected directly to the supply power: If it is not possible to disconnect all poles in the supply power, a disconnection unit with at least 3 mm contact clearance {fuses, line safety switches, contactors) must be connected and all the poles of this disconnection unit must be adjacent to (not above) the product in accordance with IEE directives. Failure to obey this instruction may cause operational problems and invalidate the product warranty.
- Additional protection by a residual current circuit breaker is recommended.
If the product is produced with cable and plug
Your product is produced with mains cable and plug. Connect the plug of your product to a grounded outlet and make the electrical connection.
If the product is produced with cable and without plug
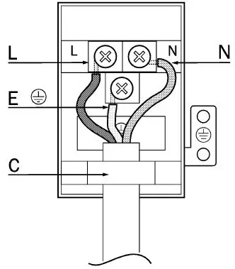
- Connect the cord of product to supply power as identified below:
- Brown/black cable = L {Phase)
- Blue cable = N (Neutral)
- Green/yellow cable = (E) (Ground)
If the product is produced without cable and plug
A power cable that it is defined in the technical table home must be connected to product by following the instructions. Power cable must not be longer than 2 m because of safety reasons.
- Open the terminal block cover with a screwdriver.
- Insert the power cable through the cable clamp below the terminal and secure it to the main body with the integrated screw on cable clamping component.
- Connect the cables according to the supplied diagram.

- N = Neutral (Blue)
- L = Live-Phase (Brown/black)
- E = Ground @ (Green/yellow)
- C =Cable clamp
After completing the wire connections, close the terminal block cover. Connect the power cable to supply power by routing it so that it will not contact the product and get squeezed between the product and the wall.
Prevention against possible fire risk!;
- Ensure all electrical connections are secure and tight to prevent risk of arcing.
- Do not use damaged cables or extension cables.
- Ensure liquid or moisture is not accessible to the electrical connection point.
Placing and fixing the product

- Place the appliance on the furniture, centered with two or more people.
- Fix the product to the furniture using the screws provided. (Figure 5)
- At the end of the installation, check that the screws are properly tightened and that the product is firmly fixed. If the product is not installed in accordance with the instructions and the screws are not properly tightened, there is a risk of tipping during use.
Final check
- After installation, turn on the mains supply.
- Read the user manual for the first use of the product.
- Check product functions.
Removing the product
- Disconnect the product from the mains supply.
- Unscrew the fastening screws.
Lift the product lightly with two or more people and take it out completely.
















