Installation Instructions

385.4400.83/R.AE/14.04.2021






Safety instructions
- The product must be installed by a qualified person in accordance with the regulations in force. The manufacturer shall not be held responsible for damages arising from procedures carried out by unauthorized persons which may also void the warranty.
- Preparation of location and electrical installation for the product is under the customer’s responsibility.
- The product must be installed in accordance with all local electrical regulations.
- Before installing the product, remove all the materials and documents in it and visually check if the product has any defects on it. If so, do not have it installed.
- The product is heavy, carry the product with at least two people.
- The door and/or handle must not be used for lifting or moving the appliance. Use the lifting spaces on both sides of the product (figure 1). Always wear protective gloves during transport and installation.
- Disconnect electrical connections in the area to be installed before installation.
- The surfaces of the furniture that the oven is to be installed in must be heat-resistant (100 °C minimum).
- Make sure the furniture is fixed before installing the product.
- Do not install heat insulation strips inside the interior of the furniture that the oven is to be installed.
- The appliance must not be installed behind a decorative door in order to avoid overheating.
- The dimensions given in the installation diagrams are in mm.
Installing the product
If the product will be placed under the counter: (Figure 2)
- In order to provide the necessary ventilation in the back of the kitchen furniture, openings should be created in the dimensions shown in figure 2.
- The electrical connection must be in area A in figure 2 or outside the installation site.
- If the product is to be placed under a hob, follow the dimensions given in the hob installation manual.
If the product will be placed on a tall cabinet: (Figure 3)
- n the back compartment of the kitchen furniture, openings should be created in the dimensions shown in figure 3 in order to provide the necessary ventilation. This opening should be along with the height of the cabinet.
- If there is a back panel of the tall cabinet where the product will be placed, it must be removed.
- The electrical connection must be in the A area in figure 3 or outside the installation area.
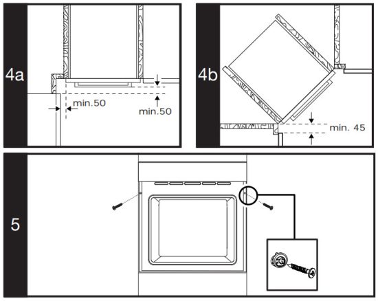
If the product will be placed in the corner: (Figure 4a-4b)
- Attention should be paid to the dimensions given in order to make the corner installation in Figures 4a and 4b.
Connecting the appliance to the electricity supply
- Only connect the product to a grounded outlet/line with the voltage and protection as specified in the “Technical specifications”. Has the grounding installation been made by a qualified electrician while using the product with or without a transformer? Our company shall not be liable for any problems arising due to the product not being earthed in accordance with the local regulations.
- Before starting any work on the electrical installation, disconnect the product from the main supply. There is the risk of electric shock!
- The product must be connected to the main supply only by an authorized and qualified person. The product’s warranty period starts only after correct installation. The manufacturer shall not be held responsible for damages arising from procedures carried out by unauthorized persons.
- The appliance must be installed so that it can be completely disconnected from the main supply. The separation must be provided by a switch built into the fixed electrical installation, according to construction regulations.
- The rear surface of the oven gets hot when it is in use. Make sure that the electrical connection does not come into contact with the rear surface otherwise, connections can get damaged.
- The connection cable must not be clamped, bent, trapped, or come into contact with hot parts of the oven. You may cause the oven to short circuit and catch fire as a result of the cable melting. If the power cord is damaged, it must be replaced by a qualified electrician. Otherwise, there is a risk of electric shock, short circuit, or fire!
- The plug of the power cord should be easily accessible after installation (but not over the hobs).
- When wiring, you must comply with national/local electrical regulations and use a socket outlet/line and plug suitable for the Oven. If the power limits of the product exceed the current carrying capacity of the plug and socket-outlet/line, you must connect the product directly to the fixed electrical installation without using the plug
and socket-outlet / line. - Make sure that the fuse rating is compatible with the product.
- The connection must comply with national regulations.
- The main supply data must correspond to the data specified on the type label of the product. Open the front door to see the type label.
- The power cable of your product must comply with the values in the “Technical specifications” table.
- If the product will be connected directly to the supply power: If it is not possible to disconnect all poles in the supply power, a disconnection unit with at least 3 mm contact clearance (fuses, line safety switches, contactors) must be connected and all the poles of this disconnection unit must be adjacent to (not above) the product in accordance with IEE directives. Failure to obey this instruction may cause operational problems and invalidate the product warranty.
- Additional protection by a residual current circuit breaker is recommended.
If the product is produced with cable and plug - Your product is produced with mains cable and plug. Connect the plug of your product to a grounded outlet and make the electrical connection.
If the product is produced with cable and without a plug
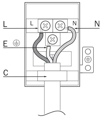
- Connect the cord of the product to supply power as identified below:
– Brown/black cable = L (Phase)
– Blue cable = N (Neutral)
– Green/yellow cable = (E)
(Ground)
If the product is produced without cable and plug
A power cable that is defined in the technical table home must be connected to the product by following the instructions. Power the cable must not be longer than 2 m because of safety reasons.
- Open the terminal block cover with a screwdriver.
- Insert the power cable through the cable clamp below the terminal and secure it to the main body with the integrated screw-on cable clamping component.
- Connect the cables according to the supplied diagram.

– N = Neutral (Blue)
– L = Live-Phase (Brown/black)
– E = Ground
(Green/yellow)
– C =Cable clamp
- After completing the wire connections, close the terminal block cover.
- Connect the power cable to supply power by routing it so that it will not contact the product and get squeezed between the product and the wall.
Prevention against possible fire risk!;
- Ensure all electrical connections are secure and tight to prevent the risk of arcing.
- Do not use damaged cables or extension cables.
- Ensure liquid or moisture is not accessible to the electrical connection point.
Placing and fixing the product (Figure 5)
- Place the appliance on the furniture, centered with two or more people.
- Fix the product to the furniture using the screws provided. (Figure 5)
- At the end of the installation, check that the screws are properly tightened and that the product is firmly fixed. If the product is not installed in accordance with the instructions and the screws are not properly tightened, there is a risk of tipping during use.
Final check
- After installation, turn on the mains supply.
- Read the user manual for the first use of the product.
- Check product functions.
Removing the product
- Disconnect the product from the main supply.
- Unscrew the fastening screws.
Lift the product lightly with two or more people and take it out completely.

AR/HE
385.4400.83/R.AE/14.04.2021















