BBIM14400XSWE Multifunction Oven
Instruction Manual
BBIM14400XSWE Multifunction Oven
![]()




Safety instructions
- Product must be installed by a qualified person in accordance with the regulations in force. The manufacturer shall not be held responstle for damages arising from procedures carried out by unauthorized persons which may also void the warranty.
- Preparation of location and electrical installation for the product is under customer’s responsibility.
- The product must be instated in accordance with al local electrical regulations.
- Before installing the product, remove all the materials and documents in it and visually check if the product has any defects on If so, do not have it installed.
- The product is heavy, cany the product with at least two people.
- The door andror hande must not be used for lifting or moving the appliance. Use the lifting spaces on both sides of the product (figure 1). Always wear protective gloves during transport and installation.
- Disconnect electrical connections in the area to be instated before instalation.
- The surfaces of the furniture that the oven is to be installed in must be heat-resistant (103 °C minimum).
- Make sure the furniture is fixed before installing the product.
- Do not instal heat insulation strips inside the interior of the furniture that the oven is to be instated in.
- The appliance must not be instated behind a decorative door in order to avoid overheating.
- The dimensions given in the installation diagrams are in mm.
Installing the product
If the product will be placed under the counter: (Figure 2)
- In order to provide the necessary ventilation in the back of the kitchen furniture, openings should be created in the dmensions shown in figure 2.
- The electrical connection must be in the area A in figure 2 or outside the installation site.
- If the product is to be placed under a hob. follow the dimensions given in the hob installation manual.
If the product will be placed in the tall cabinet: (Figure 3)
- In the back compartment of the kitchen furriture, openings should be created in the *tensions shown in figure 3 in order to provide the necewry ventilation. This opening should be Song the height of the cabinet.
- If there is a back panel of the tall cabinet where the product will be placed, it must be removed.
- The electrical connection must be in the A area in figure 3 or outside the installation area.
If the product will be placed to corner (Figure 4a-4b)
- Attention should be paid to the dimensions given in ceder to make the corner installation in the figure 4a and 4b.
Connecting the appliance to the electricity supply
- Only connect the product to a grounded outlelAine with the voltage and protection as specified in the “Techrical specifications”. Have the grounding installation made by a qualified electrician while using the product with or without a transfonner. Ott company shall not be liable for any problems arising We to the product not being earthed in accordance with the local regulations.
- Before starting any work on the electrical installation, disconnect the product from the mains supply. There is the risk of electric shook!
- The product must be connected to the mains supply only by an authorised and qualified person. The product’s warranty period starts only after correct instalation. Manufacturer shall not be held responsible for damages arising from procedures earned out by unauthorised persons.
- The appliance must be installed so that it can be completely ciscomected from the mains supply. The separation must be provided by a switch but into the fixed electrical installation. aocorcing to construction regulations.
- Rear surface of the oven gets hot when it is in use. Make sure that the electrical connection does not come into contact with the rear surface otherwise, connections can get damaged.
- The connection cable must not be clamped,bent or trapped or come into contact with hot parts of the oven. You may cause the oven to short ciait and catch fire as a result of the cable melting. If the power cord is damaged, it must be replaced by a qualified electriaen. Otherwise there is a risk of electric shock, short circuit or fire!
- The plug of the power cord should be easiy accessible after installation (but not over the hobs).
- When wiring, you must comply with national / local electrical regulations and use socket outlet / line and plug suitable for the Oven. if the power limits of the product exceed the current carrying capacity of the plugand socket outlet / line, you must connect the product directly to the fixed electrical installation without using the plug and socket outlet / line.
- Make sure that fuse rating is compatible with the product.
- Connection must comply with national regulations.
- The mains supply data must =respond to the data specified on the type label of the product. Open the front door to see the type label.
• Power cable of your product must comply with the values n “Technical specifications” table.
• If the product will be connected directly to the supply power: If it is not possible to dsconnect al poles in the supply power, a disconnection unit %Pith at least 3 mm contact clearance (fuses. line safety switches, contactors) must be connected and all the poles of this disconnection unit must be adjacent to (not above) the product in accordance with IEE directives. Failure to obey this instruction may cause operational problems and invalidate the product warranty. - Additional protection by a residual current circuit breaks is recommended.
If the product is produced with cable and plug
- Your product is produced with mains cable and plug. Connect the plug of your product to a grounded outlet and make the electrical connection.
If the product is produced with cable and without plug - Connect the cord of product to supply power as identified below:
– Brown/black cable = L (Phase)
– Blue cable = N (Neutral)
– Green/yelow cable – (E)
(Ground)
If the product is produced without cable and plug
A power cable that it is defined in the technical table home must be connected to product by following the instructions. Power cable must not be longer than 2 m because of safety reasons.
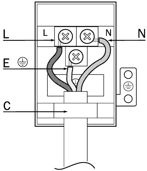
- Open the terminal block cover with a screwdriver.
- Insert the power cable through the cable clamp below the terminal and secure it to the main body with the integrated saew on cable clamping component.
- Connect the cables according to the smiled diagram.
– N = Neutral (Blue)
– L = the-Phase (Brown/black)
– E = Ground
(Green/yellow)
– C =Cable clamp - After completing the we connections. close the terminal block cover.
- Connect the power cable to supply power by routing it so that it will not contact the product and get squeezed between the product and the wall.
Prevention against possible fire risk!;
- Ensure all electrical connections are secure and tight to prevent risk of arcing.
- Do not use damaged cables or extension cables.
- Ensure liquid or moisture is not accessible to the electrical connection print.
Placing and fixing the product (Figure 5-6)
- Place the appiance on the furniture. centered with two or more people.
- If your product is equipped with a telescope rail, a sbpe of at least 0 3 degrees towards the back of the oven must be given for the telescopic rails to work properly. For this, after placing the product on the furniture, place the spirit level on the telescopic rail as shown in figure 5 and make sure that the angle of inclination towards the back of the oven is at least 0.3 degrees.
- Fix the product to the furniture using the screws provided. (Figure 6)
- At the end of the installation, check that the screws are property tightened and that the product is firmly fixed. If the product is not instated in accordance with the instructions and the screws are not property tightened. there is a risk of tipping during use
Final check
- After installation, tum on the mains supply.
- Read the user manual for the first use of the product.
- Check product functions.
Removing the product
- Disconnect the product from the mains apply
- Unscrew the fastening screws.
Lift the product lightly with two or more people and take it out completely.
AR/HE
R.AF/14.03.2022/385.4400.83
– N = Neutral (Blue)














