PINEWORLD Q106 Tuya Bluetooth Smart Door Lock
Usage Notice
- In the default setting, it can be unlocked with the original password 1234567890
any fingerprint or key. - There will be a low power alarm when the voltage is below 4.8V, it can be only unlocked around 50 times, please replace it with 4 new AA batteries in time.
- When battery power runs out, connecting a power bank with a micro USB wire through an emergency power port can unlock, but the APP network function will be a failure.
- Please don’t use any corrodent material to clean the lock surface.
- Please use a mechanical key to unlock when the fingerprint, password, and APP do not work. Make sure your keys are kept in outdoors safe places.
- Suitable door thickness: 35-55mm.
- Work temperature: -25°C~ 55’C.
Features
- The total capacity of the system is 100, the fingerprint capacity is 50, the password capacity is 50, the first two are administrators.
- Touching button, durable.
- Support volume adjustment(Mute/Low/High) and low power alarm.
- Support 6-8 passwords and 16 virtual passwords.
- Automatically open and lock door
Return or Quit
Confirm.
| Name | Parameter |
| Fingerprint Sensor | semiconductor |
| DPI | 500 |
| Identify Time | 0.35 |
| Unlock Way | Fingerprint, Password, Key and APP |
| System Capacity | 100 |
| Supply Voltage | 4.6V-6.4V |
| Low Voltage Alarm | 4.8V |
| Standby Current | <120uA |
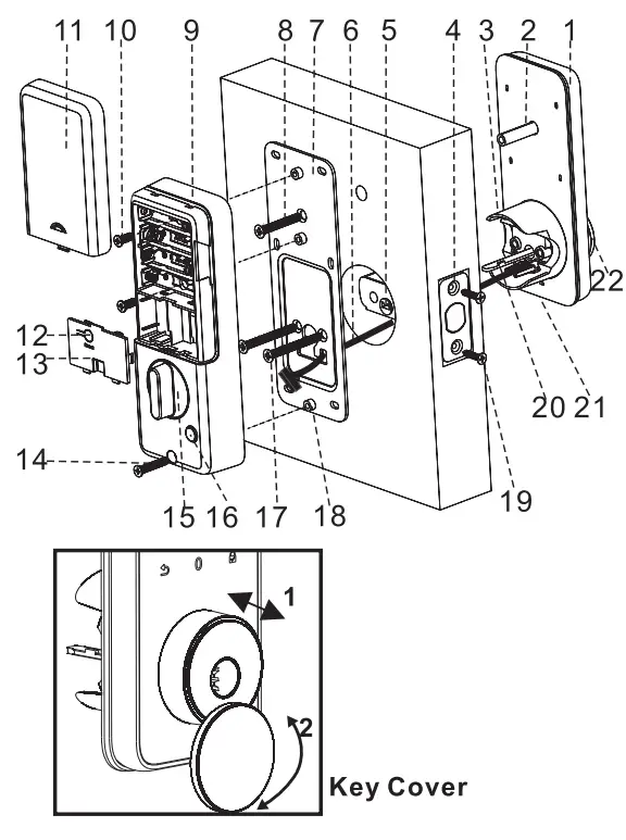
Installation Overview
- Front Panel
- Connection Column (Standby)
- Front Panel Block
- Lock Body
- Pick Jack
- Connection Wire
- Iron Plate
- Connection Column Screw(M5*35mm) (Standby)
- Back Panel
- Back Panel Screws (M4*10mm)
- Battery Cover
- Reset’ Button
- Back Cover
- Back Panel Screw (M4*25mm)
- KNOB
- Switch’ Button
- Front Panel Screws (M5 45mm or 55mm)
- Convex Stud
- Tapping Screws (M4*20mm)
- Pick
- Emergency Power Port
- Key Cover
Installation
Installation Instructions
- It is recommended professionals to install with reference installation video.
- while lnstalling and commissioning. please stand in the room all the time.
- While installing the front panel, the connection wire interface should be passed through the square steel hole of the lock body slowly to avoid the damage of the connection wire interface.
- After the installation is completed, check the password’ 123456789 fingerprint, APP, key unlock, handle twist ok or not.
- lf it can not work normally, please check if any improper installation or problem of power cord loose.
Open Hole
Please refer to the open hole drawing, and drill right holes on the door.
Notes:
- The distance between door edge and lock body center can be 60mm or 70mm.
- The diameter of the open hole can be 38-54 mm.l
- If the diameter of the door opening is less than 52mm, the front panel block shall be removed.
Install Lock Body
- According to the central position of the open hole of the door, adjust the position of the pick jack of the lock b0dy.
- First put your hand on the latch, pressing down to the bottom of the guide plate.
- Turn the lock tail clockwise.
- Stretch or compress the end of the lock body.
- Turn the Tail counter-clockwise to adjust the position of the pick jack of the lock body to 60 mm or 70 mm.
- Insert and turn the pick to test whether the lock body switch is ok or not.
- The ‘UP face UP and fit the lock body.
- Twist 2 tapping screws.

Install Lock
Install The Front Panel
- Make the connection wire go through the space below the lock body.
- Note: Do not pass through the space above the lock body to avoid interfering with the activity of the lock body.
- Adjust the pick to the horizontal direction, bump upward, insert the pick into the pick jack of the lock body.
- fix the front panel on the outdoors.
- The iron plate is fixed on the inner side of the door through the connection wire so that the pick is centered.
- Note: The convex stud face outward.
- Refer to the table below, select the corresponding front panel screws and fix it. Adjust the front panel and the iron plate so that they are upright.
- The connection wire is wound into the slot on the right.
Note: If you feel that the front lock is not fixed, you can remove the front panel and the iron plate. A round hole with a diameter of 10 mm is made on the door body from 84 mm above the center point of the door hole, Then use the standby connection column and connection column screw (M5*35mm) to reinforce the fixing.
Install The Back Panel
- Remove the back cover, pass the connection wire through the back panel, and straighten.
- Turn the KNOB to the vertical position and align the pick to the door.
- Turn the KNOB to check the latch switch is ok.
- Lock 2 back panel screws(M4*10mm) and 1 back panel screw (M4*25mm), shake the Rck front and back panel to ensure the front and Cover back panel is tight.
- Insert he connection wire interface into the back panel. The excess wire is hidden in the back cover frame. Install the back cover.
- Install 4 AA batteries and the battery cover.
Install Buckle Plate and Buckle Box anni
Calibrate The lnitial Status
- Please Stand in the room all the time when Calibrating.
- Reset Lock: Long press ‘Reset’ button for 3 seconds, restore to the factory default settings.
- Correct the Door Open Direction: When the
button is always bright, turn the KNOB to the horizontal position. - Note: If correct failure, the
button is always bright, please turn the KNOB to the horizontal position again. - Correct the Door Close Position: Close the door, and press’ 7
automatically correct the door close position.
Commissioning
- Please Stand in the room all the time when commissioning.
- “button: Short press, the bolt stretch out;
- fingerprint/ Password Unlock, the bolt retract.
- ‘Switch’ button: Short press, the bolt stretch out or retract.
- KNOB: Rotate, the bolt stretch out or retract.
- Any way fingerprint/ password ‘switch’ button / KNOB unlock, then close the door, the latch will stretch out to lock automatically.
- Verify other function includes Self-lock, Anti-peeping password, Reset’ button, APP work well or not.
Using The Lock
- Add Administrator (The first two are administrators, the first is password)
- Short press ‘Reset or press any key to wake up the Screen, long press

- Add administrator password (-8 digits) ended with
(he same password, 2 times) - The voice prompts Successful, then we can continue to add the 2nd administrator.
- Add administrator’s fingerprint{8 times), or password (6-8 numbers) ended with the
same password, 2 times). - The voice prompts The administrator iS full, quit setting.

Notes:
In order to improve the fingerprint recognition rate, the same fingerprint should be pressed 8 times on different parts of the fingerprint until the whole fingerprint and the outer ring have been collected.
Add User
- Short press ‘Reset’ or press any key to wake up the screen, long press
‘ the voice prompts please verity administrator - Verify the administrator, and the voice prompts Successful, please add user.
- Add user’s fingerprint(8 times), or password (6-8 numbers) ended with ‘
same password, 2 times). - The voice prompts were successful.
Delete User
- Short press ‘Reset or press any key to wake up the screen, long-press
the voice prompts please verify administrátor. - Verify the administrator, and the voice prompts are Successful, please add user
- Long press
again. - Press 1 to delete all user fingerprints, press 2 to delete all user passwords, press 3 to delete all users.
- The voice prompts successful.
- Note: The operation can only delete users, can not delete administrators. Only resetting the lock can delete the administrators.
Modify Password
- Press 5
the voice prompts please input old password - Enter the old password which needs to be modified, the voice will prompt New password.
- Enter new password followed by
(2 times), the voice will prompt successful. - Note: The previous password is invalid after modification.
- The administrator password cannot be modified.
Reset Lock
- Long press ‘Reset button with 3 seconds, the button light flashes.
- Verify the administrator, and the system restores to the factory default setings
- (The initial password is 1234567890″)
- After the reset, all the information are removed(including the administrator).
- Please calibrate the initial status first and add a new administrator immediately.
APP Installation and Network Configuration
- (Make sure you add administrator before network configuration)
- Make the bluetooth of your cellphone open
- Search and download TuyaSmart’ in APP store, or scan the QR Code.
- Install and open the APP, register and login with cellphone number.
- Network Configuration
- APP: Click ‘My family”Add DeviceAuto Scan’/r Start Scanning’, or click My family’T’Add Device’/Security&Sensor Add Manually’/
- Lock(Bluetooth) Confirm the voice guide’.
- Lock: Short press 3, Verify the administrator.
- APP: It will automatic find the Lock, click it to start network configuration.
- The voice prompts ‘add Successful’.
- If the network configuration fails, please try once again.
Notes:
- Make sure the phone is within 15 meters of the lock and the Bluetooth open.
- APP remote unlock: Long press to activate the lock.
Other Function
Self-lock of The Password:
It will be locked 180 seconds when entering wrong password 5 times continuously.
Release Self-lock:
Unlock with registered fingerprint once.
Self-lock of The Fingerprint:
It will be locked 180 seconds when entering wrong fingerprint 5 times continuously.
Release Self-lock:
Unlock with registered password once.
Low Power Alarm:
When the battery power is lower than 4.8V, the lock will prompt The battery is use up, please replace it, please replace with 4 new batteries in time.
Anti-peeping Password:
Random password added before or after the correct password, it also can unlock as long as the real password keep continuously correct. (Anti-peeping password can not exceed 16 digits)
Volume Switch:
Press ‘333, you can switch the volume(Mute/Low/High). Regularly Open Mode: After the administrator unlocked, the light of ‘5° 8’will be on, press 5 8 now, the lock will be set in regularly open mode.
Release Regularly Open Mode:
Unlock with the administrator once.
Correct the Door Close Position:
Close the door, press ’79’.Veify the administrator, and automatically correct the door close position.
FCC Statement:
This device complies with Part 15 of the FCC Rules. Operation is subject to the following two conditions:
- This device may not cause harmful interference.
- This device must accept any interference received, including interference that may cause undesired operation.
Warning: Changes or modifications not expressly approved by the party responsible for compliance could void the user’s authority to operate the equipment. Note: This equipment has been tested and found to comply with the limits for a Class B digital device, pursuant to Part 15 of the FCC Rules. These limits are designed to provide reasonable protection against harmful interference in a residential installation. This equipment generates uses and can radiate radio frequency energy and, if not installed and used in accordance with the instructions, may cause harmful interference to radio communications. However, there is no guarantee that interference will not Occur in a particular installation. If this equipment does cause harmful interference to radio or television reception, which can be determined by turning the equipment off and on, the user is encouraged to try to correct the interference by one or more of the following measures:
- Reorient or relocate the receiving antenna.
- Increase the separation between the equipment and receiver.
- Connect the equipment into an outlet on a circuit different from that to which the recever is connected.
- Consult the dealer or an experienced radio/TV technician for help.
FCC Radiation Exposure Statement:
This equipment complies with FCC radiation exposure limits set forth for an uncontrolled environment. This equipment should be installed and operated with minimum distance 20cm between the radiator & your body.


Return or Quit 





















