
LKR60003NW Induction Cooker

Product Information: Electrolux Cooker
The Electrolux Cooker (model number LKR60003NW) is a kitchen appliance that comes with decades of professional experience and innovation. It is designed to provide great results every time you use it. The cooker is stylish, ingenious, and comes with several features that make cooking a breeze.
Contents
- Safety instructions
- Installation guidelines
- Product description
- Before first use instructions
Safety Instructions
The Electrolux Cooker comes with several safety instructions that must be followed to prevent injury, electric shock, fire, and damage to the appliance. These include:
- Only a qualified person must install the appliance
- Always use original spare parts
- Ensure that you have the following data available when contacting the authorized service center: Model, PNC, Serial Number
- Refer to safety chapters before installation and first use of the appliance
Installation Guidelines
The Electrolux Cooker has specific technical data and electrical installation requirements that must be followed during installation. These include:
- The appliance dimensions are: Height – 850-936mm, Width – 596mm, Depth – 600mm
- The appliance is supplied with a main cable but without a main plug
- Install the anti-tilt protection to prevent the appliance from falling under incorrect loads
Product Description
The Electrolux Cooker comes with several features that make cooking easy and enjoyable. These include:
- Knobs for heating functions, Minute Minder, temperature control, and hob control
- Temperature indicator/symbol
- Heating element and lamp
- Removable shelf support and multiple shelf positions
- Cooking zone and residual heat indicator
- Storage drawer below the oven cavity
Before First Use Instructions
WARNIN: Refer to Safety chapters.
Initial Cleaning
Remove all accessories and removable shelf supports from the oven.
Refer to “Care and cleaning” chapter. Clean the oven and the accessories before the first use.
Put the accessories and the removable shelf supports back to their initial position.
Preheating
Preheat the empty oven before first use.
- Set the function
. Set the maximum temperature. - Let the oven operate for 1 hour.
- Set the function

- . Set the maximum temperature.
- Let the oven operate for 15 minutes.
- Turn off the oven and let it cool down. Accessories can become hotter than usual. The oven can emit an odour and smoke. Make sure that the airflow in the room is sufficient.
Opening and closing the door with the mechanical door lock
The mechanical door lock is activated by default.
To open the door move the lock to the right.Close the door without pressing the lever.
Deactivating the mechanical door lock – in the main oven

- Press the door trim B at each side. The seal releases.
- Pull the door trim up and remove it.
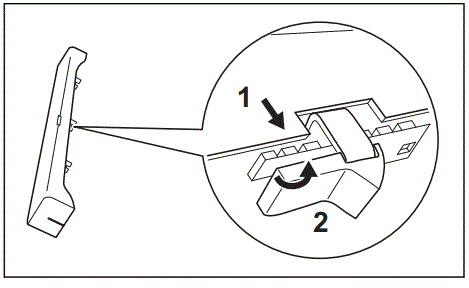
- Remove the lever 1, move it to the right 2 and put it back in.

- 4. Hold the door trim B at each side and position it on the inner edge of the door. Put the door trim into the top edge of the door.

Before using the Electrolux Cooker for the first time, ensure that you have followed the safety instructions and completed the initial cleaning. To clean the appliance:
- Remove all accessories and removable shelf supports from the oven
WE’RE THINKING OF YOU
Thank you for purchasing an Electrolux appliance. You’ve chosen a product that brings with it decades of professional experience and innovation. Ingenious and stylish, it has been designed with you in mind. So whenever you use it, you can be safe in the knowledge that you’ll get great results every time. Welcome to Electrolux. Visit our website to: Get usage advice, brochures, trouble shooter, service and repair information: www.electrolux.com/support
Register your product for better service:
- www.registerelectrolux.com
- Buy Accessories, Consumables and Original spare parts for your appliance: www.electrolux.com/shop
CUSTOMER CARE AND SERVICE
Always use original spare parts.
When contacting our Authorised Service Centre, ensure that you have the following data available: Model, PNC, Serial Number.
The information can be found on the rating plate.
Subject to change without notice.
SAFETY INFORMATION
Before the installation and use of the appliance, carefully read the supplied instructions. The manufacturer is not responsible for any injuries or damage that are the result of incorrect installation or usage. Always keep the instructions in a safe and accessible location for future reference.
Children and vulnerable people safety
- • This appliance can be used by children aged from 8 years and above and persons with reduced physical, sensory or mental capabilities or lack of experience and knowledge if they have been given supervision or instruction concerning the use of the appliance in a safe way and understand the hazards involved. Children of less than 8 years of age and persons with very extensive and complex disabilities shall be kept away from the appliance unless continuously supervised.
• Children should be supervised to ensure that they do not play with the appliance.
• Keep all packaging away from children and dispose of it appropriately.
• WARNING: The appliance and its accessible parts become hot during use. Keep children and pets away from the appliance when in use and when cooling down.
• Children shall not carry out cleaning and user maintenance of the appliance without supervision. - General Safety
- • This appliance is for cooking purposes only.
• This appliance is designed for single household domestic use in an indoor environment.
• This appliance may be used in, offices, hotel guest rooms, bed & breakfast guest rooms, farm guest houses and other similar accommodation where such use does not exceed (average) domestic usage levels. - • Only a qualified person must install this appliance and replace the cable.
• This appliance is intended for use up to an altitude of 2000 m above sea level.
• This appliance is not intended to be used on ships, boats or vessels.
• Do not install the appliance behind a decorative door in order to avoid overheating.
• Do not install the appliance on a platform.
• Do not operate the appliance by means of an external timer or separate remote-control system.
• WARNING: Unattended cooking on a hob with fat or oil can be dangerous and may result in fire.
• Never use water to extinguish the cooking fire. Switch off the appliance and cover flames with e.g. a fire blanket or lid.
• CAUTION: The cooking process has to be supervised. A short term cooking process has to be supervised continuously.
• WARNING: Danger of fire: Do not store items on the cooking surfaces.
• Do not use a steam cleaner to clean the appliance.
• Do not use harsh abrasive cleaners or sharp metal scrapers to clean the glass door or the glass of hinged lids of the hob since they can scratch the surface, which may result in shattering of the glass.
• Metallic objects such as knives, forks, spoons and lids should not be placed on the hob surface since they can get hot.
• If the glass ceramic surface / glass surface is cracked, switch off the appliance and unplug it from the mains. In case the appliance is connected to the mains directly using junction box, remove the fuse to disconnect the appliance from power supply. In either case contact the Authorised Service Centre. - • WARNING: The appliance and its accessible parts become hot during use. Care should be taken to avoid touching heating elements.
• Always use oven gloves to remove or insert accessories or ovenware.
• Before maintenance, cut the power supply.
• WARNING: Ensure that the appliance is switched off before replacing the lamp to avoid the possibility of electric shock.
• If the mains power supply cable is damaged, it must be replaced by the manufacturer, its Authorised Service Centre or similarly qualified persons to avoid an electrical hazard.
• Be careful when you touch the storage drawer. It can get hot.
• To remove the shelf supports first pull the front of the shelf support and then the rear end away from the side walls. Install the shelf supports in the opposite sequence.
• WARNING: Use only hob guards designed by the manufacturer of the cooking appliance or indicated by the manufacturer of the appliance in the instructions for use as suitable or hob guards incorporated in the appliance. The use of inappropriate guards can cause accidents.
SAFETY INSTRUCTIONS
Installation
WARNING: Only a qualified person must install this appliance.
- • Remove all the packaging.
• Do not install or use a damaged appliance.
• Follow the installation instructions supplied with the appliance.
• Always take care when moving the appliance as it is heavy. Always use safety gloves and enclosed footwear.
• Do not pull the appliance by the handle.
• The kitchen cabinet and the recess must have suitable dimensions. - • Keep the minimum distance from other appliances and units.
• Install the appliance in a safe and suitable place that meets installation requirements.
• Parts of the appliance carry current. Close the appliance with furniture to prevent touching the dangerous parts.
• The sides of the appliance must stay next to appliances or units with the same height.
• Do not install the appliance adjacent to a door or under a window. This prevents hot cookware to fall from the appliance when the door or the window is opened.
• Make sure to install a stabilizing means in order to prevent tipping of the appliance. Refer to Installation chapter.
Electrical Connection
WARNING: Risk of fire and electric shock.
- • All electrical connections should be made by a qualified electrician.
• The appliance must be earthed. - • All electrical connections should be made by a qualified electrician.
• The appliance must be earthed. - • Do not use multi-plug adapters and extension cables.
• Do not let mains cables touch or come near the appliance door or the niche below the appliance, especially when it operates or the door is hot.
• The shock protection of live and insulated parts must be fastened in such a way that it cannot be removed without tools.
• Connect the mains plug to the mains socket only at the end of the installation. Make sure that there is access to the mains plug after the installation.
• If the mains socket is loose, do not connect the mains plug.
• Do not pull the mains cable to disconnect the appliance. Always pull the mains plug.
• Use only correct isolation devices: line protecting cut-outs, fuses (screw type fuses removed from the holder), earth leakage trips and contactors.
• The electrical installation must have an isolation device which lets you disconnect the appliance from the mains at all poles. The isolation device must have a contact opening width of minimum 3 mm.
• Fully close the appliance door before you connect the mains plug to the mains socket.
Use
WARNING: Risk of injury and burns. Risk of electrical shock.
- Do not change the specification of this appliance.
- • Make sure that the ventilation openings are not blocked.
• Do not let the appliance stay unattended during operation.
• Deactivate the appliance after each use.
• Be careful when you open the appliance door while the appliance is in operation. Hot air can release.
• Do not operate the appliance with wet hands or when it has contact with water.
• Do not use the appliance as a work surface or as a storage surface.
WARNING!
Risk of fire and explosion
- • Fats and oil when heated can release flammable vapours. Keep flames or heated objects away from fats and oils when you cook with them.
• The vapours that very hot oil releases can cause spontaneous combustion.
• Used oil, that can contain food remnants, can cause fire at a lower temperature than oil used for the first time.
• Do not put flammable products or items that are wet with flammable products in, near or on the appliance.
• Do not let sparks or open flames to come in contact with the appliance when you open the door.
• Open the appliance door carefully. The use of ingredients with alcohol can cause a mixture of alcohol and air. - WARNING!
Risk of damage to the appliance. - • To prevent damage or discoloration to the enamel:
– do not put ovenware or other objects in the appliance directly on the bottom.
– do not put aluminium foil on the appliance or directly on the bottom of cavity.
– do not put water directly into the hot appliance.
– do not keep moist dishes and food in the appliance after you finish the cooking.
– be careful when you remove or install the accessories. - • Discoloration of the enamel or stainless steel has no effect on the performance of the appliance.
• Use a deep pan for moist cakes. Fruit juices cause stains that can be permanent.
• Do not keep hot cookware on the control panel. - Do not let cookware boil dry.
Be careful not to let objects or cookware fall on the appliance. The surface can be damaged. - • Do not activate the cooking zones with empty cookware or without cookware.
• Cookware made of cast iron, aluminium or with a damaged bottom can cause scratches. Always lift these objects up when you have to move them on the cooking surface.
Care and Cleaning
WARNING: Risk of injury, fire, or damage to the appliance.
- • Before maintenance, deactivate the appliance.
Disconnect the mains plug from the mains socket.
• Make sure the appliance is cold. There is the risk that the glass panels can break.
• Replace immediately the door glass panels when they are damaged. Contact the Authorised Service Centre.
• Be careful when you remove the door from the appliance. The door is heavy!
• Fat and food remaining in the appliance can cause fire.
• Clean regularly the appliance to prevent the deterioration of the surface material.
• Make sure the cavity and the door are wiped dry after each use. Steam produced during the operation of the appliance condensates on cavity walls and can cause corrosion. To decrease the condensation operate the appliance for 10 minutes before cooking.
• Clean the appliance with a moist soft cloth. Use only neutral detergents. Do not use abrasive products, abrasive cleaning pads, solvents or metal objects. - • If you use an oven spray, follow the safety instructions on the packaging.
• Do not clean the catalytic enamel (if applicable) with any kind of detergent.
Internal lighting
WARNING: Risk of electric shock.
- • Concerning the lamp(s) inside this product and spare part lamps sold separately: These lamps are intended to withstand extreme physical conditions in household appliances, such as temperature, vibration, humidity, or are intended to signal information about the operational status of the appliance. They are not intended to be used in other applications and are not suitable for household room illumination.
• This product contains a light source of energy efficiency class G.
• Use only lamps with the same specifications.
Service
- • To repair the appliance contact the Authorised Service Centre.
• Use original spare parts only.
Disposal
WARNING: Risk of injury or suffocation.
- • Contact your municipal authority for information on how to dispose of the appliance.
• Disconnect the appliance from the mains supply.
• Cut off the mains electrical cable close to the appliance and dispose of it.
• Remove the door catch to prevent children or pets from becoming trapped in the appliance.
INSTALLATION
WARNING: Refer to Safety chapters.
Technical data
Dimensions
- Height: 850 – 936 mm
- Width: 596 mm
- Depth: 600 mm
Electrical installation
WARNING!
The manufacturer is not responsible if you do not follow the safety precautions from Safety chapters. This appliance is supplied with a main cable and without a main plug.
WARNING!
The power cable must not touch the part of the appliance shaded in the illustration.
Anti-tilt protection
CAUTION!
Install the anti-tilt protection to prevent the appliance from falling under incorrect loads. The anti-tilt protection only works when the appliance is put in a correct area.
Your appliance has the symbols shown on the pictures (if applicable) to remind you about the installation of the anti-tilt protection. Make sure you install the anti-tilt protection at the correct height.For more information about the installation of the appliance refer to a separate installation booklet
PRODUCT DESCRIPTION
General overview

- Knob for the heating functions
- Knob for the Minute Minder
- Control knob (for the temperature)
- Temperature indicator / symbol
- Knobs for the hob
- Heating element
- Lamp
- Shelf support, removable
- Shelf positions
Hob overview

- 1 Cooking zone
2 Residual Heat Indicator
Accessories
- • Wire shelf
For cookware, cake tins, roasts.
• Baking tray
For cakes and biscuits.
• Grill- / Roasting pan - To bake and roast or as pan to collect fat.
- Storage drawer
The storage drawer is below the oven cavity.
HOB – DAILY USE
Minute minder
The minute minder deactivates the cooking zones after a set amount of time. The maximum time you can set is 120 minutes.
The cooking zones do not operate if you do not set the minute minder.
Turn the knob for the timer as far as it goes, then turn it back to the necessary time period.
After the set time, the electricity is cut off to all cooking zones.
If you want to operate the hob for a longer time, you have to set the timer again.
Heat setting
Use the residual heat to decrease energy consumption. Deactivate the cooking zone approximately 5 – 10 minutes before the cooking process is completed. Turn the knob for the selected cooking zone to a necessary heat setting. To complete the cooking process, turn the knob to the off position.
Residual heat indicator
WARNING!
As long as the indicator is on, there is a risk of burns from residual heat.
The indicator appears when a cooking zone is hot, but it does not function if mains power is disconnected.
The indicator may also appear:
- for the neighbouring cooking zones even if you are not using them,
- when hot cookware is placed on cold cooking zone,
- when the hob is deactivated but the cooking zone is still hot.
The indicator disappears when the cooking zone has cooled down.
HOB – HINTS AND TIPS
WARNING: Refer to Safety chapters.
Cookware
The cooking results depend on the cookware
material The bottom of the cookware must be as thick and flat as possible. Ensure pan bases are clean and dry before placing on the hob surface.
Do not use cookware on the ceramic hob with bases with pronounced edges or ridges, e.g. cast iron pans. These could scratch or scour the hob surface permanently.
Cookware made of enamelled steel and with aluminium or copper bottoms can cause a colour change on the glassceramic surface.
To save energy and ensure that the hob operates properly the cookware bottom must have a suitable minimum diameter.
Minimum cookware diameter
| Cooking zone | Cookware diam‐ eter (mm) | Power (W) | |
| Left rear | 125 – 145 | 1200 | |
| Right rear | 150 – 180 | 1800 | |
| Right front | 125 – 145 | 1200 | |
| Left front | 180 – 210 | 2300 |
Examples of cooking applications
The data in the table is for guidance only.
| -Heat Setting 1 | use to | Time sary | Hints |
| 1 – 2 | Hollandaise sauce, melt: butter, choco‐ | 5 – 25 | Mix from time to time. |
| late, gelatine. | |||
| 2 | Solidify: fluffy omelettes, baked eggs. | 10 – 40 | Cook with a lid on. |
| 2 – 3 | Simmer rice and milkbased dishes, | 25 – 50 | Add at least twice as much liquid as |
| heat up ready-cooked meals. | rice, mix milk dishes halfway through | ||
| the procedure. | |||
| 3 – 4 | Stew vegetables, fish, meat. | 20 – 45 | Add a few tablespoons of water. |
| Check the water amount during the | |||
| process. | |||
| 4 – 5 | Steam potatoes and other vegetables. | 20 – 60 | Cover the bottom of the pot with 1-2 |
| cm of water. Check the water level | |||
| during the process. Keep the lid on the | |||
| pot. | |||
| 4 – 5 | Cook larger quantities of food, stews | 60 – 150 | Up to 3 l of liquid plus ingredients. |
| and soups. | |||
| 6 – 7 | Gentle fry: escalope, veal cordon bleu, | as neces‐ | Turn over when needed. |
| cutlets, rissoles, sausages, liver, roux, | sary | ||
| eggs, pancakes, doughnuts. |
HOB – CARE AND CLEANING
WARNING: Refer to Safety chapters.
General information
- Clean the hob after each use.
- Always use cookware with a clean base.
- Scratches or dark stains on the surface have no effect on how the hob operates.
- Use a special cleaner suitable for the surface of the hob.
- Use a special scraper for the glass.
WARNING! Keep the blade scraper out of the reach of children. Use the blade scraper carefully because the blade is very sharp.
Cleaning the hob
- Remove immediately: melted plastic, plastic foil, salt, sugar and food with sugar, otherwise, the dirt can cause damage to the hob. Take care to avoid burns. Use a special hob scraper on the glass surface at an acute angle and move the blade on the surface.
- Remove when the hob is sufficiently cool: limescale rings, water rings, fat stains, shiny metallic discoloration. Clean the hob with a moist cloth and a nonabrasive detergent. After cleaning, wipe the hob dry with a soft cloth.
- Remove shiny metallic discoloration: use a solution of water with vinegar and clean the glass surface with a cloth.
OVEN – DAILY USE
WARNING: Refer to Safety chapters.
Oven functions
WARNING!
Do not pour any liquids into the cavity embossment before and during the cooking process. There is a risk of damage.

Activating and deactivating the oven
It depends on the model if your appliance has knob symbols, indicators or lamps:
- The indicator comes on when the oven heats up.
- The lamp comes on when the oven operates.
- The symbol shows whether the knob controls one of the cooking zones, the oven functions or the temperature.
- Turn the knob for the oven functions to select an oven function.
- Turn the knob for the temperature to select a temperature.
- To deactivate the oven turn the knobs for the oven functions and temperature to the off position.
Locking the oven and hob
The knob for the oven functions has a built-in Function lock.
The Function lock does not deactivate the main power supply of the cooker.
Turn the knob to the symbol .
The knob comes out approximately 2 mm.
Unlocking the oven and hob: Press the knob and turn it to the necessary position.
Cooling fan
When the oven operates, the cooling fan turns on automatically to keep the surfaces of the oven cool. If you turn off the oven, the cooling fan stops.
Inserting the oven accessories Deep pan:
Push the deep pan between the guide bars of the shelf support.
Wire shelf:
Push the shelf between the guide bars of the shelf support.
- All accessories have small indentations at the top of the right and left side to increase safety. The indentations are also anti-tip devices.
- The high rim around the shelf is a device which prevents cookware from slipping.
OVEN – HINTS AND TIPS
WARNING: Refer to Safety chapters.
The temperature and baking times in the tables are guidelines only. They depend on the recipes and the quality and quantity of the ingredients used.
Baking
For the first baking, use the lower temperature.
You can extend the baking time by 10 – 15 minutes if you bake cakes on more than one shelf position.
Cakes and pastries at different heights do not always brown equally. There is no need to change the temperature setting if an unequal browning occurs. The differences equalize during baking.
Trays in the oven can distort during baking.
When the trays are cold again, the distortions disappear.
Tips on baking

| 10.3 Conventional Baking | |||
| Food | Temperature (°C) | Time (min) | Shelf posi‐ tion |
| Bread rolls | 200 – 225 | 10 – 20 | 3 |
| Wholemeal rolls | 190 – 200 | 20 – 25 | 3 |
| Filled sandwiches | 200 – 225 | 10 – 12 | 3 |
| Pan loaf | 190 – 210 | 30 – 40 | 3 |
| Ciabatta rolls | 210 – 230 | 10 – 20 | 3 |
| Foccacia | 220 – 230 | 15 – 20 | 3 |
| Pita bread | 230 – 250 | 5 – 15 | 3 |
| Pretzels | 180 – 200 | 12 – 15 | 3 |
| White loaf / Round loaf | 175 – 225 | 35 – 45 | 2 |
| White loaf | 190 – 210 | 25 – 40 | 2 |
| Ciabatta | 210 – 220 | 15 – 25 | 2 |
| Wholemeal loaf | 180 – 200 | 35 – 45 | 2 |
| Rye bread baking | 180 – 200 | 55 – 65 | 1 |
| Baguettes | 220 – 230 | 15 – 30 | 3 |
| Pancakes | 170 – 180 | 50 – 60 | 3 |
| Fruit cakes | 150 – 170 | 70 – 80 | 3 |
| Food | Temperature (°C) | Time (min) | Shelf posi‐ tion |
| Muffins | 180 – 200 | 10 – 20 | 3 |
| Jam roll | 220 – 250 | 6 – 15 | 3 |
| Buns | 220 – 250 | 8 – 15 | 3 |
| Long loaf | 180 – 200 | 25 – 35 | 3 |
| Gingerbread | 220 – 225 | 8 – 12 | 3 |
| Dish cake | 170 – 180 | 35 – 45 | 3 |
| Sponge cakes/Madeira cakes | 170 – 180 | 40 – 50 | 2 |
| Sandwich cake, roll | 200 – 225 | 8 – 12 | 3 |
| Meringues | 90 – 110 | 90 – 120 | 3 |
| Meringue bases | 90 – 110 | 90 – 120 | 3 |
| Biscuits | 160 – 180 | 6 – 15 | 3 |
| Choux pastry | 170 – 190 | 30 – 45 | 3 |
| Swiss rolls | 190 – 210 | 10 – 12 | 3 |
| Fruit tarts, short crust pastry/ pre-baking, roll | 175 – 200 | 10 – 15 | 3 |
| Fruit tarts, short crust pastry/ finishing | 170 – 180 | 35 – 45 | 3 |
| Fruit tarts, crumble pastry | 190 – 200 | 25 – 35 | 3 |
| Marzipan ring cake | 210 – 230 | 10 – 12 | 2 |
| 10.4 Conventional Cooking | |||
| Food | Temperature (°C) | Time (min) | Shelf posi‐ tion |
| Fish, boiling | 160 – 170 | –1) | 3 |
| Fish, frying | 180 – 200 | –1) | 3 |
| Meatloaf | 175 – 200 | 45 – 60 | 3 |
| Danish meatballs | 175 – 200 | 30 – 45 | 3 |
| Liver pâté | 180 – 200 | 50 – 60 | 3 |
| Gratin | 180 – 200 | 50 – 60 | 3 |
| Potato gratin | 190 – 210 | 55 – 65 | 3 |
| Lasagne, home made | 190 – 210 | 50 – 60 | 3 |
| Lasagne, frozen | 175 – 200 | 30 – 452) | 3 |
| Pasta gratin | 180 – 200 | 30 – 40 | 3 |
| Pizza, home made | 220 – 230 | 15 – 25 | 2 |
| Food | Temperature (°C) | Time (min) | Shelf posi‐ tion |
| Pizza, frozen | 200 – 220 | 20 – 30 | 2 |
| Chips, frozen | 225 – 250 20 – 302) 3 | ||
| Tarts, home made – pre-baking, roll | 190 – 210 | 15 – 25 | 3 |
| Tarts, home made – finishing | 190 – 210 | 20 – 30 | 3 |
| Tarts, frozen | 200 – 225 20 – 302) 3 | ||
- When frying or boiling fish, the cooking time depends on the thickness of the fish. The fish is finished when the
flesh is white. Test by sticking a fork into the fish. If the flesh comes easily away from the bone, the fish is cooked. - With cooking on two levels (double portion) the time is around 1/3 longer than that stated on the packaging. If
the time given is 30 min, then the preparation time will be around 30 + 10 = 40 min.
Tips on Roasting
- Use heat-resistant ovenware.
- Roast lean meat covered (you can use aluminium foil).
- Roast large meat joints directly in the tray.
- Put some water in the tray to prevent dripping fat from burning.
- Turn the roast after 1/2 – 2/3 of the cooking time.
- Roast meat and fish in large pieces (1 kg or more).
- If level one is suggested put the food directly on the baking tray
- Baste meat joints with their own juice several times during roasting.
| Food | Temperature (°C) | Time (min / kg) | Shelf posi‐ tion |
| Roast beef1) 125 | 80 – 120 | 2 | |
| Rump steak – browning | 225 | total 10 | 2 |
| Rump steak – roasting | 160 | 50 – 60 | 2 |
| Roast beef | 180 | 90 – 120 | 2 |
1) Other. Can be browned off after roasting under the grill or with top / bottom heat at 250°C. If you are using a meat probe, remove it before grilling.
Veal
| Food Temperature (°C) | Time (min / kg) | Shelf posi‐ tion |
| Fillet of beef1) 180 | 60 – 70 | 2 |
1) Other. Can be browned off after roasting under the grill or with top / bottom heat at 250°C. If you are using a meat probe, remove it before grilling.
| Lamb | |||
| Food | Temperature (°C) | Time (min / kg) | Shelf posi‐ tion |
| Leg / shoulder / saddle | 180 | 80 – 100 | 2 |
| Pork | |||
| Food Temperature (°C) | Time (min / kg) | Shelf posi‐ tion | |
| Roast pork1) 200 | 60 – 70 | 3 | |
| Pork loin1) 200 | 60 | 3 | |
| Neck fillets | 180 | 90 – 120 | 3 |
| Ham | 160 | 60 – 100 | 2 |
1) Other. Can be browned off after roasting under the grill or with top / bottom heat at 250°C. If you are using a meat probe, remove it before grilling.
Poultry
| Food | Temperature (°C) | Time (min / kg) | Shelf posi‐ tion |
| Chicken, parted | 200 | 55 – 65 | 2 |
| Duck1) 160 | 55 – 65 | 2 | |
| Duck slow roasting1) 130 | 5 hours | 2 | |
| Roast turkey, stuffed | 160 | 50 – 60 | 2 |
| Turkey breast | 200 | 70 – 80 | 2 |
| Whole chicken | 220 | 60 – 90 | 2 |
1) Other. Can be browned off after roasting under the grill or with top / bottom heat at 250°C. If you are using a meat probe, remove it before grilling.
Moist Conventional Baking Bread and pizza
| Food | Temperature (°C) | Time (min) | Shelf position |
| Buns | 180 | 25 – 35 | 3 |
| Frozen pizza 350 g | 190 | 25 – 35 | 3 |
| Cakes in baking tray | |||
| Food | Temperature (°C) | Time (min) | Shelf position |
| Swiss roll | 180 | 20 – 30 | 3 |
| Brownie | 180 | 30 – 40 | 3 |
Cakes in tin
| Cakes in tin | |||
| Food | Temperature (°C) | Time (min) | Shelf position |
| Soufflè | 200 | 30 – 40 | 3 |
| Sponge flan base | 180 | 20 – 30 | 3 |
| Victoria sandwich | 150 | 25 – 35 | 3 |
| Fish | |||
| Food | Temperature (°C) | Time (min) | Shelf position |
| Fish in pouches 300 g | 180 | 25 – 35 | 3 |
| Whole fish 200 g | 180 | 25 – 35 | 3 |
| Fish fillet 300 g | 180 | 25 – 35 | 3 |
| Meat | |||
| Food | Temperature (°C) | Time (min) | Shelf position |
| Meat in pouch 250 g | 200 | 25 – 35 | 3 |
| Meat skewers 500 g | 200 | 30 – 40 | 3 |
| Small baked items | |||
| Food | Temperature (°C) | Time (min) | Shelf position |
| Cookies | 180 | 25 – 35 | 3 |
| Macaroons | 160 | 25 – 35 | 3 |
| Muffins | 180 | 25 – 35 | 3 |
| Savoury cracker | 170 | 20 – 30 | 3 |
| Short crust pastry biscuits | 150 | 25 – 35 | 3 |
| Tartelettes | 170 | 15 – 25 | 3 |
| Vegetarian | |||
| Food | Temperature (°C) | Time (min) | Shelf position |
| Mixed vegetables in pouch 400 g | 180 | 25 – 35 | 3 |
| Omelette | 200 | 20 – 30 | 3 |
| Vegetables on tray 700 g | 180 | 25 – 35 | 3 |
Preserving
- Use only preserve jars of the same dimensions available on the market.
- Do not use jars with twist-off and bayonet type lids, or metal tins.
- Use the first shelf from the bottom for this function.
- Put no more than six one-litre preserve jars on the baking tray.
- Fill the jars up to the same level and close with a clamp.
- The jars cannot touch each other.
- Put approximately 1/2 litre of water into the baking tray to give sufficient moisture in the oven.
- When the liquid in the jars starts to simmer (after approx. 35 – 60 minutes with one-litre jars), stop the oven or decrease the temperature to 100 °C (see the table).
Soft fruit
1) Leave standing in oven when switched off.
Grilling in general
WARNING: Always grill with the oven door closed.
- Always grill with the maximum temperature setting.
- Set the shelf into the shelf position as recommended in the grilling table.
- If the first shelf position is recommended put the food directly on the baking tray.
- Always place the deep pan to collect fat on the first shelf position
- Grill only flat pieces of meat or fish.
The grilling area is set in centre of the shelf.
Grilling
| Food | Temperature | Time (min) | Shelf po‐ | |
| (°C) | 1st side | 2nd side | sition | |
| Pork chops | 250 | 7 – 9 | 4 – 6 | 4 |
| Lamb chops | 250 | 7 – 10 | 5 – 6 | 4 |
| Chicken, parted | 250 | 20 – 25 | 15 – 20 | 4 |
| Sausages | 250 | 3 – 5 | 2 – 4 | 4 |
| Food | Temperature | Time (min) | Shelf po‐ | ||
| (°C) | 1st side | 2nd side | sition | ||
| Spareribs, pre-cooked for 20 mins | 250 | 15 – 20 | 15 – 20 | 4 | |
| Fish, slices of cod/ salmon | 250 | 10 – 15 | 5 – 10 | 4 | |
| Roast beef, medium | 210 – 230 | 30 – 40 | 30 – 40 | 2 | |
| Filet of beef, medium | 230 | 20 – 30 | 20 – 30 | 3 | |
| Back of pork | 210 – 230 | 30 – 40 | 30 – 40 | 2 | |
| Back of veal | 210 – 230 | 30 – 40 | 30 – 40 | 2 | |
| Back of lamb | 210 – 230 | 25 – 35 | 20- 35 | 3 | |
| Whole fish, 500 – 1000g | 210 – 230 | 15 – 30 | 15 – 30 | 3 | |
| 10.11 Fast Grilling | |||||
| Food | Temperature (°C) | Time (min) | Shelf posi‐ | ||
| 1st side | 2nd side | tion | |||
| Pork fillet | max | 10 – 12 | 6 – 10 | 4 | |
| Sausages | max | 10 – 12 | 6 – 8 | 4 | |
| Fillet steaks, veal steaks | max | 7 – 10 | 6 – 8 | 4 | |
| Toast with topping | max | 6 – 8 | – | 4 | |
| Whole chicken | max | 25 – 30 | 20 – 25 | 2 | |
| 10.12 Information for test institutes | |||||
| Food | Function | Tempera‐ ture (°C) | Time (min) | Accesso‐ ries | Shelf po‐ sition |
| Small cakes (20 small cakes per tray) | Conventional | 160 | 25 – 35 | Tray | 4 |
| Apple pie diagonally shif‐ ted | Conventional | 180 | 90 – 100 | 2 tins (ø 20 cm) on the grid | 1 |
| Fatless sponge cake | Conventional | 170 | 30 – 40 | 1 tin (ø 26 cm) on the grid | 3 |
| Shortbread/Pastry strip | Conventional | 160 | 20 – 30 | Tray | 3 |
| Toast 1) | Grill | Max 1 | – 5 | Grid | 4 |
- For toast push the grid in the back of the oven as far as possible.
- Preheat the oven..
OVEN – CARE AND CLEANING
WARNING: Refer to Safety chapters.
Notes on cleaning
Stainless steel or aluminium ovens
- Clean the oven door with a damp cloth or sponge only. Dry it with a soft cloth.
- Do not use steel wool, acids or abrasive materials as they can damage the oven surface. Clean the oven control panel with the same precautions.
Removing the shelf supports
To clean the oven, remove the shelf supports.
- Pull the front of the shelf support away from the side wall.

- Pull the rear end of the shelf support away from the side wall and remove it.

Install the shelf supports in the opposite sequence.
Make sure that the longer fixing wire is in the front. The ends of the two wires must point to the rear. Incorrect installation can cause damage to the enamel.
Removing the oven door
To make the cleaning easier, remove the door. 1 2
- Open the door fully.
- Move the slider until you hear a click.
- Close the door until the slider locks.
- Remove the door.
To remove the door, pull the door outwards first from one side, and then the other.
When the cleaning procedure is completed, insert the oven door in the opposite sequence. Make sure that you hear a click when you insert the door. Use force if necessary.
Removing and cleaning the door glasses
The door glass in your product can be different in type and shape from the examples you see in the images. The number of glasses can also be different.
- Hold the door trim B on the top edge of the door at the two sides and push inwards to release the clip seal.

- Pull the door trim to the front to remove it.
- Hold the door glass panels on their top edge one by one and pull them upwards from the guide.

- Clean the door glass panels. To install panels, do the same steps in reverse.
How to remove: grill
WARNING: Deactivate the appliance before you remove the heating element. Make sure that the appliance is cold. There is a risk of burns.
Remove the shelf supports.
You can remove the heating element to clean the oven ceiling more easily.
- Remove the screw which holds the heating element. For the first time, use a screwdriver.

- Carefully pull the heating element down.
Clean the oven ceiling with a soft cloth with warm water and a cleaning agent, and let it dry.
Install the heating element in the opposite sequence.
Install the shelf supports.
WARNING!
Make sure that the heating element is correctly installed and that it does not fall down.
Replacing the lamp
WARNING: Risk of electric shock.
The lamp can be hot.
- Turn off the oven. Wait until the oven is cold.
- Disconnect the oven from the mains.
- Put a cloth on the bottom of the cavity.
The back lamp
The lamp glass cover is at the back of the cavity.
- Turn the lamp glass cover counterclockwise to remove it.
- Clean the glass cover.
- Replace the oven lamp with a suitable 300 °C heat-resistant oven lamp.
Use the same oven lamp type. - Install the glass cover.
The drawer
- WARNING: Do not put food inside the drawer.
- WARNING: Do not keep flammable items such as cleaning materials, plastic bags, oven gloves, paper, cleaning products, aerosols, plastic items) in the drawer.
- When you use the oven, the drawer can become hot. There is a risk of fire.
- The drawer below the oven can be removed for cleaning.
Removing the drawer:
- Pull the drawer out until it stops.
- Lift the drawer slightly, so that can be lifted upwards at an angle of the drawer guides.
To install the drawer, follow the procedure in reverse.
TROUBLESHOOTING
WARNING: Refer to Safety chapters.
12.1 What to do if…
| 12.1 What to do if… | ||
| Problem | Possible cause | Remedy |
| You cannot activate the appliance. | The appliance is not connected to an electrical supply or it is connec‐ ted incorrectly. | Check if the appliance is correctly connected to the electrical supply. |
| You cannot activate the appliance. | The fuse is blown. | Make sure that the fuse is the cause of the malfunction. If the fuse is blown again and again, contact a qualified electrician. |
| Residual heat indicator does not | The zone is not hot because it oper‐ | If the zone operated sufficiently long |
| come on. | ated only for a short time. | to be hot, speak to an Authorised Service Centre. |
| The oven does not heat up. | The oven is deactivated. | Activate the oven. |
| The oven does not heat up. | The necessary settings are not set. | Make sure that the settings are cor‐ rect. |
| The lamp does not operate. | The lamp is defective. | Replace the lamp. |
| Steam and condensation settle on | You left the dish in the oven for too | Do not leave the dishes in the oven |
| the food and in the cavity of the oven. | long. | for longer than 15 – 20 minutes after the cooking process ends. |
Service data
If you cannot find a solution to the problem yourself, contact your dealer or an Authorised Service Centre.
The necessary data for the service centre is on the rating plate. The rating plate is on the front frame of the appliance cavity. Do not remove the rating plate from the appliance cavity.
ENERGY EFFICIENCY
Product Information according to EU Ecodesign Regulations for hob 

Hob – Energy saving
You can save energy during everyday cooking if you follow the hints below.
- When you heat up water, use only the amount you need.
- If it is possible, always put the lids on the cookware.
- Before you activate the cooking zone put the cookware on it.
- The cookware bottom should have the same diameter as the cooking zone.
- Put the smaller cookware on the smaller cooking zones.
- Put the cookware directly in the centre of the cooking zone.
- Use the residual heat to keep the food warm or to melt it.
Product Information and Product Information Sheet according to EU Ecodesign and Energy Labelling Regulations for ovens
IEC/EN 60350-1 – Household electric cooking appliances – Part 1: Ranges, ovens, steam ovens and grills – Meth‐ods for measuring performance.
Oven – Energy saving
The appliance has features which help you save energy during everyday cooking.
Make sure that the appliance door is closed when the appliance operates. Do not open the appliance door too often during cooking. Keep the door gasket clean and make sure it is well fixed in its position.
Use metal cookware to improve energy saving.
When possible, do not preheat the appliance before cooking.
Keep breaks between baking as short as possible when you prepare a few dishes at one time.
Residual heat
When the cooking duration is longer than 30 min, reduce the appliance temperature to minimum 3 – 10 min before the end of cooking. The residual heat inside the appliance will continue to cook.
Use the residual heat to warm up other dishes.
Keep food warm
Choose the lowest possible temperature setting to use residual heat and keep a meal warm.
Moist Conventional Baking
Function designed to save energy during cooking.
ENVIRONMENTAL CONCERNS
Recycle materials with the symbol . Put the packaging in relevant containers to recycle it. Help protect the environment and human health by recycling waste of electrical and electronic appliances. Do not dispose of
appliances marked with the symbol withthe household waste. Return the product to your local recycling facility or contact your municipal office.
Electrolux Appliances AB – Contact Address: Al. Powstancow Slaskich 26, 30-570 Krakow, Poland
























