KICHLER 310080 Tranquil 56 Inch 5 Blade Indoor or Outdoor LED Ceiling Fan

SAFETY RULES
READ AND SAVE THESE INSTRUCTIONS
WARNING: FOR CANADA, THIS FAN MUST BE SECURED DIRECTLY TO THE BUILDING STRUCTURE / CEILING JOIST. DON’T SECURE THIS FAN TO AN OUTLET BOX.
- CAUTION RISK OF SHOCK
Disconnect Power at the main circuit breaker panel or main fuse box before starting and during the installation - WARNING: This fixture is intended for installation in accordance with the National Electrical Code (NEC) and all local code specifications. If you are not familiar with code requirements, installation by a certified electrician is recommended.
- WARNING: To reduce the risk of fire or electric shock, use only the control provided with the fan
- WARNING: To reduce the risk of fire, electric shock, or Personal Injury mount to an outlet box marked “Acceptable For Fan Support of up to 15.9 kg (35 lbs.)”. For outlet box mounting, use mounting screws (and lock washers) provided with the outlet box. Most outlet boxes commonly used for the support of light fixtures are not acceptable for fan support and may need to be replaced. Due to the complexity of the installation of this fan, a qualified licensed electrician is strongly recommended.
- WARNING: Chemical Burn Hazard. Keep batteries away from children.; and
This product contains a lithium button/coin cell battery. If a new or used lithium button/coin cell battery is swallowed or enters the body, it can cause severe internal burns and can lead to death in as little as 2 hours. Always completely secure the battery compartment. If the battery compartment does not close securely, stop using the product, remove the batteries, and keep it away from children. If you think batteries might have been swallowed or placed inside any part of the body, seek immediate medical attention.
a) The cells shall be disposed of properly, including keeping them away from children; and
b) Even used cells may cause injury. - 1All wiring must be in accordance with the National Electrical Code ANSI/NFPA 70 and local electrical codes. Electrical installation should be performed by a qualified licensed electrician. 56″ Tranquil / 56″ Tranquil Weather+ | 3
- The outlet box and support structure must be securely mounted and capable of reliably supporting a minimum of 15.9 kg (35 pounds). Use only cULus Listed outlet boxes marked “FOR FAN SUPPORT”.
- WARNING: TO REDUCE THE RISK OF FIRE, ELECTRIC SHOCK OR PERSONAL INJURY, MOUNT FAN TO OUTLET BOX MARKED “ACCEPTABLE FOR FAN SUPPORT”.
- Avoid placing objects in the path of the blades.
- To avoid personal injury or damage to the fan and other items, be cautious when working around or cleaning the fan.
- To operate the reverse function on this fan, press the reverse button while the fan is running.
- Make sure the installation site you choose allows a minimum clearance of 2.1 m (7 feet) from the blades to the floor and at least 30 inches from the ends of the blades to any obstruction.
- WARNING: make sure the power is disconnected before cleaning your fan.
- Do not use water or detergents when cleaning the fan or fan blades. A dry dust cloth or lightly dampened cloth will be suitable for most cleaning.
- After making the electrical connections, spliced conductors should be turned upward and pushed carefully up into outlet box. The wires should be spread apart with the grounded conductor and the equipment grounding conductor on one side of the outlet box and the ungrounded conductor on the other side of the outlet box.
- Electrical diagrams are for reference only. Light kits that are not packed with the fan must be ETL Listed and marked suitable for use with the model fan you are installing. Switches must be ETL General Use Switches. Refer to the Instructions packaged with the light kits and switches for proper assembly.
- All set screws must be checked, and retightened where necessary, before installation.
- The subject fan 310080 and 310130 weight information is as below:
Net Weight : 10.7 keg’s / 23.54 lbs.; Gross Weight: 12 keg’s / 26.4 lbs.
WARNING
TO REDUCE THE RISK OF PERSONAL INJURY, DO NOT BEND THE BLADE BRACKETS DURING ASSEMBLY OR AFTER INSTALLATION.
DO NOT INSERT OBJECTS IN THE PATH OF THE BLADES.
TOOLS AND MATERIALS REQUIRED

- Phillips Screwdriver
- Blade Screwdriver
- 11 mm Wrench
- Step Ladder
- Wire Cutters
PACKAGE CONTENTS

A. Ball/Downrod Assembly
B. Mounting Bracket
C. Canopy
D. Canopy Hole Cover
E. Coupling Cover
F. Motor Assembly
G. Blade (5)
H. Bracket Assembly (5)
I. Light Plate
J. Light Kit
K. Glass Shade
L. Finial Cap
M. Finial
N. Wall Control Unit
Face plate (1); Wall control (1); Receiver(1); Wire Connector (4+9); Short screw (2); Long screw (2);
O. Package hardware
- Safety cable hardware: Wood screw (1); Spring washer (1); Flat washer (1)
- Mounting hardware: Wire Connector (3);
- Blade attachment hardware: Screw (15); Washer (15)
- Light kit attachment hardware: Screw (3)
- Blade bracket attachment hardware: Screw (10)
MOUNTING OPTIONS
If there is not an existing UL (cUL for Canadian Installation) listed mounting box, then read the following instructions. Disconnect the power by removing fuses or turning off circuit breakers.
Secure the outlet box directly to the building structure. Use appropriate fasteners and building materials. The outlet box and its support must be able to fully support the full weight of the fan (up to 15.9kg (35 pounds)). Do not use plastic outlet boxes.
Figures 1, 2 and 3 are examples of different ways to mount the outlet box.

NOTE: If you are installing the ceiling fan on a sloped (vaulted) ceiling, you may need a longer downrod to maintain proper clearance between the tip of the blade and the ceiling. A minimum clearance of 12″ is suggested for optimal operation. NOTE: You must use 12″ or longer downrod for 22° slope (max angle 22°). (Fig. 3)
NOTE: Depending on the location you have selected for installation, you may need to purchase and install a joist hanger for the support of the outlet box. Make sure the joist hanger you purchase has been designed for use with ceiling fans. (Fig. 4)
HANGING THE MOTOR ASSEMBLY
REMEMBER to turn off the power before you begin installation. This is necessary for your safety and also the proper programming of the control system.
To properly install your ceiling fan, follow the steps below.
Step 1. Before attaching fan to outlet box (not included), ensure the outlet box is securely fastened to at least two points to a structural ceiling member (a loose box will cause the fan to wobble). Pass the 120 volt supply wires from the ceiling outlet box through the center of the ceiling mounting bracket. Install mounting bracket to outlet box in ceiling using the screws and washers included with the outlet box. (Fig. 5)
Step 2. Remove the hairpin and clevis pin from the downrod assembly, retain for later use. Remove the hanger ball from the downrod assembly by loosening set screw, removing the cross pin, and sliding ball of the rod. (Fig. 6)
NOTE: Make sure to keep loosened hardware separate to avoid confusion during installation.
Step 3. Loosen the two set screws on the motor coupling. (Fig. 7)
Step 4. Carefully feed fan wires and safety cable up through the downrod. Thread the downrod onto the motor coupling until the clevis pin holes are aligned. Next, replace the clevis pin and hairpin, then tighten both set screws. (Fig. 8)
Step 5. Slip the coupling cover, canopy hole cover and canopy onto the downrod. Carefully reinstall the hanger ball onto the downrod. Make sure the cross pin is in the correct position and the set screw is tight and the wires are not twisted . ( Fig. 9)
CAUTION: Ensure all screws are tight before moving to the next step.
Step 6. Now lift the motor assembly into position and place the hanger ball into the mounting bracket. Rotate until the check tab has dropped into the registration slot and seats firmly. ( Fig. 10) The entire motor body should not rotate if this is done correctly.

WARNING: Failure to properly seat the check tab can damage the ceiling fan during operation.
INSTALLATION OF SAFETY SUPPORT
(required for Canadian installation ONLY)
A safety support cable is provided to help prevent the ceiling fan from failing, please install it as follows.
Step 1. Drive a wood screw and washers into the side of the brace that holds the outlet box. Leave 3mm (1/8″) of space between the support brace and the washer. (Fig. 11)
Step 2. Insert the safety cable through the mounting bracket and one of the holes in the outlet box into the ceiling. Adjust the length of the safety cable to reach the screw and washers by pulling the extra cable through the cable clamp until the overall length is correct, put the end of the cable back through the cable clamp, forming a loop at the end of the cable. Tighten the cable clamp securely. Now, put the loop in the end of the safety cable over the wood screw and under the washer. Tighten the wood screw securely. (Fig. 12)
NOTE: Although the safety support cable is required for Canadian installations only, it’s a good idea to make the attachment with any installation.
ELECTRICAL CONNECTIONS
WARNING: To avoid possible electrical shock, be sure you have turned off the power at the main circuit panel before wiring.
Follow the steps below to connect the fan to your household wiring. Use the wire connectors supplied with your fan. Secure the connectors with electrical tape. Make sure there are no loose wire stands or connections.
WARNING: If your house wires are different colors than referenced in this manual, stop immediately. A professional electrician is recommended to determine proper wiring.
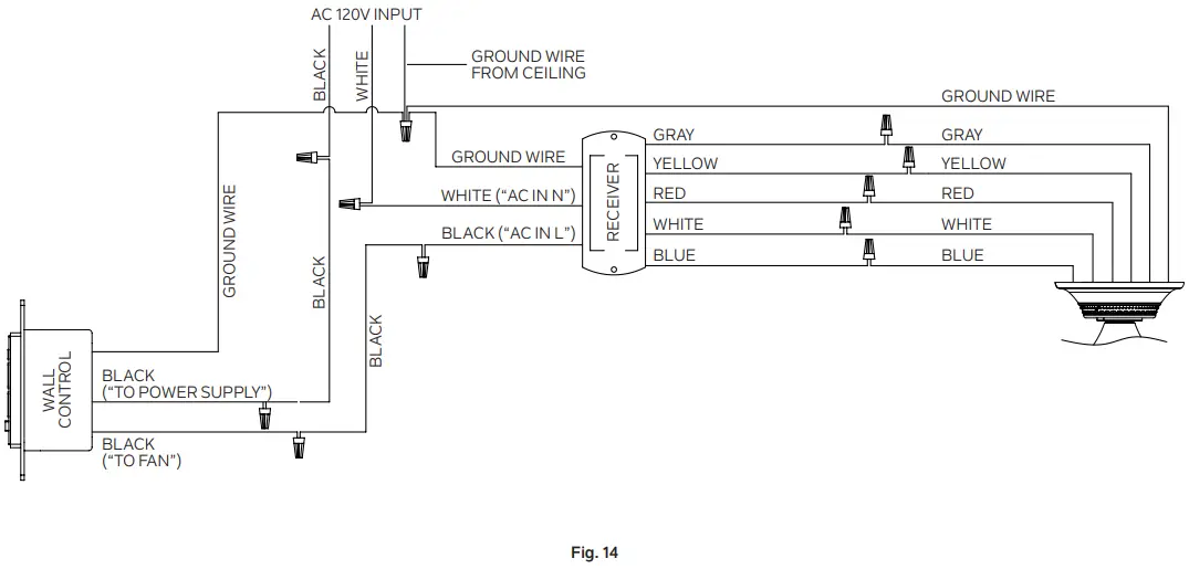
Step 1. Insert the receiver into the mounting bracket, and keep flat in opposition of ceiling. (Fig. 13)
Step 2. Connect wires using the connectors as shown in WIRE DIAGRAM. (Fig.14)
WARNING: Check to see that all connections are tight, including ground, and that no bare wire is visible at the wire connections.
Step 3. After connections have been made, put the white and green leads (green or bare copper) to one side and the black leads towards the other side, the connection should be turned upward and carefully push leads into the outlet box. The wires should be spread apart with the grounded conductor and the equipment-grounding conductor on one side of the outlet box and the ungrounded conductor on the other side.
WIRE DIAGRAM

INSTALLING THE WALL CONTROL
WARNING: All wiring must be in accordance with the National Electrical Code and local electrical codes. Electrical installation should be performed by a qualified licensed electrician.
WARNING: SWITCH INSTALLATION MUST COMPLY WITH ALL LOCAL AND NATIONAL ELECTRIC CODES.
WARNING: Shut off main power at the circuit breaker or fuse panel before continuing.
Step 1. Remove the existing wall plate and switch from the wall outlet box. Disconnect wires from existing switch. (Fig. 15)
Step 2. Install the wall control to the outlet box, connecting the wires with wire connectors provided. (Fig. 16)
- Connect the black wire from the outlet box that supplies power to the wall control to black wire marked “TO POWER SUPPLY” from wall control.
- Connect the black wire from the outlet box that goes to the fan to black wire marked “TO FAN” from wall control.
- Connect the bare copper ground wire from the outlet box to bare copper ground wire from wall control.
- Connect the two white neutral wires in the outlet box together (if not already connected).
Step 3. Secure the wire connectors and make sure there are no loose strands or connections. Carefully tuck wire connections back inside outlet box and secure the wall control to outlet box with screws provided. Secure face plate to wall control using the screws provided.
COMPLETING THE MOTOR INSTALLATION
Step 1. Remove one of the two shoulder screws in the mounting bracket. Loosen the second shoulder screw without fully removing it. (Fig. 17)
Step 2. Assemble canopy by rotating key slot in canopy over shoulder screw in mounting bracket. Reinstall the shoulder screw that was previously removed, then retighten two shoulder screws securely. (Fig. 18)
Step 3. Securely attach and tighten the canopy hole cover over the shoulder screws in the mounting bracket utilizing the keyslot twist-lock feature.(Fig.19)
ATTACHING THE FAN BLADES
CAUTION: To Reduce The Risk Of Electric Shock, Disconnect The Electrical Supply Circuit To The Fan Before Installing Fan Blades.
Step 1. Attach the blades to the bracket assemblies as shown, securely tighten with screws and washers from the hardware pack. (Fig. 20)
Step 2. Slide the blade assemblies into the holes on the flywheel and securely tighten the with the screws from the hardware pack as shown. (Fig.21)
INSTALLING THE LIGHT PLATE
Step 1. Remove the screw marked with a brown dot label on the mounting plate and keep for later use. Loosen the other two (do not remove).(Fig.22)
Step 2. Place the two slot holes on the light plate over the 2 screws previously loosened from the mounting plate. Rotate the light plate until it locks in place at the narrow end of the key holes. Secure by tightening the 2 screws previously loosened and the one previously removed. (Fig. 23)
INSTALLING THE LIGHT KIT AND GLASS SHADE
CAUTION: To Reduce The Risk Of Electric Shock, Disconnect The Electrical Supply Circuit To The Fan Before Installing Light Kit
Step 1. Hold the LED light kit to light plate, then connect the 2 single pin connectors from the light kit to the 2 single pin connectors from the motor assembly. Connect the black wire to the black wire, and white wire to the white wire. Attach the light kit to the light plate and securely tighten with three (3) screws from the screw pack (Fig. 24)
Step 2. Remove and retain the manual nut, metal washer and silicone washer from the threaded rod on the light kit. (Fig. 25)
Step 3. Lift the glass shade up to the light kit, allowing the threaded rod to go through the center hole in the bottom of the glass shade. Place the silicon washer and metal washer over the threaded rod, then screw the manual nut onto the threaded rod until tight. DO NOT OVER-TIGHTEN. (Fig. 25)
Step 4. Install the finial cap and finial onto the threaded rod and tighten securely.
(Fig. 25)
SENSORLESS DC CONTROL PAIRING PROCEDURES
IMPORTANT: Ceiling fan blades MUST be installed before pairing procedure can begin.
Step 1. Press the power button “
” to turn off the wall control (the button will be up). Restore electricity to the ceiling fan branch circuit at the circuit breaker or fuse box. Within 60 seconds of turning on the power, press the “
” power button to turn on the wall control (the button will be down) and then press the “
” reverse button for 3 to 5 seconds. The light will flash twice, and at the same time, the fan will run for a while and then stop. The remote will now be programmed to your fan and ready for use.
IMPORTANT: Do not press any buttons on the remote until after the pairing process is complete. Wait until after the fan has come to a complete stop.
Step 2. Try different speed settings on the wall control to ensure the fan is now fully functional. If programming is unsuccessful, retry the process starting from step 1 again.
OPERATING INSTRUCTION
Press the power button “
”once to turn ON (or OFF) the fan. (Fig. 26)
To set the desired fan speed, press and hold the “
” button to decrease and increase the speed. (Fig. 26)
To turn the light on and off, press and release the light “
” button. To set the light intensity, press and hold the light button. The light will turn on at the light intensity previously selected. (Fig. 26)
REVERSE FUNCTION
To operate the reverse function on this fan, press the “
” reverse button while fan is running. Speed setting for warm or cool weather depends on factors such as the room size, ceiling height, number of fans and so on.
Warm Weather Operation: Forward (counter clockwise).A downward airflow creates a cooling effect (Fig.27). This allows you to set your air conditioner on a warmer setting without affecting your general comfort.
Cool Weather Operation: Reverse (clockwise). An upward airflow moves warm air off of the ceiling (Fig. 28). This allows you to set your heating unit on a cooler setting without affecting your general comfort.
FCC Information
This device complies with part 15 of the FCC Rules. Operation is subject to the following two conditions:
- This device may not cause harmful interference, and
- This device must accept any interference received, including interference that may cause undesired operation.
Note: This equipment has been tested and found to comply with the limits for a Class B digital device, pursuant to part 15 of the
FCC Rules. These limits are designed to provide reasonable protection against harmful interference in a residential installation. This equipment generates, uses and can radiate radio frequency energy and, if not installed and used in accordance with the instructions, may cause harmful interference to radio communications. However, there is no guarantee that interference will not occur in a particular installation. If this equipment does cause harmful interference to radio or television reception, which can be determined by turning the equipment off and on, the user is encouraged to try to correct the interference by one or more of the following measures:
- Reorient or relocate the receiving antenna.
- Increase the separation between the equipment and receiver.
- Connect the equipment into an outlet on a circuit different from that to which the receiver is connected.
- Consult the dealer or an experienced radio/TV technician or help.
TROUBLESHOOTING
| Problem | Solution |
| Fan will not start. |
|
| Fan sounds noisy. |
|
| Fan wobble. |
|
| Remote control malfunction. |
|
CUSTOMER SUPPORT
www.kichler.com
KICHLER LIGHTING LLC
7711 EAST PLEASANT VALLEY ROAD
CLEVELAND, OHIO 44131 CUSTOMER
SERVICE 866.558.5706
8:00 AM TO 5:00 PM EST, MONDAY – FRIDAY
REV. 04-MAR-2022
© Kichler Lighting LLC. All Rights Reserved.




















