Front Break Light
Easy User’s Guide
BL-D100 Front Brake Light
Product warranty
| Device Name | Front Brake Light |
| Model name | BL-D100, BL-M100 |
| Date of purchase date | |
| Warranty period | 1 year from the date of purchase |
| Authenticator trade name | USFBL / KOREA |
| Manufacturer/ Country of Manufacture | United Safety Front Brake Light |
- This product was produced after thorough quality control and inspection. If a failure occurs due to a manufacturing defect, we will provide free warranty service for one year from the date of purchase. However, failure due to user carelessness, disassembly, or other consumer negligence will be subject to the cost incurred even within the warranty period.
- The free warranty period is calculated from the purchase date, and if the purchase date is not confirmed, the warranty date is calculated from the manufacturing date, so please write down the purchase date.
- If you request an warranty, please make sure to provide a warranty.
- A/S inquiry
1.1 Body Components and Names
This product is an LED front brake light that can be used on the front or We’re going to stop the vehicles and pedestrians approaching from the side.
Ali plays a role.
- Main Body
- Controllers
- Stand
1.2 Additional Components and Names
● This manual provides performance improvements (hardware, software product configurations, etc.) without prior consent or notice from individual users for and other reasons.this is subject to change.
Depending on the individual user’s environment, the limitations or use of product performance and functionality It may not be possible.
- Power cable
- Controller cable
- Seager Jack
- Cable clips
- Double-sided tape for fixing the controller
- Simple instruction manual
2.1 Stand firewood
- Remove all double sided tape protective paper from the bottom of the stand.
- Press and hold the stand firmly on the vehicle’s dashboard in the desired position.
※ Attach the rear of the stand so that it is visible from the driver’s seat as shown.
2.2 Assembly of the main body
- As shown in the picture, align the two front hooks on the bottom of the main body with the two front holes on the stand and insert them.
- Position the front and rear hooks of the main body as shown in the figure and press them in the direction of the arrow to combine.
- Only when the front and rear hooks of the main body are coupled as shown in the figure, the main body and the stand are firmly fixed.
2.3 Power Connection - After connecting the power jack and the power cable of the main body, connect them to the seager jack of the vehicle.
※The power jack is located on both sides of the left and right.
※Body separation method
- Remove the rear hook of the main body by rotating it in the direction of the arrow as shown in the figure.

- Remove the rear hook of the main body by rotating it in the direction of the arrow as shown in the figure.

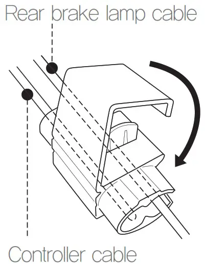
3.1 Connecting Controllers

- After the controller gable is coupled with the controller, it is coupled to the rear brake wire of the vehicle using a cable clip as shown.
- After the controller gable is coupled with the controller, it is coupled to the rear brake wire of the vehicle using a cable clip as shown.

※Cable clip Precautions for use
Insert the rear brake lamp cable and the control cable into the center of the hole of the clip, position the end of the cable as shown in the figure by the control, and fasten the lock in the direction of the arrow. (Can’t be reused when locked)
- Start the vehicle and apply the brake to check if the front LED lamp is working.
- If the brake is not applied for more than 30 minutes, the power is automatically turned off, and when the brake is applied again, the power is automatically turned on and normal operation is performed.
※Precautions
- Do not arbitrarily disassemble, assemble, or modify this product.
- The power cable must be supplied with the product.
- Do not spray water on each part of the product or use wet patches, volatile alcohol, benzene, thinner, etc. when cleaning.
- Stop using the product immediately if there is a strange sound, smell of burning, or smoke inside the product.
- Don’t let children or dogs bite you.
Product specification
| Device Name | Front Brake Light |
| Model name | BL—D100, BL—M 100 |
| Battery | 200mA |
| Rating | BL—D100: 12 V |
| BL—M100: 5 V | |
| Manufacturer | USFBL / Korea |
| Country Made | Made in Korea |
| Assember Name | IK(IT Korea) |
| KC Certification No. | BL—D100: R—R—USb—BL—D100 |
| BL—M100: R—R—USb—BL—M100 | |
| FCC ID | 2A9HA—BD-100 |
| 2A9HA—BM-100 | |
| Questions | 909-274-0290 |
Caution
※ It is very dangerous to attempt to disassemble or repair the product yourself.
Never try to disassemble or repair the product yourself.
※ If you have any questions or need service, please contact our Customer Service Center.
5.1 Automotive Location App_Sensor Registration/ Screen Item Description
- Sensor registration
※What is a sensor?
Refers to the internal sensor of the controller. Sensor registrationis the same behavior as registering a controller.
① Press the Register Sensor button.
② When you select a sensor from the Detected Sensors item, it is automatically registered.
③ Once registered, you will be automatically connected.
※ It automatically connects when the application is running.
※ If you register the same sensor, you will renew the existing one. - Screen Item Description
① Connection status icon
② Display current location
③ Vehicle parking position indication
④ Current Location Icon
⑤ Previous Automobile Location Icon
⑥ Last car location icon - Icon function description
① Red: Disconnected from sensor
Blue: connected to sensor
② Move map to user’s current location
③ Move map to previous parking position
④ Move the map to the last parking position - Map control
○Move Map: Drag or Click with Finger
○Zoom in on the map: Zoom in if you stretch your fingers with two fingers, Zoom in if you narrow your fingers.
○Map rotation: Turn left and right on the screen with two fingers
FCC Compliance Statement
This device complies with part 15 of the FCC rules. Operation is subject to the following two conditions: (1) This device may not cause harmful interference, and (2) this device must accept any interference received, including interference that may cause undesired operation.
FCC Interference Statement
This equipment has been tested and found to comply with the limits for a Class B digital device, pursuant to part 15 of the FCC Rules. These limits are designed to provide reasonable protection against harmful interference in a residential installation. This equipment generates, uses and can radiate radio frequency energy and, if not installed and used in accordance with the instructions, may cause harmful interference to radio communications. However, there is no guarantee that interference will not occur in a particular installation. If this equipment does cause harmful interference to radio or television reception, which can be determined by turning the equipment off and on, the user is encouraged to correct the interference by one of the following measures:
- Reorient or relocate the receiving antenna.
- Increase the separation between the equipment and receiver.
- Connect the equipment into an outlet on a circuit different from which the receiver is connected.
- Consult the dealer or an experienced radio/TV technician for help.
FCC Caution
Any changes or modifications not expressly approved by the party responsible for compliance could void the user’s authority to operate this equipment.
This transmitter must not be co-located or operating in conjunction with any other antenna or transmitter.
FCC Radiation Exposure Statement
This equipment complies with FCC radiation exposure limits set forth for an uncontrolled environment. This equipment should be installed and operated with minimum distance 20 cm between the radiator and your body. This transmitter must not be co-located or operating in conjunction with any other antenna or transmitter.







※What is a sensor?
① Connection status icon
① Red: Disconnected from sensor
○Move Map: Drag or Click with Finger
















