Wireless Speaker Instructions
Dear Customer,
Thank you very much for using our company’s products. In order to enable you to master the performance of the product and the methods of using the product, please read carefully the instructions. The copyright of this manual belongs to the Yindu Electroacoustic co., Ltd. No person may reproduce some or all of the contents of this manual in any way without the permission of the company. Although we have checked this manual carefully, there might still be neglect. Please feel free to report to us and we really appreciate your feedback. If you have comments and suggestions for us, please feel free to contact us. We are more than happy to provide you the quality service and technical guidance.
Speaker Model: YDDSEL01053W
Packing List
- one speaker; 2. one instruction manual; 3. one adapter.
Dos and Don’ts
- For security reasons and the proper functioning of the product, please ask the professional staff to install the product and conduct the commissioning and inspection.
- Please make sure that the power supply is normal. The fluctuations in supply voltage or power supply noise will not only affect the normal use of the transmitter but also cause accidents.
- Please do not carry out operations that are not related to this instruction manual. If you have any questions, please contact us.
- Please use the adapter in the original package, the wrong adapter could cause damage.
- Warranty conditions: Any part that has been proven to be caused by a design defect or technical process defect will be repaired free of charge during the warranty period. The warranty period refers to one year after the date of delivery of the goods. Some alternative parts may be used for maintenance.
- A statement that does not assume security liability: Any quality assurance of the goods that is inconsistent with the stated warranty conditions is outside the scope of this warranty. Any intrinsic warranty regarding the ability and relevance of resale for a particular purpose is outside the scope of this warranty. Any liability for direct or indirect losses occurring outside of external or intrinsic guarantees cannot be assumed. Verbal or written information or notices issued by dealers, issuers, agents or employees without our express permission cannot be a guarantee or in any way increase the scope of the guarantee.
Main Technical Indicators
Power supply: DC15V
Output power: 25 Watts
Total harmonic distortion: 0.03%
Operation temperature: -10 ℃ ~45 ℃
Humidity range: 25%-85%
Net weight: 1.7KG
Product dimensions: 188*142*280mm
Product Introduction
This product is an APE digital decoding and Hi-Fi speaker, it is made of high-quality material. With a 5.5-inch woofer and a 1-inch tweeter, it brings you an excellent audio experience.
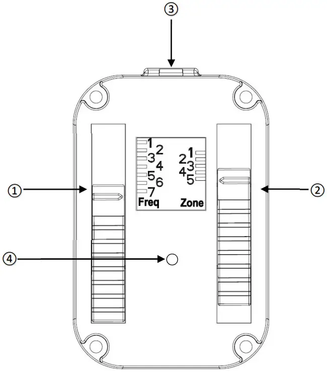
Receiver Introduction
- Frequency switch
- Zone switch
- DC power input
- Power indicator

Transmitter & Speaker Connection Instructions
- Connect the transmitter & speaker on the power grid by using the adapters.
- Turn on the transmitter.
- Press the “Freq+” button on the remote to set a frequency point.
- Set the speaker on the same frequency point by setting the receiver.
- Press the zone select button on the transmitter to turn on the same zone on your speaker.
Speaker Installation Instructions
YDDSEL01053W
- Drill 2 proper holes on the wall and put the expansion bolt in holes.
- Install the bracket on the speaker, adjust the speak to a proper angle, then fasten the screw.
- Install the bracket on the expansion blot and fasten nuts.

FAQ
1. No sound output?
If you can’t turn on the host, check whether the power supply is working properly and whether the power supply is properly plugged in. And if you can turn on the transmitter, check whether the sound is minimized or muted, then press the appropriate button. Check the frequency point and zone setting, and make sure the speaker and the transmitter are on the same channel.
Attention
- If the above method fails to troubleshoot, please go to a nearby agent to seek assistance or call the service department.
- Do not disassemble or repair by yourself.
For technical support, please kindly contact us at [email protected].
















