LED CENTER BASKET TROFFERS
INSTALL INSTRUCTIONS
LED Center Basket Troffers 2×4 34W/38W/45W
PLEASE FIND A QUALIFIED ELECTRICIAN FOR INSTALLATION. Please read the instructions before you install and use the luminaire.
WARNING, CAUTIONS AND OPERATING INSTRUCTIONS
- To reduce the risk of death, personal injury or property damage from fire, electric shock, falling parts, cuts/abrasions, and other hazards read all warnings and instructions included with and on the fixture box and all fixture labels.
- Before installing, servicing, or performing routine maintenance upon this equipment, follow these general precautions.
- Commercial installation, service and maintenance of luminaires should be performed by a qualified licensed electrician.
- For the installation: If you are unsure about the installation or maintenance of the luminaires, consult a qualified licensed electrician and check your local electrical code.
- To prevent wiring damage or abrasion, do not expose wiring to edges of sheet metal or other sharp objects.
- Do not make or alter any open holes in an enclosure of wiring or electrical components during kit installation.
WARNING: RISK OF FIRE OR ELECTRICAL SHOCK
- Turn off electrical power at fuse or circuit breaker box before wiring fixture to the power supply.
- Turn off the power when you perform any maintenance.
- Verify that supply voltage is correct by comparing it with the luminaire label information.
- All wiring connections should be capped with UL approved wire connectors.
CAUTION: RISK OF INJURY
- Avoid direct eye exposure to the un-louvered light source while it is on.
- Account for small parts and destroy packing material, as these may be hazardous to children.
- Risk of burn. Disconnect power and allow fixture to cool before changing bulb or handling fixture.
- Green ground screw provided in proper location. DO NOT RELOCATE.
- Minimum 90° supply connectors.
- Suitable for Dry or Damp locations, Type IC
WARNING – TURN OFF POWER SUPPLY FROM MAIN CIRCUIT BREAKER BEFORE INSTALLING OR SERVICING.
INSTALLATION
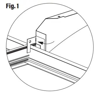
| 1. Bend out mounting tab 90 degrees on each corner. (Fig. 1) | 2. Use side cutters to adjust each tab to height of T-grid. (Fig. 2). |
![]() | ![]() |
| 3. Lay fixture into the T-grid. (Fig. 3) | 4. Bend tabs flush against T-grid in order to clear corner for ceiling tile. (Fig. 4) |
![]() | ![]() |
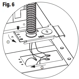
| 5. Use a #8×1/4” sheet metal screw to fasten fixture to T-grid and use a hanger wire to tie off appropriately in accordance with local building codes (screws and hanger wires supplied by installer). (Fig. 5) | 6. Ensure that the wiring of the last fixture in the row is properly terminated. Then make all electrical connections to the fixture. Attach the wiring access cover plate. (Fig. 6) |
![]() | ![]() |
GENERAL WIRING DIAGRAM

WARNING – TURN OFF POWER SUPPLY FROM MAIN CIRCUIT BREAKER BEFORE INSTALLING OR SERVICING.
SPEC-SELECT™ FIXTURES – FIELD ADJUSTABLE WATTAGE & CCT
(If applicable)
The end users may adjust the color temperature and lumen output, respectively, by the two slide switches integrated into the back of the fixture. Each switch has 3 options (left, middle and right ), each position corresponds to 1 of 3 color temperatures (3500K, 4100K, and 5000K) and 1 of 3 wattages, which can be adjusted to the desired combination.
- Switches are located on the back driver compartment. (Fig. 7)
- Select a wattage and color temperature by sliding switch left or right respectively to the desired value. (Fig. 7)

Specifications subject to change without notice. Photos and line drawings may not be to scale and are for general reference only.
























