COSTWAY ES10040US Vertical Garment Steamer User Manual
![]()

THIS INSTRUCTION BOOKLET CONTAINS IMPORTANT SAFETY INFORMATION. PLEASE READ AND KEEP FOR FUTURE REFERENCE.
Please give us a chance to make it right and do better!
Contact our friendly customer service department for help first.
Replacements for missing or damaged parts will be shipped ASAP!
Follow Costway
![]()
Contact Us!
Do NOT return this item.
Contact our friendly customer service department for help first.

Before You Start
Please read all instructions carefully.
Retain instructions for future reference.
Separate and count all parts and hardware.
Read through each step carefully and follow the proper order.
We recommend that, where possible, all items are assembled near to the area in which they will be placed in use, to avoid moving the product unnecessarily once assembled.
Always place the product on a flat, steady and stable surface.
Keep all small parts and packaging materials for this product away from babies and children as they potentially pose a serious choking hazard.
PRODUCT INTRODUCTION
Thanks for choosing us! The working theory of this product is touching the fabric by hot steam at 208°F to soften the fibers, to make the fabric smooth and neat by the movements of pull and press. The fabric steamer can clean, disinfect and remove the smell, it popularly used in the garment shops, hotels, restaurants, home, etc, normally with hanger and hook. Only 45 seconds for heat-up and steam, iron to the fabric, no need ironing board, 60 minutes continuousteam, it helps decrease many traditional ironing steps and save the time. Please use our products without worry, we have double safety protection device auto power-off for over-heat or shortage of water! The product is suitable for the cleanse and ironing of any fibers of the garments, curtains, carpets, bed-sheets, etc, easy-operating, portable and time-saving.
NOTICE
Danger
- Don’t wash under the tap and immerse the machine into water or any liquid;
- Be careful with the hot steam, it may burn the skin.
Caution
- Make sure the power supply corresponds to the power symbol on the product before connecting the power supply, don’t use it with other high voltage appliance under the same power supply.
- Please stop using the machine if any part is obviously damaged: the plug, cord, air hose, water reservoir or he machine.
- Repair the machine in the designated service centre, do not repair by yourself, impropriate repair may result in leakage of electricity or other accident.
- Don’t walk away when the machine is working.
- Make sure the children leave it away, don’t touch heater.
- The sprinkler will get hotter and hotter, don’t touch it to avoid burning.
- Don’t twist the hose and block the steam hole to avoid the accident due to high air pressure.
- Please hold the heat insulation part when hose head is hot.
- Don’t insert hot water into the reservoir.
- Don’t mix any cleaner in water.
- Make sure the plug is off when cleaning or adding water.
Remark
- The outlet demands to connect the ground wire.
- Must be used on the level ground.
- The steam will cool down and condensate in the hose if the hose is in U status, the steam will be interrupted or water drop come out.
- Please power off and unplug after ironing, before cleaning or leaving away for a short while.
USING GUIDANCE
- Make sure the reservoir is full of water on the relative position.
- Controlling the angle of ironing steam by the handle which is the connection between the sprinkler and hose.
- The sprinkler is in the head of the handle, when placed, please put on the hook and keep it upward to avoid hot steam condenses into water droplets.
- The hook can hang the sprinkler as well as clothes to be ironed.
- The steam hose is connected with the main body closely, do not pull it vigorously, otherwise it may cause damage and leakage of steam.
- The steam generator is inside the machine.
- Please raise up the sprinkler timely to stretch the hose if you hear grunt or you see the steam is interrupted.
METHOD OF REMOVING SCALE
Because of the high mineral content of water in many areas, the common problem of garment steamer is sediment accumulation, which remains in hose and causes steaming out irregular or even without steaming. So it needs to be removed periodically (better 15 days), the following is the method:
- Mix the vinegar with water according to the ratio of 1:1 (Fig 1).
- Inject the mixture into the machine from hose connection kit (Fig 2)
- Inject the mixture until reaches the highest water level (Fig 3)
- Press “DESCALING”, the machine will remove scale automatically.
- Wait for 30min.
- Discharge the mixture through the bottom drain (Fig 4).

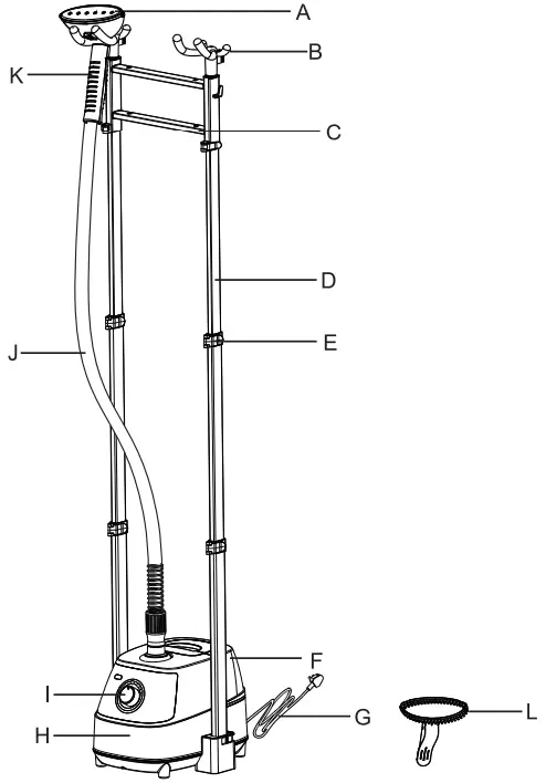
PARTS AND ACCESSORIES

A: Sprinkler
B: Hook
C: Transverse bar
D: Telescopic rods
E: Clip
F: Water tank
G: Power line
H: Main body
I: Knob
J: Steam hose
K: Handle
L: Integrated fabric brush
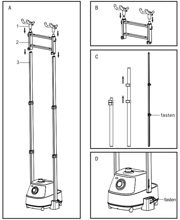
INSTALLATION
Step 1 Install Telescopic Rods and Rook
- Put the main body on the ground.
- Loosen the clip in the side of the main body, insert the telescopic rods into the groove and buckle closely (Fig. D).
- The height of rods is adjustable: loosen the clip, adjust it to the highest position and buckle closely (Fig. C).
- Put the transverse bar into the telescopic rods. It’s well installed when you heard a cracking sound (Fig. A).
- Insert the hooks into the top of the transverse bar (the hooks can move 360° and adjust the angle (Fig. B).

Step 2 Install the steam hose
- Insert the hose into the hole, rotate and tighten it. (Fig. 1 )
- Put sprinkler on the hook. (Fig. 2)

Step 3 Install the brush/pant hook
Install integrated fabric brush or bottom bracket as following if needed:
- Suit the fabric brush or bottom bracket on sprinkler (Fig. 1 and 2).

- Use Demonstration
A. If the clothes has winkle or with dust, can use fabric brush. Do not brush soft cloth, such as silk or satin (Fig. 3).
B: Fix the pants on the transverse bar, put the trousers crease in the middle of brush and sprinkler (Fig.4).
C. Iron slowly and patiently with one hand and straighten the pants with the other to avoid creases.
OPERATION
Step 1 Methods of filling up
- Put the machine on the ground; take out the water tank (Fig.1).
- Unscrew the cap to fill the tank with water (Fig. 2 and 3).
- Tighten the cap after filled with water (Fig. 4).
- Put the full water tank onto the machine, and its outlet should aim at the right position.
NOTICE:- Do not turn on the power before adding water.
- Before using for the first time, please check if the bottom drain is closed.

Step 2 Open the program
- Make sure that the switch has been turned off.
- Please put the machine on a plug in the AC 120V 15 A socket more than qualified.
- Turn on the power switch, power indicator lights to indicate that the machine is started.
- The steaming comes out from the sprinkler after 45s.

PANEL OPERATION
Depending on the actual gear set of the product, the knob is used to adjust to select different powers.
IRONING METHODS
- Leave the steam away from people.
- Don’t touch sprinkler holes when the machine works for a long time, keep 20cm away with body.
- Hose will be getting hotter, it’s normal during ironing.
- Easier removal for the fabric with less wrinkles, meanwhile, thick clothes need more time.
- Level the fabric before starting.
- Fix the hanger or hook before ironing a towel, handkerchief or other soft material.
- Ironing repeatedly for thick fabric.
- The key point of ironing: hold the bottom of the cloth with one hand and pull down with a little stress, pay attention to make the surface flat, using the other hand to press the cloth with steaming sprinkler. The winkle will be removed immediately (Fig. 1 and 2).
- Move the sprinkler upwards from the bottom of the pocket.
- When ironing the sleeves, straighten and iron downwards from its top.
- It may take a longer time when ironing the collar. Please keep ironing up and down with might.
- When ironing clothes edge, hold on one corner, straighten it , and move upwards the sprinkler.
NOTICE: Be careful when ironing the edges of your clothes to avoid burns.

DRAIN THE WATER RESERVOIR AND MACHINE STORE
- Power off. It is normal for steam to spray out within a short period of time after turning off the power.
- Unplug from the outlet.
- Cooling down the machine for 30 minutes at least.
- Open the water reservoir cover and drain the water in the tank. (Fig. 1)
- Loosen the down locknut, take out the rods. Flexible rods length is easy for storing up.
- Loosen the steam hose front end. take out the hose
- Empty the rest water in the steam generator. (Fig.2)
- Stow the machine in a safe and dry position.
Notice: clear and drain the water reservoir and steam generator twice a month. In order to assuring safe operation, please clean the machine and keep it dry after using.

TROUBLESHOOTING
In this page, we have concluded all problems probably happened, please check the machine according to the information below. If you can’t solve the problem by yourself, please contact our customer service.

CIRCUIT DIAGRAM
There’re 3 series of fabric steamer, they are: Double Temperature Control Type, Nimble Type and Digital type. The related circuit diagrams are as below. It’s available to refer to similar type for the following without remarkable circuit diagram.

MODELS & SPECIFICATIONS
You may find the related product specifications on the actual merchandise for the model which is not included in this user’s manual.

Welcome to visit our website and purchase our quality products!
With your inspiring rating, COSTWAY will be more consistent to offer you EASY SHOPPING EXPERIENCE, GOOD PRODUCTS and EFFICIENT SERVICE!
US office: Fontana, California
UK office: Ipswich

* Reward Points
* Exclusive Customer Service
* Personalized Recommendations
* Permanent Shopping Cart
* Order History

We would like to extend our heartfelt thanks to all of our customers for taking time to assemble this product and giving us valuable feedbacks.






















