BLACK DECKER GSTM2050 Garment Steamer

Intended use
Your BLACK+DECKER™ GSTD2050/GSTM2050 garment steamer is intended for steaming fabrics.
Do not use this appliance for any other purpose. This product is intended for indoor household use only.
This appliance is not intended to be used in:-
- Staff kitchen areas in shops,Offices and other working environments;
- Farm houses,
- By clients in hotels, motels and other residential type environments;
- Bed and breakfast type environments or any other non-household environments.
![]() | Read all of this manual carefully before operating the appliance |
Safety instructions
Warning! Read all safety warnings and all instructions. Failure to follow the warnings and instructions listed below may result in electric shock, fire and/or serious injury
- The intended use is described in this manual. The use of any accessory or attachment or the performance of any operation with this appliance other than those recommended in this instruction manual may present arisk of personal injury.
- Retain this manual for future reference.
Using your appliance
- Always take care when using the appliance.
- Never pull the power supply cord to disconnect the plug from the socket. Keep the power supply cord away fromheat, oil and sharp edges.
- Do not place the appliance on or near heat sources.
- Do not use the appliance outdoors.
- Always protect the motor unit from water or excessive humidity.
- If the power supply cord is damaged during use, disconnect the appliance from the power supply immediately. Do not touch the power supply cord before disconnecting from the power supply.
- Disconnect the appliance from the power supply when not in use, before fitting or removing parts and before cleaning.
- Never let the appliance operate unattended.
- Do not let the cord hang over the edge of a table, counter, or touch hot surfaces.
- Fully uncoil then guide the power supply cord neatly so it cannot be caught accidentally, tripped over or cause any other hazzard.
- The appliance must not be located immediately below a socket-outlet.
- To prevent overload and blown fuses, do not plug other appliance into same outlet (receptacle).
- Don’t touch the hot surfaces.
- Always ensure that hands are dry before operating or adjusting any switch on the product or touching the plug and mains supply connections.
- Do not use this appliance with a programmer, timer, separate remote-control system or any other device that switches the appliance on automatically, since a fire risk exists if the appliance is covered or positioned incorrectly.
- Do not store away until the appliance cools down, store the appliance in cool dry location when not in use.
- Always operate on a flat horizontal surface.
- Do not insert or allow foreign objects to enter any ventilation, exhaust opening or hose, as this may cause an electric shock, fire or damage to the appliance.
- To disconnect the appliance, switch it “OFF”, then remove the plug from outlet. Do not pull out the cord because this could damage it.
- The temperature of accessible surfaces may be high during use and for some time afterwards.
- To reduce the risk of electric shock, do not immerse the appliance in water or other liquids.
- Do not allow cord to touch hot surfaces. Let appliance cool completely before storing away. Loop cord loosely around appliance when storing.
- Do not direct steam at people or animals, or use steamer on garments while they are being worn.
- Always disconnect appliance from electrical outlet when filling with water, emptying, cleaning or when not in use.
- Do not operate appliance with a damaged cord, or if the appliance has been dropped or damaged. To reduce the risk of electrical shock, do not disassemble or attempt to repair the appliance, take it to a qualified service person for examination and repair. Incorrect reassembly or repair could cause a risk of fire, electric shock, or injury to persons when the appliance is used.
- Close supervision is required for any appliance used by or near children. Do not leave the appliance unattended while connected.
- Always switch the appliance off and disconnect from the mains before leaving for any amount of time.
- Burns could occur from touching hot metal parts, hot water or steam. Use care when you empty a steam appliance, there may be hot water in the tank or inside the appliance.
- Fill water in water tank only and remove the water tank only when it is empty.
- Never drop or insert any object into any opening or hose.
- Always keep the hose and nozzle elevated above the water tank
- Steam only in an up and down vertical motion. Never use steamer in a horizontal position or tilt into a backward position, this may result in hot water discharge.
- Do not place the steam nozzle directly on any surface or the appliance power cord while it is hot or plugged in. Use the stand provided.
- Use caution when changing attachments, as they may contain hot water from condensation. Ensure the attachments are cooled off to avoid contact with hot water.
- The use of accessory attachments other than those provided by BLACK+DECKER is not recommended and may result in fire, electric shock or personal injury.
- This unit is for indoor use only.
- Do not cut or attempt to extend the steaming hose.
- To prevent the appliance over heating, when you hang clothes on garment hook for removing winkle, please assemble all attached garment telescopic rod and extend it at highest position.
- Do not put perfume, vinegar, starch, descaling agents, ironing aids or other chemicals or additives in the water tank.
- To protect against the risk of electric shock, DO NOT IMMERSE the appliance, cord set or plug in water or other liquids.
- Care should be taken when using the appliance, due to the emission of steam. · Unplug the appliance before filling or cleaning.
- the product must be attended when in use.
- Do not use without the flexible hose or steam head fitted.
Safety of others
- This appliance is not intended for use by persons (including children) with reduced physical, sensory or mental capabilities, or lack of experience and knowledge, unless they have been given supervision or instruction concerning the use of the appliance by a person responsible for their safety.”
- “Children should be supervised to ensure that they do not play with the appliance.”
- “If the supply cord is damaged, it must be replaced by the manufacturer, its service agent or similarly qualified persons in order to avoid a hazard.
Caution! Some parts of this product can become very hot and cause burns. Particular attention has to be given where children and vulnerable people are present. - Children should be supervised to ensure that they do not play with the appliance.
After use
- Remove the plug from the socket before leaving the appliance unattended and before changing, cleaning or inspecting any parts of the appliance.
- When not in use, the appliance should be stored in a dry place. Children should not have access to stored appliances.
Inspection and repairs
- Switch off the appliance before cleaning, changing accessories or approaching parts which move in use.
- Before use, check the appliance for damaged or defective parts. Check for breakage of parts, damage to switches and any other conditions that may affect its operation.
- Do not use the appliance if any part is damaged or defective.
- Have any damaged or defective parts repaired or replaced by an authorised repair agent.
- Before use, check the power supply cord for signs of damage, ageing and wear.
- Do not use the appliance if the power supply cord or mains plug is damaged or defective.
- If the power supply cord or mains plug is damaged or defective it must be repaired by an authorised repair agent in order to avoid a hazard. Do not cut the power supply cord and do not attempt to repair it yourself.
- Never attempt to remove or replace any parts other than those specified in this manual.
Electrical safety
This product must be earthed. Always check that the mains voltage corresponds to the voltage on the rating plate
- Appliance plugs must match the outlet. Never modify the plug in any way.
- Do not use any adapter plugs with earthed (Class 1) appliances. Unmodified plugs and matching outlets will reduce the risk of electric shock.
- To avoid the risk of electric shock, do not immerse the cord, plug or motor unit in water or other liquid.
Extension cables & class 1 product
- A 3 core cable must be used as your tool is earthed and of class 1 construction.
- Up to 30m (100 ft) can be used without loss of power.
- If the supply cord is damaged, it must be replaced by the manufacturer or an authorised BLACK+DECKER Service Centre in order to avoid a hazard.
Labels on Appliance
The following pictograms along with the date code are shown on the appliance:
Warning! Hot surface.
Features

This tool includes some or all of the following features.
- Steam head
- Steam head hanger
- Clothes hanger
- Trouser hanger
- Flexible hose 6
- Adjustable pole
- Pole locking clamp
- Control panel
- Water tank
- Base
- Hose connector
- Heat resistant glove
- Collar board
- Seam clamp
- Brush
- Back board
Assembly
Warning! The appliance must be disconnected from the mains before any assembly, cleaning or maintenance.
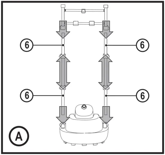
- Insert the adjustable poles (6) into the top of the base unit (10).
- Insert the clothes hanger (3) and trouser hanger (4) assembly into the top adustable pole as shown in figure A.
- Turn the base locking clamps (6a) to the lock position at as shown in figure B.
- Once you are happy with the desired height, turn the pole locking clamps (7) to the lock position as shown in figure C.
- Insert the steam head hanger (2) into the top of the clothes hanger assembly (3) and push down until secure as shown in figure D.




Use
- Insert the flexible hose (5) coupling into the hose connector (11). Push it down firmly and rotate it clockwise to lock it in place as shown in figure E.
- Lift the water tank (9) away from the base (10) as shown in figure F.
- Undo the water tank valve (9a) by turning anti clockwise as shown in figure G.
- Fill the water tank (9).
- Re-fit the valve (9a).



Warning! Do not put perfume, vinegar, starch, descaling agents, ironing aids or other chemicals or additives in the water tank.
Note: It is recommended to use purified water or filtered water, which makes the Garment Steamer more durable. - Replace the the water tank (9) and connect to a power source as shown in figure I.


GSTM2050 (Fig. J)
- Rotate the knob clockwise, and start the machine.
- Choose different functions by adjusting the knob.
- The stream reaches maximum on the very right and minimum on the very left.

GSTD2050 (Fig. K)
- Press the “Power” button to start the machine.
- Press in the “Function” button to select the appropriate function.

Attaching accessories (Fig. L, M)
- Snap the brush (15) top end on the upper edge of the steam head (1), and push downwards until it clicks into place securely (Fig. L).
- Snap the seam clamp (14) top end on the upper edge of the steam head (1), and push downwards until it clicks into place securely (Fig. M).
- To dismantle, follow these steps in reverse.


Tips for optimum use
- Steam only in an up and down vertical motion.
- Never use steamer in a horizontal position or tilt into a backward position, this may result in hot water discharge (Fig.N).
- Heat resistant glove may help to prevent from burns.
- The brush accessorry (15) can be used for removing fluff (Fig O1).
- The collar board (13) can be used for steaming collars (Fig. O2).
- Use the backboard (16) to add a stable backdrop for larger garments (Fig. O3).
- Use the seam clamp (14) to produce crisp seams in trousers etc. (Fig. O3).


Mains plug replacement
If a new mains plug needs to be fitted:
- Safely dispose of the old plug.
- Connect the brown lead to the live terminal of the new plug.
- Connect the blue lead to the neutral terminal.
- If the product is class l (earthed), connect the green / yellow lead to the earth terminal.
Warning! If your product is class ll double insulated (only 2 wires in the cord set), no connection is to be made to the earth terminal.
Follow the fitting instructions supplied with good quality plugs.
Any replacement fuse must be of the same rating as the original fuse supplied with the product.
Cleaning and maintenance & storage
Warning! Before cleaning and maintenance, switch the appliance off and remove the plug from the socket.
Warning! Do not immerse the appliance or the cord set or the plug in water or any other liquid.
- Clean the accessories in the usual way in soapy water.
- Do not use solvents or other corrosive chemicals or vapours for cleaning this appliance.
Protecting the environment
Separate collection. This product must not be disposed of with normal household waste.
Should you find one day that your BLACK+DECKER product needs replacement, or if it is of no further use to you, do not dispose of it with other household waste. Make this product available for separate collection.
- BLACK+DECKER provides a facility for recycling BLACK+DECKER products once they have reached the end of their working life. This service is provided free of charge. To take advantage of this service please return your product to any authorised repair agent who will collect them on our behalf.
- You can check the location of your nearest authorised repair agent by contacting your local BLACK+DECKER office at the address indicated in this manual. Alternatively, a list of authorized BLACK+DECKER repair agents and full details of our after-sales service and contact are available on the Internet at: www.2helpU.com.
Warranty
BLACK+DECKER is confident of the quality of its products and offers an outstanding warranty.
This warranty statement is in addition to and in no way prejudices your statutory rights. If a BLACK+DECKER product becomes defective due to faulty materials, workmanship or lack of conformity, within 24 months from the date of purchase, BLACK+DECKER warranty to replace defective parts, repair products subjected to fair wear and tear or replace such products to ensure minimum inconvenience to the customer unless:
- The product has been used for trade, professional or hire purposes;
- The product has been subjected to misuse or neglect;
- The product has sustained damage through foreign objects, substances or accidents;
- Repairs have been attempted by persons other than authorised repair agents or BLACK+DECKER service staff.
To claim on the warranty, you will need to submit proof of purchase to the seller or an authorised repair agent. You can check the location of your nearest authorised repair agent by contacting your local BLACK+DECKER office at the address indicated in this manual. Alternatively, a list of authorised BLACK+DECKER repair agents and full details of our after-sales service and contacts
WARRANTY REGISTRATION CARD




































