
INSTALLATION
GUIDE
Söll Vi-Go
Vertical Arrest System
Söll Vi-Go Miller Vi-Go™ Vertical Ladder Climbing Cable System
![]() | ![]() |
![]() | ![]() |
![]() | ![]() |
![]() | ![]() |
INSTRUCTIONS FOR USE
Söll Vi-Go – Vertical Arrest System
GENERAL INFORMATION
1. 1 TECHNICAL DATA
| Maximum rope length | 200 m (696 ft) |
| Fixing span | We recommend a maximum fixing span of 10 m (33 ft) for internal ladders and a maximum 3 to 4 m (10 to 13 ft) for external fall protection systems respectively. |
| Maximum number of users | 3; depending on the load-bearing capacity of the substructure |
The safety distance between the users must not be less than 3 m (10 ft).
The maximum dynamic load in case of a fall from a height is 6 kN (1345.8 lbf) for one person and + 1 kN (224.8 lbf) for every additional person, using the system.
Every user of the Söll Vi-Go vertical arrest system must read and understand this guide before using the system. Actions contravening this guide may put people’s lives at risk. Users must be trained based on the operating instructions and this user information before starting work and at regular intervals, however, they must be trained no less frequently than once per year.
The operating company of the Söll Vi-Go vertical arrest system and the user of the fall arrester must ensure that this guide is kept along with the corresponding fall arrester on a dry and readily accessible place. The Söll Vi-Go vertical arrest system must be used only with fall arresters of Söll Vi-Go vertical systems depending on cable diameter and type of the intermediate brackets used as follows.
| Tab 1.1 | Söll Vi-Go systems compatibility | |||
| Arrester | 8 mm (5/16″) cable 9×17 | 10 mm (3/8″) cable 9×17 | Automatic bracket | Manual bracket |
| VC300 | √ | √ | ||
| VC300-3/8R | √ | √ | ||
| VC500 | √ | √ | √ | |
| Vi-Go | √ | √ | √ | √ |
The operating company must present this guide at the request of the manufacturer Honeywell Fall Protection Deutschland GmbH & Co. KG or one of its authorized dealers).It must be supplied with the adequate fall arresters of Söll Vi-Go vertical arrest systems. The fall arrester that comes with the Söll Vi-Go system must be operated only in original Söll Vi-Go fall protection systems that have the Söll Vi-Go type ANSI/CSA prototype test certificate. Using systems of other manufacturers may hamper the functioning of the fall arrester. In such cases, Honeywell Fall Protection Deutschland GmbH & Co. KG and its authorized dealers shall refuse product liability. The operating company shall then be completely responsible. The fall protection system must be used only in conjunction with full-body harnesses that have been checked and approved in accordance with ANSI Z359.11/CSA Z259.10 and are equipped with a climbing attachment point. The fall arrester of the Söll Vi-Go vertical arrest system must always be attached to the climbing attachment point of the full-body harness. The fall protection system must be handled with care. The rope attachment points of the Vi-Go system must not be used as a transport anchor or for fastening loads. The functional capability of the system must be inspected visually before and while using the installed fall protection system. The operating company of the fall protection system must ensure that a rescue plan (that takes into account all possible emergencies which may occur when working) is available. Operating temperature: –40 °C to +70°C (-40 °F to +158 °F); here, ensure that the system is free of greases, oils, and ice. The user must be in good health and must not be under the influence of alcohol, drugs or medicines. Corresponding instructions must be followed if other personal protective equipment is used. The checklist (page 88) must be filled by the manager of the installation company completely and properly using an indelible pen. In the case of a test mass of 100 kg (220 lbs) and a situation where the falling factor is 2 (conditions of the most unfavorable fall), a height of at least 2.0 m (6.6 ft) is required below the user’s feet.
Important!
Before using the fall protection system, ensure that the required free space of 2.0 m (6.6 ft) under the user’s feet is available. The user may not be sufficiently protected against hitting the ground or obstacles if he/she is at a height of less than 2.0 m (6.6 ft).
1. 2 PRINCIPLE SKETCH OF THE SÖLL Vi-Go VERTICAL ARREST SYSTEM (See Fig.1)
- Manual Intermediate bracket Galvanized Steel(VGMB-3/8-GS) / Manual Intermediate bracket Stainless Steel (VGMB-3/8-SS)
- Universal Top Rung Brack Galvanized steel (VGTB-GS) / Universal Top Rung Brack Stainless steel (VGTB-SS)
- Heavy Duty Tensioner Galvanized steel (VGBB-3/8-GS) / Heavy Duty Tensioner (VGBB-3/8-SS)
1. 3 PRINCIPLE SKETCH OF THE SÖLL Vi-Go VERTICAL ARREST SYSTEM WITH THE EXTENSION POST (See Fig. 2)
1) Platform Extension Galvanized Steel (VGPE-GS) / Platform Extension Stainless Steel (VGPE-SS)
1. 4 INSTALLATION
The Söll Vi-Go vertical arrest system is installed vertically on ladders.
The following parameters must be kept in mind during installation:
- Maximum rope length (200 m (696 ft))
- Adequate rope tension (1400 to 1600N / 314 to 360 lbf); The tension reading on the rope tensioner must be between the minimum and maximum markings.
- Stability of the substructure
- The maximum angle of the cable installation is 15° from the vertical.
- Maximum number of simultaneous users who are secured against falling by the system (see the ID plate)
- The maximum distance between two intermediate brackets is 10 m (33 ft). The intermediate brackets reduce and limit the deflections of the steel cable. The deflection of the system depends on the total length and wind speed. To avoid damage, the intermediate brackets must ensure that the cable is not touching the construction.
- For longer systems and in regions with high wind speeds, we recommend shorter distances between the intermediate brackets.
− Systems length up to 55 m (180 ft), 4 m (13 ft) between the intermediate brackets.
− Systems length more than 55 m (180 ft), 3 m (10 ft) between the intermediate brackets.
− If the wind speed is more than 130 km/h (80 mph), 3 m (10 ft) between the intermediate brackets. - These are recommendations. If the cable is not touching the steel structure, the maximum distance between the intermediates can be used.
- The height below the user’s feet when using the fall protection system: 2.0 m (6.6 ft)
- The upper rope anchor point must always be above the person to be secured.
An overview of components is given below (see Fig.3):
- Guided type fall arrester
- Cable tensioner
- Steel cable
- Universal Rung Bracket
- Cable terminal
- Manual intermediate bracket
1. 5 SUBSTRUCTURE
Before installation, check whether the component on which the Söll Vi-Go vertical arrest system is to be fixed can withstand the loads resulting from a fall (stability certificate). A qualified engineer must certify this. The following characteristic loads resulting from the dynamic loads due to a fall, user loads and dead-weights of system components serve as the basis for the stability certificate: For fastening the upper end of the cable; loads working vertically downwards:
| Number of simultaneous users | 1 | 2 | 3 |
| Characteristic vertical load Fc1 | 10.0 kN / 2,248 lbf | 10.5 kN / 3,397 lbf | 11.5 kN / 2,547 lbf |
| Characteristic vertical load with safety factor k=1.5 | 15.0 kN / 3,372 lbf | 16.0 kN / 3,596 lbf | 17.0 kN / 3,821 lbf |
For fastening the intermediate bracket and the lower end of the cable, independent of the number of users, effective in each direction:
Fc2 = 1.5 kN / 337 lbf
Warning!
The cable end attachments must always be fastened on sufficiently dimensioned substructures.
1. 6 ADDITIONAL EQUIPMENT
In addition to the fall arrester of the Söll Vi-Go vertical arrest system, the users must be equipped with personal protective equipment (PPE) compliant with the prevailing norms so that they can use the Söll Vi-Go vertical arrest system safely:
- One full-body harness tested as per ANSI Z359.11 / CSA Z259.10 and equipped with a climbing attachment point
- One self-locking ANSI Z359.12 / CSA Z259.12 compliant connector
1. 7 REFERENCES TO STANDARDS
The Söll Vi-Go vertical arrest system complies with the ANSI A14.3/ CSA Z259.2.5 standard.
The Extension Post of the Söll Vi-Go vertical arrest system has been approved as a single anchorage point for one person.
1. 8 OPERATING CONDITIONS
The cable, the cable tension, the fall arrester, the intermediate fixings and the carabiners must be checked for their usability before every use.
If defects are identified or there is any doubt regarding the flawless condition, the fall protection system must be checked by an expert and the parts must be replaced if required. Before and while climbing, safe and effective implementation of rescue measures must be ensured.
The fall arrester of Söll Vi-Go vertical arrest system should not be left on the system. The flawless functioning of the shuttle, especially whether it properly locks on the cable, must be checked before every use. Every user must be secured with a separate fall arrester of the Söll Vi-Go vertical arrest system.
In conjunction with the full body harness, the fall protection system secures the users against falling when climbing or descending. When working in or next to the ascent route and during jobs and actions that are not a part of the usual ascent and descent movements, the climber must additionally secure himself/herself with a lanyard in accordance with ANSI Z359.11/ CSA Z259.11 or a lanyard for safety harness in accordance with ANSI Z359.3/ CSA Z259.1. This is also applicable for idle positions that are intended to be a break on the fall arrest ladder. Only suitable anchor devices must be used for this. In all these situations, the lanyard must be held tight in order to prevent a fall. Check the specifications on the ID plate affixed on the system to determine the maximum number of users.
Important!
An ANSI A14.3/ CSA Z259.2.5 compliant fall protection system should be used by only those persons who are trained and/or are experts or who are directly supervised by a trained and/or expert person.
1. 9 QUALITY CHECKS AND WARRANTY
All parts of the Söll Vi-Go vertical arrest system have been manufactured in compliance with ISO 9001 quality checks and ISO 14001 environment management. Individual identification of all Vi-Go components guarantees their complete traceability. In the delivery condition, all metallic parts of the fall protection system are made of galvanized or stainless steel. A warranty of two years against manufacturing defects is given under normal operating conditions (an exceptionally corrosive atmosphere can reduce this period). In case of any doubt, please contact Honeywell Fall Protection. The warranty period starts on the date on which the installer hands over the Söll Vi-Go vertical arrest system to the owner. The installer is under obligation to maintain the documentation of handing over the fall protection system. The manufacturer’s warranty for the parts shall be void if the installation is improper or does not comply with the installation instructions prescribed by Honeywell Fall Protection. The manufacturer’s warranty does not cover the replacement of damaged parts due to a fall or any other improper use.
Note: Honeywell Fall Protection does not bear any warranty for the installation of the fall protection system.
INSTALLING THE FALL PROTECTION SYSTEM
2. 1 TOOL
Minimum tools required for installing the Söll Vi-Go fall protection system:
- 19 mm (3/4’’) spanner
- open ring wrench
- 19 mm (3/4’’) open spanner
- ratchet including 10 mm (3/8″) and 17 mm (11/16”) socket
- torque spanner
- cable cutter
- swaging machine 700 bar (10.15 ksi) hydraulic or 130 kN (29,255 lbf) electric
- adhesive tape for marking the crimping length
- hot air stream, an alternative lighter for fixing the shrink-fit hose
2. 2 BASIC PRINCIPLES
At least two persons are required for installing the Söll Vi-Go vertical arrest system. When installing, all measures must be taken for preventing the tools and system parts from falling.
2. 3 STARTING THE INSTALLATION
Checking the dimensions and measurements: Before starting work on the construction site, dimensions specified in the installation plan must be checked (e.g. total length of the fall protection system, distances between the end and intermediate brackets, etc.).
2. 4 DESCRIPTION OF INSTALLATION
2. 4. 1 INSTALLING THE RUNG CLAMPS
It must be ensured that the rung fastening is fixed perpendicular to the rungs.
Assembly (Fig. 4)
- Hexagon head screw, M12x40 (7/16″-14×2″)
- Large washer, 13 (7/16″)
- Washer, 13 (7/16″)
- Sleeve
- Nut, M12 (7/16″-14), self-securing
- U bolt M10 (3/8”-16 x 1-1/2” x 2-1/2”)
- Washer, 10.5 (3/8″)
- Nut, M10 (3/8″-16), self-securing
- Rung Bracket
Installation
For installing the rung clamps, place the rung bracket (9) on the rungs and fix it on the U-Bolts (6) behind the rungs. For this, insert the washers (7) and tighten the M10 (3/8″-16) nuts (8). For tightening the self-securing nuts, we recommend a tightening torque of 40 Nm (29.5 lbf*ft) for steel ladders and 20 Nm (14.75 lbf*ft) for aluminum ladders.
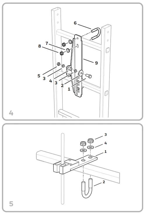
2. 4. 2 INSTALLING THE INTERMEDIATE BRACKETS
INTERMEDIATE BRACKET
Assembly (Fig. 5)
- Manual bracket
- U bolt M10 (3/8”-16 x 1-1/2” x 2-1/2”)
- Nut, M10 (3/8″-16), self-securing
- Washer, 10.5 (3/8”)
Installation
Align the intermediate bracket such that the cable guide is parallel to the cable and the arrow as shown in Figure 5.
Place the bracket (1) onto a rung with and insert a properly tensioned cable into a bracket slot. Adjust the position of the bracket so the cable is kept straight. Guide the M10 (3/8”-16 x 1-1/2” x 2-1/2”) U bolt (2) through the provided holes, insert the washers (4) and tighten the M10 (3/8″-16) nuts (3).
2. 4. 3 INSTALLING THE CABLE TENSIONER
Assembly (Fig.6)
Installation
Install the mounting plate (1) (Figure 6) using the U-bolts (2), washer (3), and nut (4). Turn the nut (11) and nut (12) to place them on the bottom end of the threaded rod (5) (The parts (8), (9), (10), (11), and (12) are already mounted on the threaded rod (5)). Unbolt the nuts (7) from u-bolts (8) and secure them. Lift the threaded rod to the utmost position. Tighten the rope (13) by hand and secure it to the threaded rod (5) by nuts (7) and u-bolts (8). Tighten the nuts (7).
Note: Before making a cable end (using a cable end part for crimping or screwing or using clamps) and hanging it in the lower fastening point, ensure that it is pushed through the cable guides of all the intermediate brackets that are provided.
Tighten the long nut (11) until the large washer (9) is aligned with a recess in the Mounting plate (1) as (Fig 7). Tighten the counter nut (12) against the long nut (11). The cable will then be adequately pre-tensioned with 1500 N (337 lbf).
Note: The rope of a vertical cable system must be installed with a specific cable pre-tension to ensure that the shuttle functions. For the Söll Vi-Go vertical arrest system, the prescribed pre-tension is 1500 N (+/- 100 N) (337 lbf +/-22lbf).
2. 4. 4 INSTALLING THE CABLE FACTORY-FITTED (Fig. 8)
CABLE CRIMPING
The cable end is crimped in the factory. The cable crimping is normally used only as the upper cable end.
CABLE END PART FOR CRIMPING
Assembly (Fig.9)
Installation (Fig.10)
Crimping the end piece on the cable is a critical process when installing the fall protection system. The strength of the fall protection system largely depends on the quality of the crimping. We, therefore, recommend adhering to the following suggestions: Crimping should preferably be done on the ground and, if possible, before transporting the cable to the installation site. A hexagon head crimping tool is used for crimping. Distances between the crimpings must be maintained (see figure 15). Insert the cable end in the cable end part to be crimped and mark the cable at the beginning of the cable end part using adhesive tape. Then check the length of the cable to be crimped. It must be a minimum of 75 mm (2.9″). Then reinsert the cable into the cable end piece to be crimped up to the marking (adhesive tape).
Hold the cable end part in the press and actuate the press. Repeat this process two more times and ensure that the required distance of 10 mm (3/8″) between the crimpings is maintained.
Important: After every crimping, slip the indicator ring on the cable so that the loads can be checked later. Slide the ring on the cable before crimping.
If there is any doubt regarding the crimping quality, repeat the process using a new cable and a new part to be crimped.
Note: Never use an already crimped part again.
SWAGELESS CABLE END
Assembly (Fig. 11)
Installation
First, slide the jaw housing (5) over the steel cable (6). Then slide the jaws (4) over the cable at regular intervals and place the pressure ring (3) on the cable. Ensure that the distance between the pressure ring (3) and the end of the cable is 5 mm (1/4”). Slide the jaw housing (5) over the jaws (4), and screw the eye bolt (1) and the locknut (2) into the jaw housing (5). Now unscrew the locknut and check the cable position. Add silicon if the waterproof attribute is required. If the cable is in the incorrect position, repeat whole process. At the end tighten the locknut (2) using a key to 58Nm (42.775 lbf*ft).
CABLE END WITH CABLE GRIPS
Assembly (Fig.12)
Installation
Four cable grips and one thimble are required for making a cable loop (see figure 12). Lay the rope (1) around the thimble (2) to make a loop and join both rope strings using cable grips. Guide the U-bolt (3) enclosing both ends through the holes provided in the block (4), insert the washers (5), and tighten the M5 nuts (6).
Always ensure that the operating cable is mounted next to the blocks and that the free- end of the cable is mounted next to the U-bolts. The distance between the cable clamps should be 6 to 8-times the cable diameter (60 to 80 mm (2.4” to 3”)). After preparing the cable loops, cover both the rope ends with a shrink-fit hose (Ø 9,5 mm (3/8″) for an 8 mm (5/16″) cable and Ø 12,7 mm (1/2″) for a 10 mm (3/8″) cable)(Fig. 13).
2. 4. 5 INSTALLING THE EXTENSION POST
The Söll Vi-Go Extension Post is a EN 353-1:2014 compliant vertical fall protection system and permitted for a maximum of four users.
In addition, the Extension Post is certified as a single anchorage point for one person. The large eye of the post (13 in figure 14) serves as the anchorage point, providing fall protection when transferring to and from the system. When used as a single anchorage point, a maximum of one user and a maximum anchoring force of 22 kN (4,945 lbs) are permitted. The single anchorage point can also be used for anchoring the rescue devices.
2. 4. 6 Assembly (Fig. 14)
2. 4. 7Installation
Fix the Extension Post using the rear clamps and the front plates. Fix the upper fastening point to the uppermost ladder rung and the lower fastening point to the fifth rung from the top. (Fig. 15) The distance between the top ladder rung and the top end of the Extension Post should be a maximum of 1310 mm (4.3 ft). If the Extension Post is mounted on an aluminum ladder, use M16 (3/4’’-11) threaded bars to strengthen the ladder rungs on which the upper and lower fastening points of the Extension Post are located. Guide the threaded rod (2) through the corresponding rung (1) and fix it on both sides using washers (3) and M16 (3/4’’-11) nuts (4).(Fig. 16) Use the rear clamp (3) to fasten the lower end of the Extension Post (figure 22). Guide it on the rung from behind and fix it using the M10 hexagon head screws (4), washers (5) and the M10 (3/8″-16) nuts (6). Then fasten the Extension Post on the top rung of the ladder and on the third rung from top as shown in figure 18. Fix the front plate (7) on the Extension Post (1) from the front. Use the M10 (3/8″-16) hexagon head screws (4), washers (5) and nuts (6) for connecting it to the rear clamp (3) provided behind the rung. In order to fasten the upper cable end, insert the sleeve (11) into the rope eye and fix the rope on the attachment point (2) using the M12 (7/16”-14) hexagon head screw (8), the large washer (9), the two small washers (10) and the M12 (7/16”-14) nut (12) as shown in figure 19..
MAINTENANCE
3. 1 ACCEPTANCE
CHECKLIST FOR ACCEPTANCE
Söll Vi-Go vertical arrest system compliant with ANSI A14.3. The site manager of the installation company must fill the checklist completely using an indelible pen. The site manager is responsible for the correctness of all data. If a checkpoint is answered with “no”, it must be clarified in the “comments” section in the list on page 38.
3. 2 REGULAR INSPECTION
A fall protection system subjected to a fall may be used again only after examination by a Competent Person. The fall arrester check/acceptance sheet must be sent to the manufacturer’s workshop for checking and maintenance. Depending on the application and operating conditions, a Competent Person must check the fall protection system for its flawless condition as and when required, and at least once a year. It may be repaired only in the manufacturer’s workshop owing to safety reasons. A Competent Person is: “a person who has adequate knowledge in the area of personal safety equipment for protection against falling owing to his/her technical education (e.g. participation in and successful completion of a training program) and experience and who is knowledgeable about the prevailing national industrial safety regulations, accident prevention regulations, guidelines and generally accepted technical standards (e.g. standards, -specifications, technical regulations) to such an extent that he/she can assess the safe working condition and proper use of personal safety equipment for protection against falls from a height.” To check the fall arrester of Söll Vi-Go vertical arrest system functionality refer the User Guide of appropriate Fall Arrester.
3. 3 STORING THE SHUTTLE
Proper care of your PPE will ensure the longer life of the product and your safety. Be sure to adhere strictly to these guidelines: Clean with water and mild soap. Do not use any solvents or acid/alkaline-containing cleansing agents under any circumstances. Allow drying naturally in a well-ventilated area away from any open fire or other sources of heat. Do not wash it with a quick cleaner, thinner or degreaser containing trichloroethane. Do not use grease.
The fall arrester of Söll Vi-Go vertical arrest system that comes with the Söll Vi-Go system should be cleaned, should be as dry and dust-free as possible, and should be stored in a cool place.
3. 4 LIFESPAN
The maximum life of PPE that is predominantly metal is evaluated as being unlimited but, but, this maximal life is reduced to 10 years after the date of manufacture for non-opening products. However, there are factors that can considerably reduce the strength of the product and shorten its life: incorrect storage, incorrect use, fall arrest, mechanical deformation, product fall from a height, wear, electric conductivity, contact with chemical products (acids and alkalis) or sharp edges, exposure to strong sources of heat > 70°C (158 °F), UVs, abrasion, etc. If your PPE has been exposed to any of the foregoing conditions, inspect it to ensure that it remains in flawless condition.
INDEX OF PARTS
For further information about the product and reference numbers of spare parts please visit our website.
https://safety.honeywell.com/en-us/products/by-category/fall-protection/vertical-systems
SÖLL VI-GO – VERTICAL ARREST SYSTEM CHECK/ACCEPTANCE SHEET
- OPERATING COMPANY
- INSTALLATION COMPANY
NAME:……………….
ADDRESS:…………………
HANDED OVER TO: (Operating company or its representative)(Name, signature):……………………………….
DATE:……………….
NEXT VERIFICATION ON: (IN 1 YEAR):……………………- CHECKLIST (please put a tickmark):
- The fall arrester has been checked for perfect functioning.
- The upper cable anchor point is always above the person to be secured.
- All screws on the Söll Vi-Go vertical arrest system have been tightened firmly.
- All screw joints of the ladder are firm.
- Only anti-corrosive screw connections have been used.
- The cable is adequately pre-tensioned. (See the cable tensioner)
- ID plate is clearly visible.
- A trial run has been carried out.
- This guide has been handed over to the operating company.
- Only the components of Honeywell Fall Protection Deutschland GmbH & Co. KG have been used (except for the dowels for concrete).
COMMENTS
PRODUCT MARKING
SYSTEM ID PLATE
A: The name, trademark or any other means of identifying the manufacturer or the supplier
B: The product description and its reference
C: This product is compliant with the following standards and norms
D: The manufacturer’s instructions supplied with this product at the time of shipment must be followed.
FAILURE TO DO SO MAY RESULT IN SERIOUS INJURY OR DEATH!
E: System capacity rating
F: The number of users attached to the system must not exceed
G: Cable diameter
H: Intermediate, pass-through bracket
I: Punch date of installation/inspection
J: Month of installation/inspection
K: Year of installation/inspection
L: Manufacturer’s address
Söll Vi-Go Vertical Arrest System
CUSTOMER SERVICE CONTACT
Americas
9680 Old Bailes Rd,
Fort Mill, SC 29707
United States of America
E-mail: [email protected]
Tel: +1 (803) 835-8000
HONEYWELL PERSONAL PROTECTIVE EQUIPMENT
US Customer Service
Tel: +1 800 430 5490
Fax: +1 800 322 1330
Canada Customer Service
Tel: +1 888 212 7233
Fax: +1 888 667 8477
https://safety.honeywell.com/
Honeywell Industrial Safety
96080 Old Bailes Road, Fort Mill,
SC, 29707 U.S.A.
www.safety.honeywell.com
Made in USA
MFP972023 | Rev B | 5/2021
© 2021 Honeywell International Inc.

























