Honeywell VC300 Cable Sleeves

GENERAL INFORMATION
Normative references
This product addresses the below list of standards and directives. It is the user’s responsibility to comply with relevant standards addressed in this manual.
Standards/directives reference groups below are applicable according to the market. E.g. if product is used in United States (US) user must be compliant with US standards/directives and all other standards mentioned in user guide are not relevant.
European Standards:
EN 353-1:2014+A1:2017-Personal fall protection equipment-Guided type fall arresters including an anchor line-Part 1: Guided type fall arresters including a rigid anchor line
EN 361-Personal protective equipment against falls from a height – Full body harnesses
EN 355-Personal protective equipment against falls from a height-Energy absorbers
EN 358-Personal protective equipment for work positioning and prevention of falls from a height- Belts for work positioning and restraint and work positioning lanyards
CNB/P/11.119 – PPE Regulation (EU) 2016/425
American Standards and Regulations:
ANSI-ASC A14.3-2008-Ladders-Fixed-Safety Requirements
ANSI Z359.11-Safety Requirements for Full Body Harness
Canadian Standards
Z259.2.5.17 Fall Arresters and vertical lifelines
Z259.10-18 Full Body Harnesses
Z259.11-17 Personal Energy Absorbers and Lanyards
SAFETY PRECAUTIONS
Anyone working with or on the Honeywell Miller Vi-Go vertical arrest system must be familiarized with these instructions prior to using the system. Use which is not in accordance with these instructions constitutes a risk to human life. Operatives must be given training covering these instructions and the user information before starting work and at regular intervals thereafter, no less frequently than once per year.
If the product is sold outside the first country of destination, the reseller must ensure that the product is compliant with the laws applicable in that country and provide instructions for the product in the appropriate language.
The operator of the Miller Vi-Go vertical arrest system as well as the user of the fall arrester must properly ensure that this manual is always stored in a dry place together with the appropriate fall arrester and is available for consultation at all times.
The operating company must present this instruction manual at the request of the manufacturer (HONEYWELL FALL PROTECTION Deutschland GmbH & Co. KG or one of its authorized dealers). National regulations on accident prevention and use of safety equipment for construction work must be adhered to.
The guided type fall arrester that comes with the Honeywell Miller Vi-Go vertical arrest system is an integral part of the safe-climbing system in compliance with EN 353-1:2014 +A1:2017, CSA Z259.2.5-12 and ANSI A14.3-2008 and is designed for use as personal safety equipment. To ensure proper use of the Honeywell Miller Vi-Go vertical arrest system, the operator must ensure that the full body harness and the fall arrester are used according to these instructions. After use, the fall arrester must not be left connected to the safe climbing system. The fall arrester that comes with the Miller Vi-Go vertical arrest system must be operated only in original Honeywell Miller Vi-Go vertical arrest system.
The safe climbing system must be used only in conjunction with full body harnesses that have been checked and approved in accordance with EN 361; ANSI Z359.11; CSA Z259.10-18 and are equipped with a front attachment point.
The conjunction between fall arrester and full body harness is effected through connecting the karabiner hook of the fall arrester with a certified anchorage ring (marked with “A”) at the front of the full body harness. The distance between the fall arrester and fully body harness must not be minimized and enlarged (e.g. by adding or removing a connector).
A maximum of three users may simultaneously protect themselves against falling from a height using the Miller Vi-Go vertical arrest system. The distance between the users must not be less than 3 m /10 ft (Fig.1). The actual number of users depends on the load-bearing capacity of the base structure. Maximum 3 persons can use the Miller Vi-Go vertical arrest system with platform support. If the platform support is used as anchor device maximal 2 persons are allowed.
The minimal load of the user excluding clothes and equipment is 50 kg/110 lb. The maximal load of the user including clothes and equipment is 140 kg/308 lb and must not be exceeded. The guided type fall arrester that comes with the Miller Vi-Go vertical arrest system must always be directly attached to the front attachment point of the full body harness.
The guided type fall arrester shall not be used for work positioning. If the work positioning is required, a separate system shall be used.
To ensure the safety of the user in case of a fall, fall arrester must not be used by hand but it has to move freely on the guided type fall arrester.
The fixation points for the cable of the Miller Vi-Go vertical arrest system must not be used for securing loads. Before and during the use of the installed fall protection system, the system must be visually inspected to ensure that it is operating properly.
Working temperature –40 °C to +70°C/ -40 °F to 158 °F; ensure that the system is free of grease, oil and ice.
The operator must be in good health and must not be under the influence of alcohol, drugs or medicines.
With a weight of 100 kg/220 lb and fall factor 2 situation (worst-case scenario) the height required under the feet of the user is at least 3 m/10 ft.
Important!
The user may be not be sufficiently protected against hitting the ground or obstacles if at a height of less than 3 m/10 ft. Before using the safe-climbing system, ensure that there is the required free space under the user’s feet.
Warning: Before using this fall arrester, it is imperative that you read and understand this instruction manual and any additional instructions provided during training or given with the related system.
Warning: Any alterations or additions to the Miller VC300 arrester without the manufacturer’s written approval may prevent the fall arrester from properly functioning and are therefore prohibited.
SYSTEM
Important! The Miller VC300 arrester must be used only with a Vi-Go Cable Arrest System with manual pass-through brackets. For further information see the system installation guide.
ANCHOR DEVICE EXTENSION POST
The Honeywell Miller Vi-Go extension post is a certified anchor point for fall protection for 2 persons in accordance to EN 795. The eye of the anchor steel plate (pos. 1) serves as anchor point. Therefore it is possible when you are changing from vertical to horizontal to protect you against falling.
The characteristic load affecting the extension post must not exceed 22 kN/4945.8 lbf under any circumstances.
Please pay attention to the safe standing of the user when working in dangerous areas. Tripping points in the entrance and working area have to be avoided.
Functional capability of the system has to be inspected visually before and while using the installed fall protection system.
Warning!
The anchor device must no longer be used anymore if the anchor eye was charged by a fall. In this case the anchor device has to be checked by a competent person and changed if necessary. The anchor device Honeywell Miller Vi-Go extension post may only be used in combination with the following safety equipment:
- falling hazard fall arrest system in accordance to EN 363 and energy absorber EN 355
- rescue systems in accordance to EN 1496, 1479 and 1498
The system of the personal protective equipment against falling (only with energy absorber) or rescue system must be chosen that a collision of the user with the ground or collision with other bars can be avoided. For that the information for use of the manufacturer must be checked.
In order to secure against fall from a height, the karabiner hook (pos.1) of the lanyard has to be installed on the eye of the anchor steel plate (pos. 2) and locked to avoid unintended disconnecting.(Fig.3)


Danger! The karabiner hook of the lanyard must not disconnect from the anchor device before the user is protected by another solution against a fall.
USE
Important!
Inspection before climbing:
- Before each use, inspect the cable, the cable tension, the fall arrester, the intermediate fixings and the karabiners for usability.
- The fall arrest system must not be used if defects have been noted or in case of doubts as to its proper function. Before further use, an inspection by a competent person is needed or the defective parts must be replaced.
- Before and during use it should be planned how to affect a rescue safely and effectively.
Each user must secure themselves to a separate fall arrester.
The fall arrester, properly used in connection with a full body harness, protects its user during ascent and descent against falls.
When working in or next to the ascent route and during jobs and actions that are not a part of the usual ascent and descent movements, the climber must additionally secure themselves with a lanyard in accordance with EN 354 or a lanyard for safety harness in accordance with EN 358. (Securing with an anchor device). This is also applicable for idle positions that are intended to be a break on the fall arrest ladder. Only suitable anchor devices must be used for this. In all these situations, the lanyard must be held tight in order to prevent a fall.
Important! The Miller VC300 arrester must be used only with systems with an inclination 15° max. from the vertical in all directions.
Important! A fall arrester according to EN 353-1:2014+A1:2017, CSA Z259.2.5-12 and ANSI A14.3-2008 shall be used only by persons who:
- have been trained or are otherwise authorized
- are supervised directly by a trained or competent person.
Connection to the system:
- The guided type fall arrester that comes with the Honeywell Miller Vi-Go vertical arrest system is a cable-guided fall arrester with an integrated shock absorber, which permits use without opening the fall protection system.
- The design allows fixing on an 10 mm/ 0.375 in strong steel cable. The fall arrester has an „anti-inversion“ mechanism, which prevents the fall arrester from being incorrectly attached to the cable.
Connecting the fall arrester to the full body harness:
- Pull-down the knurled bushing (Fig. 4) of the karabiner.
- Then turn the knurled bushing and press it inwards.
- Attach it directly in the attachment point of the full body harness.
- Release the knurled bushing. It locks automatically.

Danger!
An unsecured karabiner (open knurled bushing) is dangerous to human life.
The abdominal or thoracic strap of the full body harness must fit the body tightly (see Fig. 4).
Danger!
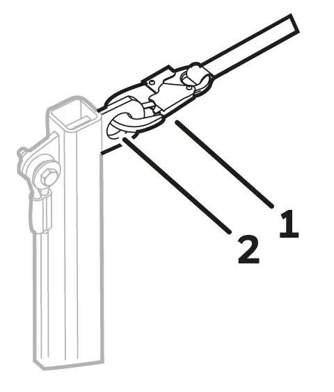
The karabiner of the fall arrester must be directly inserted into the front chest attachment point (1) of the full body harness (Fig.5).
Inserting in the guiding cable (see Fig. 6)



- Press the lock knobs (1).
- With the lock knob pressed, push the karabiner with a braking lever (2) up until the lock is in open position.
- Through the now-open gap in the casing of the shuttle, place the shuttle on the cable such that the arrow on the casing points upward.
- Release the braking lever (2) and the lock knob (1).
- The Miller Vi-Go vertical arrest system system is now connected to the guide cable.
- Check whether the shuttle can freely slide vertically on the guide cable.
- Check the functioning of the locking and catch mechanism by moving the braking lever (2).
- Check if the locking mechanism is in the locked position (see Fig.7).

Removing the fall arrester from the guide
Warning!
Before removing the fall arrester from the guide cable or detaching from the harness, users must be secured and protected against a fall from height otherwise!
Fall protection must be ensured in another way before removing the fall arrester from the guide cable:
- Press the lock knobs with one hand (1).
- Push the karabiner with a braking lever up until the lock is in open position.
- Through the now-open gap in the casing of the shuttle, remove the shuttle.
- Release the braking lever (2) and the lock knob (1).
INSPECTION AND MAINTENANCE
The user must check the legibility of the product labels before each use.
A fall arrester which has arrested a person’s fall from a height must not be used again until a competent person has agreed on its further use. If no competent person is available, the fall arrester must be returned to the manufacturer or authorized dealer for inspection together with these instructions.
Depending on use requirements and operational conditions, the fall arrester must be inspected by a competent person for unimpaired condition to ensure it is in perfect working condition as required, but no less frequently than once a year. For reasons of safety the fall arrester may only be repaired by the manufacturer.
Authorized person is a:
person, who due to his training and experience in the field of personal protective equipment against falls from height, has sufficient knowledge about applicable state and local safety regulations, applicable standards (e.g. EN-standards) and is thus capable and thus authorized by Honeywell of judging the correct status and use of systems and products against falls from height.
Warning!
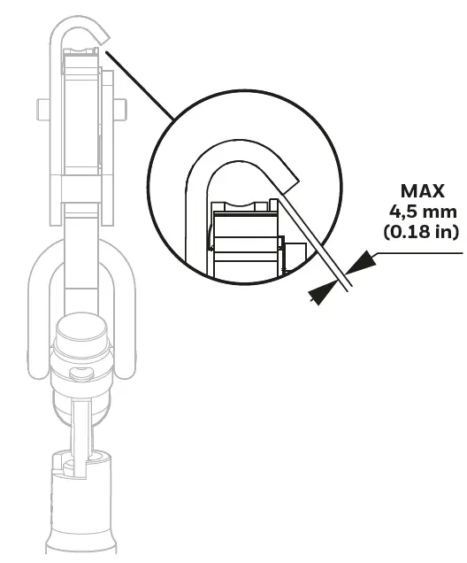
The gap between the Locking mechanism and the shuttle casing must not be more than 4.5 mm/0.18 in (See Fig. 8). If this value is exceeded, the fall arrester must be sent back to the manufacturer for revision.

Warning!
The gap between the absorber loops must be less than 2 mm/0.08 in (See Fig. 9). If this value is exceeded, the fall arrester must be sent back to the manufacturer for revision.


TRANSPORT AND STORAGE
Proper storage of your PPE will ensure better product longevity and ensure your safety. During transport and storage, make sure your PPE is placed away from heat sources, humidity, corrosive atmosphere, ultraviolet rays, etc. and protect your PPE from any impact or excessive vibration.
CLEANING
Proper care of your PPE will ensure longer life of the product and your safety. Be sure to adhere strictly to these guidelines: Clean with water and mild soap. Do not use any solvents or acid/alkaline-containing cleansing agents under any circumstances. Allow to dry naturally in a well-ventilated area away from any open fire or other sources of heat.
LIFESPAN
The operating lifetime of the fall arrester depends on the frequency of use and the operating conditions. During yearly inspection carried out by an authorised person or body the fall arrester will be only released for further use if the product and its components are in good condition.
RFID TAG
This unit incorporates a RFID (Radio Frequency Identification) tag that can be used for asset tracking. The RFID allows for quick field inspections, and specifies information including model number, date of manufacture, inspection/lot number, length, and standards met. This information varies from model to model. In addition to the type of reader and the RFID tag, optimal RFID reading distance varies depending on the reader, tag orientation, and the material.
RFID SPECIFICATION
- the RFID reader must be Ultra High Frequency (UHF)
- RFID Operating frequency in the range 860-960 MHz
- RF Air Protocol: EPC CLASS 1 GEN 2; ISO18000-6C
LIST OF PRODUCTS AND POSITION OF THE RFID TAG
RFID tag is placed on the back plate of the shuttle – see Product marking. Products which cannot be tagged with RFID label contain 2D bar codes instead for reading the Unique Identification Number (UID).
USE/OPERATION
The Personel Protective Equipment (PPE) you have just received, is equipped with a RFID tag containing unique identification number in form of Electronic Product Code (EPC). With this unique number, you can find product related information in Safety Suite software. Please follow the link below for more information on Safety Suite.
https://www.honeywellaidc.com/solutions/connected-worker/safety-suite
RECOMMENDATIONS
After cleaning your PPE, please scan your RFID tag to verify that it has not been damaged.
ENVIRONMENTAL PROTECTION
The WEEE Symbol indicates that this product may not be treated as household waste. By ensuring this product is disposed of correctly, you will help protect the environment. For more detailed information about recycling this product, please contact your local authority, your household/industrial waste disposal service provider or the point of sale of the product.
PRODUCT MARKING

A: The name, trademark or any other means of identifying the manufacturer or the supplier
B: Product name
C: Use with Honeywell rigid achor line only D: Compatible guide rails
E: Product should be inspected before each use
*F: Reference to North American standards compliance
G: Automatic locking machanism, sternal attachement
*H: Reference to the ANSI standard compliance
I: Standardized pictogram informing the user to read the instructions
J: Minimal permissible load capacity K: Country of origin
L: Marking indicating correct orientation of the shuttle when used
*M: Product carries the RFID tag
N: CE mark – CExxxx: EC logo followed by the number of the organization notified to monitor the production
O: Number of the European conformity standards and their years
P: Do not use with lanyard
Q: Maximal permissible load capacity
R: WEEE symbol indicating separate collection for Waste of Electrical and Electronic Equipment
S: Batch or serial number T: Patents website
U: Manufacturing date MM/YY; product reference number
V: Manufacturer’s website
W: Diameter of the compatible cable
* If the marking is not present, the explanation does not apply

ANCHOR DEVICE MARKING

A: The name, trademark or any other means of identifying the manufacturer or the supplier
B: Product name
C: Reference to North American standards compliance
D: Warning: Manufacturer’s instructions supplied with this product at the time of shipment must be followed. FAILURE TO DO SO MAY RESULT IN SERIOUS INJURY OR DEATH!
E: System capacity rating
F: Numbers of users attached to system must not exceed:
G: Cable diameter
H: Intermediate, pass-through bracket I: Punch date of installation/inspection J: Manufacturer and its address
IDENTIFICATION SHEET
Individual protection equipment identification sheet
- Equipment Type
- Model Identification
- Manufacturer
- Brand
- Serial n°
- Date of manufacture
- Purchase date
- Date of first use
INSPECTION SHEET
INSPECTION LOGBOOK
- Date
- Reason (periodic examination or repair)
- Faults noticed, repairs carried out, remarks
- Name and signature of the competent person
- Anticipated date for next periodic examination
- Remarks
CUSTOMER SERVICE CONTACT
Americas
1345 15th St
Franklin, PA 16323
United States of America
E-mail: [email protected]
Tel: +1 8008 735 242
North and Central Europe
Honeywell Fall Protection Deutschland
GmbH & Co. KG,
Seligenweg 10, D-95028 Hof
Germany
E-mail: [email protected]
Tel: +49 (0) 928 183 020
Honeywell Fall Protection Deutschland GmbH & Co. KG,
Seligenweg 10, D-95028 Hof
Germany
www.safety.honeywell.com
Made in Slovakia
90027217 | Rev B | 4/2021
© 2021 Honeywell International Inc.




















