Muscle Rack ERX2472-4 4 Level Welded Storage

Safety Instructions
Follow these instructions carefully, failure to do so can result in property damage or personal injuries. Caution: contains small parts, keep children away during installation. This unit should be placed on a level surface. Failure to do so can result in poor product performance or create a possible safety hazard. This unit should be securely anchored to a wall or floor with suitable fasteners, not included. Use care when working with metal parts. Wear gloves for protection.
DO NOT STAND ON ANY PART OF THE UNIT,
OR USE IT AS A LADDER.
Do not store aquariums on this unit.
Always evenly distribute the weight on each level and keep the heavier loads on the bottom. Do not exceed the following weight capacities:
- Maximum shelf weight capacity: 2,000 lb. (908 kg), evenly distributed.
- Maximum total unit weight capacity: 8,000 lb. (3,629 kg), evenly distributed.
- Concentrated load capacity: 165 lbs. (75 kg) per square foot.
Do not use this unit for anything other than the manufacture’s intended purpose. Keep this manual for future reference.
General Instructions
Before beginning assembly, read through all instructions and make sure all parts are present. Assembly of this unit is done by fitting the inside bracket tabs of the beam ends into the post slots of the end frames. The bracket tabs should engage and fit firmly into the tapered slot of the post frame. This engagement is a tight swaged fit and will apply resistance as it fully engages. A visual inspection should be made to show that the bracket is properly engaged in the slot.
A rubber mallet should be used on the ledge of the beams to properly seat the beam bracket tabs. If a hammer is used care should be taken to protect the beam surface to avoid damage by using a protective cloth or block of wood.
The stepped surface of the beam ledge is the top, and should face upwards. This is the surface that the wire deck will rest on.
The beam will have small rounded holes on the top ledge and long slotted holes on the bottom ledge. The long slotted holes will be used to secure the tie channel to the beams.
After assembly re-check each beam for proper engagement.
Contents
Description | Quantity | Part Number |
| A: end frame | 2 | ERZFRM7224BLK |
B: beam | 8 | ERZBM72BLKN |
| C: tie channel | 12 | ERZ24TB-V6 |
D: wire deck | 4 | WD2472-BLK |
| Hardware Kit: Includes (16) plastic push clips (E), (24) nuts & bolt | ||
Components

Items you might find helpful
Rubber Mallet,
Screwdriver, Wrench,
Gloves
Warranty
Edsal Manufacturing Company, LLC. products are guaranteed for a period of one (1) year from the date of purchase. The SOLE AND EXCLUSIVE REMEDY for such defects is the repair or replacement of a defective product or parts thereof by Edsal Manufacturing Company, LLC. or, at Edsal Manufacturing Company, LLC option, refund of the purchase price upon return of the item to Edsal Manufacturing Company, LLC. This warranty shall not apply in the event the products are damaged as a result of misuse, neglect, accident, moisture, improper application, improper assembly, or assembly not in conformity with the instructions of Edsal Manufacturing Company, LLC., failure to abide by safety precautions prescribed by Edsal Manufacturing Company, LLC or modification or repair by persons not authorized by Edsal Manufacturing Company, LLC.
Assembly Instructions
- Attach two (2) beams (B) to the end frame posts (A) starting at the bottom level to establish the left and the right sides of the units (see figure 1). Be sure the tapered end of the post slots are facing down and the long slotted holes on the ledge of the beam are facing the bottom when assembling. After the beams have been placed in both end frame post slots (front and back), tap the beam down at both ends with a rubber mallet to help drive the inside beam bracket tabs into the slots to secure the connection. Continue assembling each level from bottom to top level (front and back). If the beam bracket tabs become bent due to mishandling, it may be necessary to adjust the tabs back to their proper form.

- Even though the levels can be adjusted to any height, it is recommended the four (4) levels be evenly spaced for maximum stability (see figure 2).

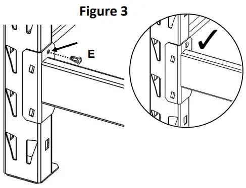
- After all levels have been assembled, place a plastic push clip (E) into the hole of each of the beam end bracket, then tap the plastic clip with a mallet to drive it into the square hole of the end frame post to secure the beam to the end frame (see figure 3).

- Insert three (3) tie channels (C) on each level by aligning the bottom holes located on both ends of the tie channel to the long slotted holes on the inside bottom ledge of the beams. Use the nuts and bolts provided to properly fasten the tie channel to the beam on both ends (see figure 4).

- Finally insert a wire deck (D) on each level (figure 5). Assembly is now complete.

Customer Support
Questions, problems, missing parts or need help with assembly? Contact us for assistance:
Chat: www.edsal.com
Email: [email protected]
Phone: 773-475-3131
To obtain replacement parts please provide: Model Number, Part Number & Description, Location Purchased, and Date Purchased
Edsal Manufacturing Co. LLC
Chicago, IL 60609
US Patents & Patents Pending




















