Built-in Electric Oven
MO5BL
INSTRUCTION MANUAL

Read these instructions carefully before using your gas cooker, and keep it carefully.
The oven photo is only for reference, there might little different for different models.
SAFETY INFORMATION
▲ ACKNOWLEDGMENT
Thank you for purchasing our product. We hope you enjoy using the many features and benefits it provides.
Before using this product please study this entire Instruction Manual carefully. Keep this manual in a safe place for future reference. Ensure that other people using the product are familiar with these instructions as well.
▲ WARNING
- When the oven is first switched on, it may give off an unpleasant smell. This is due to the bonding agent used for the insulating panels within the oven. Please run up the new empty product with the conventional cooking function, 250 ℃, 90 minutes to clean oil impurities inside the cavity.
- During the first use, it is completely normal that there will be slight smoke and odors. If it does occur, you merely have to wait for the smell to clear before putting food into the oven.
- Please use the product in an open environment.
- The appliance and its accessible parts become hot during use. Care should be taken to avoid touching heating elements. Children less than 8 years of age shall be kept away unless continuously supervised.
- If the surface is cracked, switch off the appliance to avoid the possibility of electric shock.
- This appliance can be used by children aged 8 years and above and persons with reduced physical, sensory or mental capabilities or lack of experience and knowledge if they have been given supervision or instruction concerning the use of the appliance in a safe way and understand the hazards involved.
Children shall not play with the appliance. Cleaning and user maintenance shall not be made by children without supervision. - During use, the appliance becomes very hot. Care should be taken to avoid touching heating elements inside the oven.
- Do not allow children to go near the oven when it is operating, especially when the grill is on.
- Ensure that the appliance is switched off before replacing the oven lamp to avoid the possibility of electric shock.
- The means for disconnection must be incorporated into the fixed wiring in accordance with the wiring specifications.
- Children should be supervised to ensure that they do not play with the appliance.
- This appliance is not intended for use by persons (including children) with reduced physical, sensory or mental capabilities, or lack of experience and knowledge unless they have been given supervision or instruction concerning the use of the appliance by a person responsible for their safety.
- Accessible parts may become hot during use. Young children should be kept away.
- An all-pole disconnection means must be incorporated into the fixed wiring in accordance with the wiring rules.
- If the supply cord is damaged, it must be replaced by the manufacturer, its service agent, or similarly qualified persons in order to avoid a hazard.
- Do not use harsh abrasive cleaners or sharp metal scrapers to clean the oven door glass since they can scratch the surface, which may result in the shattering of the glass.
- A steam cleaner is not to be used.
- The appliances are not intended to be operated by means of an external timer or separate remote-control system.
- The instructions for ovens that have shelves shall include details indicating the correct installations of the shelves.
▲ SAFETY HINTS
- Do not use the oven unless you are wearing something on your feet. Do not touch the oven with wet or damp hands or feet.
- For oven: Oven door should not be opened often during the cooking period.
- The appliance must be installed by an authorized technician and put into use. The producer is not responsible for any damage that might be caused by defective placement, and installation by unauthorized personnel.
- When the door or drawer of the oven is open do not leave anything on it, you may unbalance your appliance or break the door.
- Some parts of an appliance may keep their heat for a long time; it is required to wait for it to cool down before touching onto the points that are exposed to the heat directly.
- If you will not use the appliance for a long time, it is advised to plug it off.
▲ FITTING THE OVEN INTO THE KITCHEN UNIT
Fit the oven into the space provided in the kitchen unit; it may be fitted underneath a worktop or into an upright cupboard. Fix the oven in position by screwing it into place, using the two fixing holes in the frame. To locate the fixing holes, open the oven door and look inside. To allow adequate ventilation, the measurements, and distances were adhered to when fixing the oven.
▲ IMPORTANT
If the oven is to work properly, the kitchen housing must be suitable. The panels of the kitchen unit that are next to the oven must be made of a heat-resistant material. Ensure that the glues of units that are made of veneered wood can withstand temperatures of at least 120 ℃. Plastics or glues that cannot withstand such temperatures will melt and deform the unit, once the oven has been lodged inside the unit, electrical parts must be completely insulated. This is a legal safety requirement. All guards must be firmly fixed into place so that it is impossible to remove them without using special tools. Remove the back of the kitchen unit to ensure an adequate current of air circulates around the oven. The hob must have a rear gap of at least 45 mm.
▲ DECLARATION OF COMPLIANCE
When you have unpacked the oven, make sure that it has not been damaged in any way. If you have any doubts at all, do not use it: contact a professionally qualified person. Keep packing materials such as plastic bags, polystyrene, or nails out of the reach of children because these are dangerous to children.
HOW TO USE
- To set functions by turning the function knob to the desired level.
- To set the temperature by turning the temperature knob. If the unit is not in use, always set the knobs to “0”.
PRODUCT DESCRIPTION

| Symbol | Function description |
![]() | Oven Lamp: This enables the user to observe the progress of cooking without opening the door. |
![]() | Defrost: The circulation of air at room temperature enables quicker thawing of frozen food, (without the use of any heat). It’s a gentle but quick way to speed up the defrosting time and thawing of ready-made dishes and cream-filled produce etc. |
![]() | Convection: Warm air heated by the rear heater is evenly distributed throughout the oven very fast by means of the fan. This results in a faster and more economical cooking process. The convection allows food to be cooked simultaneously on different shelves. |
![]() | Grilling with a fan: The inner grill element works with the fan. |
![]() | Radiant grilling: The inner grill element switches on and off to maintain temperature. Best results can be obtained by using the top shelf for small items and lower shelves for large items. |
OPERATION INSTRUCTION
When the oven is first connected to the electrical supply, wait for the display automatically show ” 12.30 “, a beep sound once and the ” 12 ” ” . ” flash. Ensure the correct time of the day is set before using the oven. Please note: that is a 24-hour clock, for example, 2 PM is shown as 14.00.
▲ To set the correct time of day
- Press the ” + ” ” – ” button to adjust the hour setting.
- Press ”
” to confirm the hour setting. - Press the ” + ” ” – ” button to adjust the minute setting.
- Press ”
” to confirm the minute setting and the timer will be in standby mode.
Note: If the display does not flash, adjust the time of day by pressing the ” + ” and ” – ” buttons at the same time for more than 3 seconds.
▲ Oven On and Off
If the timer is in standby mode, press ”
” for more than 3 seconds, the timer will enter manual mode and the symbol ”
” will light up continuously.
- Set the desired cooking function and the temperature degree. Set the time function, then the oven will on.
- If you set Dur or End, after cooking, the oven will automatically turn off.
If you set manual or minute minder, after cooking, bring the cooking function and oven temperature knob to the ” 0 ” position.
Press the”
” and ” + ” buttons for more than 3 seconds to return to standby mode.
▲ Time function setting
In manual mode, pressing ”
” can enter the time function setting, the sequence of the function setting is Manual mode – Minute minder-Dur-End-Manual mode. Then selected the cooking function and adjust the cooking temperature if required.
▲ Manual mode :
In manual mode, only the day’s time and the symbol ”
“light up.
The cooking duration has to be controlled by the user.
Notes: In manual mode, to ensure the oven is not left on accidentally, after 5 hours no button is pressed, the timer will flash once a second to warn you the oven will enter standby mode. After a total of 10 hours, the timer will enter standby mode.
When the timer is flashing in manual mode, press any button to reset the timer if you intend to continue using the oven. Or press ”
” and ” + ” together for more than 3 seconds to enter standby mode if oven will not be used.
▲ Audible warning time adjustment:
This function can be used to receive audible warnings at the completion of the adjusted time period.
1). Press the”
” button to select the minute minder function. The relevant ”
” “.” symbol will flash.
2). Use the “+”-” button to adjust the minute minder. (Refer to the instructions for setting the correct time of day.) Press the”
“button to confirm, the ”
” symbol will begin to light continuously. When the ”
” symbol begins to light continuously, the audible warning time adjustment is done.
3). When the time is up, the timer gives an audible warning and the ”
” symbol begins to flash on the screen. Press any button for less than 3 seconds, it will stop the audible warning and the”
“symbol disappears on the screen. Audible warning time adjustment is for warning purposes only.
Press ”
“and “+” together for more than 3 seconds to enter standby mode if the oven will not be used.
▲ Semi-automatic programming according to cooking period :
This function is used to cook in the desired time range The food to be cooked is put into the oven.
The oven is adjusted to the desired cooking function and temperature degree.
The maximum setting of the cooking period is 10 hours.
- Press the”
” button until you see ” Dur ” on the timer screen. (Before setting cooking period.) - Use the ” + ”
” – “button to adjust the cooking period for the food you wish to cook. (Refer to the instructions for setting the correct time of day. ) Press the”
” button to confirm, the day’s time will appear on the “screen and the symbols “A” ” “will light on the screen.
While doing this the oven will also start to operate.
3). At the completion of the set duration, the timer will stop the oven and give an audible warning. Also, the symbol ” A “will begin to flash on the screen. After bringing the cooking function and oven temperature knob to the ” 0 “position. Pressing any button for less than 3 seconds will stop the audible warning. Pressing”
“for more than 3 seconds set the oven to Manual mode again to use the oven.
▲ Semi-automatic programming according to finishing time:
This function is used to cook according to the desired finishing time.
The food to be cooked is put into the oven. The oven is adjusted to the desired cooking function and temperature degree.
- Press the”
” button until you see ” End ” on the timer screen. (Before setting finished time). - Use the “+” ” – ” button to adjust the finishing time.(Refer to the instructions for setting the correct time of day.)
- Press the”
” button to confirm, the day’s time will appear on the screen and the symbols ” A ” ”
” will light on the screen While doing this, the oven will also start to operate. - At the completion of the set duration, the timer will stop the oven and give an audible warning. Also, the symbol “A” will begin to flash on the screen. After bringing the cooking function and oven temperature knob to the ” 0 ” position. Pressing any button for less than 3 seconds, it will stop the audible warning. Pressing ”
” for more than 3 seconds set the oven to Manual mode again to use the oven.
▲ Full-automatic programming:
This function is used to cook after a certain period of time with a certain duration, The food to be cooked is put into the oven. The oven is adjusted to the desired cooking function. The oven temperature is adjusted to the desired degree depending on the food to be cooked.
First: Press the”
” button until you see ” Dur ” on the timer screen. Use the ” + ” ” – ” button to adjust the cooking period for the food you wish to cook. Press the”
” button to confirm, the day’s time will appear on the screen and the symbol ” A ” will begin to continuously light on the screen.
Second: keep pressing on ”
” button until you see ” End ” on the timer screen. When you see ” End ” on the timer screen, Use the ” + ” ” – ” button to adjust the finishing time, Press the”
” button to confirm, the day’s time will appear on the screen and the symbol ” A ” will begin to continuously light on the screen. The symbol ”
” disappears until the time cooking starts.
You can set a time which can be up 23.59 hours after the time, obtained by adding the cooking period to the day s time.
The oven will start operating at the time calculated by deducting the cooking period from the set finishing time and will stop at the set finishing time. The timer will give an audible warning and the symbol “A” will begin to flash. After bringing the cooking function and oven temperature knob to the ” 0 “position. Pressing any button for less than 3 seconds will stop the audible warning.
Pressing ”
” for more than 3 seconds set the oven to Manual mode again to use the oven. Please note: Once setting full-automatic mode, all the time can not be changed. Change time means canceling the automatic program and entering into the corresponding mode If you. need to reset automatic mode, need to stop setting the current mode to set the automatic mode according to the above steps again.
Specification
- When setting the date of each function, long-press on ” + ” or ” – ” for more than 3 seconds, the date will progressively and rapidly increase or decrease.
- When setting each of the time functions, if there is no operation for 5 minutes then it will return to manual mode.
- When setting each of the time functions, pressing on ”
” for more than 3 seconds can cancel the current setting and enter manual mode. - During the time function setting, pressing on ” + ” and ”
” or more than 3 seconds, a beep sounds it can cancel the current time function setting and enter standby mode. - We suggest that you run the oven elements for 15 minutes at 200 degrees to burn off any residue from their surfaces.
▲ ACCESSORIES
![]() | Wire shelf: For the grill, dishes, cake pan with items for roasting and grilling. |
![]() | Slider bracket: For cooking larger size food, these shelf support rails on the right and left sides of the oven can be removed, dishes and trays can be put on the oven floor, using functions such as Radiant grilling, Double grilling, Double grill with a fan. NOTE: When placing dishes on the oven floor, please DO NOT use functions with a bottom heater to prevent heat gathering at the bottom. (only for specific models) |
![]() | Universal pan: For cooking large quantities of food such as moist cakes, pastries, frozen food, etc, or for collecting fat/spillage and meat juices. |
![]() | Telescopic runner: Some models might with telescopic runners to facilitate the use of the oven. These telescopic runners and slider brackets could be disassembled by unscrewing the screws used to fix them. After disassembling, dishes and trays can be put on the oven floor, using functions such as Radiant grilling, Double grilling, Double grill with a fan. NOTE: When placing dishes on the oven floor, please DO NOT use functions with a bottom heater to prevent heat gathering at the bottom. (only for specific models) |
INSTALLATION INSTRUCTIONS
▲ SHELF PLACEMENT WARNING:
To ensure the oven shelves operate safely, correct placement of the shelves between the side rail is imperative. Shelves and the pan only can be used between the first and fifth layers.
The shelves should be used in the right direction, it will ensure that during careful removal of the shelf or tray, hot food items should not slide out.

▲ BULB REPLACEMENT
For replacement, the process is as follows:
- Disconnect power from the mains outlet or switch off the circuit breaker of the unit’s mains outlet.
- Unscrew the glass lamp cover by turning it counter-clockwise (note, it may be stiff) and replace the bulb with a new one of the same type.
- Screw the glass lamp cover back in place.
NOTE: Only use 25-40W/220V-240V, T300°C halogen lamps.

▲ SECURING THE OVEN TO THE CABINET
- Fit oven into the cabinet recess.
- Open the oven door.
- Secure the oven to the kitchen cabinet with two distance holders ” A ” which fit the holes in the oven frame and fit the two screws ” B “.

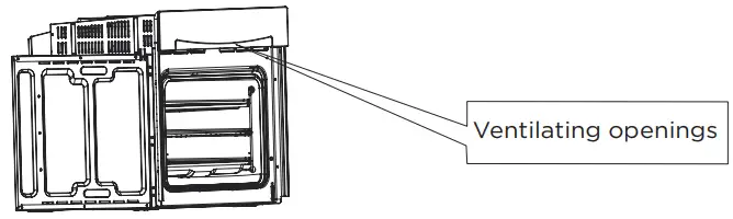
▲ VENTILATING OPENINGS
When cooking is finished, the cavity temperature is over 70 degrees. the ventilating opening will continue working for 15 minutes after the oven stops cooking.

▲ CONNECTION OF THE OVEN

▲ INSTALLATION

▲ Remark:
- Only plus deviations are admissible for all dimensions.
- The cabinet does not include the power switch or socket.
NOTE: The number of accessories included depends on the particular appliance purchased.
▲ REMOVING THE DOOR FROM THE OVEN (OPTIONAL)
A removable door allows full access to the entire interior of the oven for easier and quicker maintenance.
![]() | 1. To remove the door, open the door to the maximum angle. Then pull the buckle at the door hinge backward. (Figure 1) |
![]() | 2. Close the door to an angle of approximately 15°. Lift up and slowly pull the door out from the oven. (Figure 2) |
![]() | 3. Place the door flatwise with the door top cover towards yourself, put your hands on the glass and pull it towards the oven. (Figure 3) |
![]() | 4. Separate the glass carefully by lifting it approximately 25°.(Figure 4) |
![]() | 5. Push the glass into the position indicated by the arrow in Figure 5. Gently pull the glass out of the socket. |
![]() | 6. After pulling out the inner glass, please take out the middle layer of glass as shown in Figure 6. |
| 7. When cleaning is completed, reverse the above procedures to return the door to its original position. |
CLEANING AND MAINTENANCE
For the sake of a good appearance and reliability, keep the unit clean.
The modern design of the unit facilitates maintenance to a minimum. The parts of the unit which come into contact with food have to be cleaned regularly
- Before any maintenance and cleaning, disconnect the power.
- Set all controls in the OFF position.
- Wait until the inside of the unit is not hot but only slightly warm cleaning is easier than when warm.
- Clean the surface of the unit with a damp cloth, soft brush, or fine sponge, and then wipe dry.
In case of heavy soiling, use hot water with a non-abrasive cleaning product. - For cleaning the glass of the oven door, do not use abrasive cleaners or sharp metal scrapers, these can scratch the surface or lead to the glass being damaged.
- Never leave acidic substances (lemon juice, vinegar) on stainless steel parts.
- Do not use a high-pressure cleaner for cleaning the unit. The baking pans may be washed in mild detergent.
This appliance is marked according to the European directive 2012/19/EU on Waste Electrical and Electronic Equipment (WEEE).
By ensuring this product is disposed of correctly, you will help prevent potential negative consequences for the environment and human health, which could otherwise be caused by inappropriate waste handling of this product.
The symbol on the product indicates that this product may not be treated as household waste. Instead, it shall be handed over to the applicable collection point for the recycling of electrical and electronic equipment. Disposal must be carried out in accordance with local environmental regulations for waste disposal. For more detailed information about the treatment, recovery, and recycling of this product, please contact your local city office, your household waste disposal service, or the shop where you purchased the product.
Maintenance schedule:
To ensure the appliance continues to operate at peak performance, we recommend a routine service call every 3 years for the life of the appliance.
FOR SPARE PARTS OR TO FIND THE ADDRESS OF YOUR NEAREST STATE SPARE PARTS CENTRE IN AUSTRALIA
Midea Appliances Australia
7 Ordish Road, Dandenong South VIC 3175
www.midea.net.au
TEL: 1300 793 216
Email: [email protected]
make yourself at home

































