
V60070BT Outdoor Wireless Ground Speaker|
User Manual
2 Pack Outdoor Wireless Ground Speaker

Important Safety Precautions
When using your Wireless Speakers, basic safety precautions should always be followed, including the following:
- READ ALL INSTRUCTIONS BEFORE USING YOUR SPEAKER.
- Clean using a soft cloth or paper towel.
- Do not allow children or the infirm to play with your speakers without adult supervision.
- Do not expose your speakers to excessive heat, flames or fire.
- Always press all buttons or switches carefully. Do not manhandle your speakers.
- Do not use in extremely dry environments, as this can lead to static discharge during usage.
- Do not expose your speakers to temperatures above 40°C.
- Do not attempt to repair this product yourself. Contact a qualified service center if your speaker is in need of service.
- Do not drop, puncture or expose your speakers to excessive trauma.
- Your speakers are not intended for commercial use.
- Do not place near objects that generate a strong magnetic field.
- Unplug this device when not in use for long periods of time or during lightning storms.
- Your speaker is water-resistant. Do not submerge it in water or spray it directly with powerful streams of water. If it is exposed to water, be sure to dry it off as soon as possible.
- When charging do not place on textiles or flammable synthetic materials. Keep your speakers and charging cable on a dry, cool even surface.
CAUTION
BATTERY WARNING:
- The device is equipped with an integrated lithium-ion battery. The battery cannot be replaced. Do not attempt to remove the battery from the device.
- Do not dispose of in fire or exposed to excessive heat. Do not crush, puncture, incinerate, or short circuit external contacts.
- Please recycle or dispose of the battery properly. Contact your local recycling facilities and/or the manufacturer for further information.
Introduction
Thank you for purchasing the Vivitar 2 Pack Outdoor Wireless Ground Speaker, item V60070BT. Your ground speakers are designed specifically for outdoor use allowing you to stream music wirelessly while you enjoy a pleasant day. Please read this manual first before using your device.
Package Contents
- 2 Stake Wireless Speakers
- 2 USB Charging Cables
- User’s Manual with Warranty Information
Specifications
- Bluetooth Specification: Bluetooth V5.3
- Bluetooth Range: Up to 33 feet (10 meters)
- Voltage: DC 5V/1A
- Dimensions: 211.8 x 63mm inches
- Battery Type: Lithium-Ion Battery
- Waterproof Rating: IPX4
A QUICK LOOK AT YOUR DEVICE
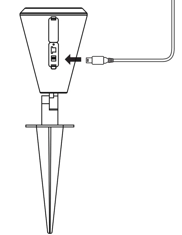
Charging Your Speaker
- Pull open the charging port cover on your speaker.

- The included USB charging cable has a Mini USB plug and a standard USB Mini USB plug

- Insert the USB charging cable’s into the charging port plug. on your speaker.

- Insert the USB charging cable’s standard USB plug into the USB port of a computer or suitable USB charging adapter.

- The LED indicator light turns red while the speaker is charging.

Charging takes 1-2 hours. Unplug when charging is complete.
Important: To avoid a complete discharge of the battery, charge your speakers at least once every six months.
Pairing Your Speaker with a Bluetooth Device
- Simultaneously slide the ON/OFF switch to the ON position to power on your speaker.

- The LED indicator light will turn blue and flash rapidly to indicate that your speaker is in pairing mode.

- Go to the Bluetooth settings menu on your phone. Make sure that Bluetooth is turned on. Connect to the device listed as “V6007OBT.”

- The LED indicator light will stop flashing and remain blue to indicate that your speaker is paired with your phone. While music is playing, the led indicator light will flash slowly.

Using Your Speaker
- Slide the On/Off Switch to the ON position in order to power on your speaker. If you have already paired your speaker to your Bluetooth device, it will automatically remain paired each time you power it on.
- Slide the On/Off Switch to the OFF position in order to power off your speaker.

Note: You can adjust volume and playback settings on your phone or connected audio device.
Multi-Speaker Pairing

If you have a second speaker you can pair them both together with your Bluetooth device. To do so. simultaneously slide the ON/OFF switches on each speaker to the ON position. Then wait approximately 2-3 seconds as the two speakers pair together. Then follow steps 2-4 from the previous page.
Maintenance and Care
-Before using your speaker or before charging, inspect the ports to make sure that they are clear of dust and debris.
-Use a soft cloth to clean your speaker. Never use any harsh chemicals or detergents. Make sure your speaker is dry before charging.
-When your speaker is not in use, it should be stored in a cool, dry place.
-Never tug or yank on the USB charging cable when it is connected to your speaker. Connect and disconnect cables as carefully as possible.
-Never expose your speaker to high temperatures or extreme cold.
-Please recycle or dispose of your speaker properly based on the laws and rules of your municipality. Contact local recycling facilities and/or the manufacturer of your speaker for further information.
FCC Statement
Changes or modifications not expressly approved by the party responsible for compliance could void the user’s authority to operate the equipment.
This device complies with Part 15 of the FCC Rules. Operation is subject to the following two conditions: (1) this device may not cause harmful interference, and (2) this device must accept any interference received, including interference that may cause undesired operation.
This equipment has been tested and found to comply with the limits for a Class B digital device, pursuant to Part 15 of the FCC Rules. These limits are designed to provide reasonable protection against harmful interference in a residential installation. This equipment generates, uses, and can radiate radio frequency energy. if not installed and used in accordance with the instructions. may cause harmful interference to radio communications. However, there is no guarantee that interference will not occur in a particular installation.lf this equipment does cause harmful interference to radio or television reception, which can be determined by turning the equipment off and on, the user is encouraged to try to correct the interference by one or more of the following measures:
— Reorient or relocate the receiving antenna.
— Increase the separation between the equipment and receiver.
— Connect the equipment into an outlet on a circuit different from that to which the receiver is connected
— Consult the dealer or an experienced radio/TV technician for help.
Vivitar One Year Warranty
This warranty covers the original consumer purchaser only and is not transferable.
This warranty covers products that fail to function properly UNDER NORMAL USAGE, due to defects in material or workmanship. Your product will be repaired or replaced at no charge for parts or labor for a period of one year.
What Is Not Covered by Warranty
Damages or malfunctions not resulting from defects in material or workmanship and damages or malfunctions from other than normal use, including but limited to, repair by unauthorized parties, tampering, modification or accident.
To Obtain Warranty Service and Troubleshooting Information:
Call 1-800-592-9541 or visit our website at www.vivitar.com.
To receive a Warranty service along with the name and address of an authorized product service center, the original consumer purchaser must contact us for problem determination and service procedures. Proof of purchase in the form of a bill of sale or receipted invoice, evidencing that the product is within the applicable warranty period(s), MUST be presented in order to obtain the requested service. It is your responsibility to properly package and send any defective products along with a dated copy of proof of purchase, a written explanation of the problem, and a valid return address to the authorized service center at your expense. Do not include any other items or accessories with the defective product. Any products received by the authorized service center that is not covered by warranty will be returned unrepaired
NO WARRANTIES, WHETHER EXPRESS OR IMPLIED, INCLUDING, BUT NOT LIMITED TO, ANY IMPLIED WARRANTIES OF MERCHANTABILITY OR FITNESS FOR A PARTICULAR PURPOSE, OTHER THAN THOSE EXPRESSLY DESCRIBED ABOVE SHALL APPLY. THE DISTRIBUTOR FURTHER DISCLAIMS ALL WARRANTIES AFTER THE EXPRESS WARRANTY PERIOD STATED ABOVE. NO OTHER EXPRESS WARRANTY OR GUARANTEE GIVEN BY ANY PERSON, FIRM, OR ENTITY WITH RESPECT TO THE PRODUCT SHALL BE BINDING ON THE DISTRIBUTOR. REPAIR, REPLACEMENT, OR REFUND OF THE ORIGINAL PURCHASE PRICE – AT THE DISTRIBUTOR’S SOLE DISCRETION -ARE THE EXCLUSIVE REMEDIES OF THE CONSUMER. IN NO EVENT WILL THE DISTRIBUTOR, ITS MANUFACTURERS, OR SAKAR INT. BE LIABLE FOR ANY INCIDENTAL, DIRECT, INDIRECT, SPECIAL, PUNITIVE, OR CONSEQUENTIAL DAMAGES (SUCH AS BUT NOT LIMITED TO, DAMAGES FOR LOSS OF PROFITS, BUSINESS, SAVINGS, DATA OR RECORDS) CAUSED BY THE USE, MISUSE, OR INABILITY TO USE THE PRODUCT. EXCEPT AS STATED HEREIN, NO OTHER WARRANTIES SHALL APPLY. NOTWITHSTANDING THE FOREGOING, THE CONSUMER’S RECOVERY AGAINST THE DISTRIBUTOR SHALL NOT EXCEED THE PURCHASE PRICE OF THE PRODUCT SOLD BY THE DISTRIBUTOR. THIS WARRANTY SHALL NOT EXTEND TO ANYONE OTHER THAN THE ORIGINAL CONSUMER WHO PURCHASED THE PRODUCT AND IS NOT TRANSFERABLE.
Some countries, states or provinces do not allow the exclusion or limitation of incidental or consequential damages or allow limitations on warranties, so limitations or exclusions may not apply to you. This warranty gives you specific legal rights, and you may have other rights that vary from state to state or province to province. Contact your authorized retailer to determine if another warranty applies. This product is manufactured, distributed and sold by SAKAR International, Inc. All other trademarks are the property of the respective owner, who has not sponsored, endorsed or approved this product.
© 2022 Sakar International
195 Carter Drive
Edison, NJ 08817
Support: 800 592 9541
www.vivitar.com 
![]()
Charging Your Speaker


























