REV A SHELF I-448TP-0922 Wood Pantry

OVERVIEW

TOOL REQUIRED

- #6 x 1/2 Wood Screw
- 1/4-20 x 1 Flat Head Machine Screw

- #8 x 1 Deep Tread Screw
- 1/4-20 x 2 Pan Head Machine Screw

- #8 x 2 Wood Screw

- #8 x 1 Pan Head Screw

- Tilt Adjust Screw

- #10 x 1 Deep Tread Screw
- #8 Flat Washer

- 6mm Wood Dowel

- M10 Set Screw

- 1/4-20 Tapered Barrel Nut
Wood Frame Assembly
- (5-inch pantry refer to step 1a) Insert (8) dowels into the Bottom Shelf assembly and (8) dowels into the wood rails.(5-inch pantry only) Insert (4) dowels into the Bottom Shelf assembly and (8) dowels into the wood rails.

- (5 inch pantry refer to step 2a) Attach front and back panels using (16) #8 x 2 wood screws and (4) #8 x 1 pan head wood screws with washers.

- (5-inch pantry only) Attach front and back panels using (12) #8 x 2 wood screws and (4) #8 x 1 pan head wood screws with washers.
- Attach the floating back plate to the rear of the pantry while making sure the plate is in its lowest position. Insert the Tapered Barrel nut into the slot of the floating back plate and secure with ¼-20 x 1 flat head machine screws. (NOTE: the barrel nut should float freely in the slot) See Fig. 3 (5-inch pantry see Fig. 3a)

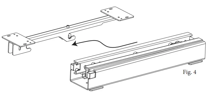
- (5-inch pantry refer to step 4a) Turn the pantry upside down. Disengage slide mounting plate from the slide assembly (see fig. 4)
and attach to the bottom of the pantry using (8) #10 x 1 deep thread screws. (see fig. 4a)- (5-inch pantry only) Turn the pantry upside down. Disengage the slide mounting plate from the slide assembly (see fig. 4) and attach the slide skirt and slide mounting plate to the bottom of pantry using (8) #10 x 1 deep thread screws. (see fig. 4b)

Slide Installation and Rub Bushings
- (5-inch pantry only) Turn the pantry upside down. Disengage the slide mounting plate from the slide assembly (see fig. 4) and attach the slide skirt and slide mounting plate to the bottom of pantry using (8) #10 x 1 deep thread screws. (see fig. 4b)
- Insert template into the cabinet, mark (6) hole locations and remove template. (NOTE: If cabinet floor thikness is greater than 1-1/2” proceed to step 6. If cabinet floor thickness is less than 1-1/2” proceed to step 8)
- For cabinet floor thickness GREATER than 1-1/2” use a 9/64” drill bit and drill all (6) hole locations.
- Set slide base into cabinet and align holes. Insert (2) lag screws (not included) into rear holes and (4) #10 x 1 deep thread screws into the remaining holes. Proceed to step 11.
- For cabinet floor thickness LESS than 1-1/2” drill back (2) holes with ½” drill bit and the remaining (4) holes with 9/64” drill bit.
- Insert “snap toggle” into the back (2) holes. Slide plastic snap plug down into hole and break of excess plastic legs. (see fig. 9)

- Set slide base into the cabinet and align holes. Insert (2) ¼-20 x 2 machine screws into snap toggles and (4) #10 x 1 deep thread screws into the remaining holes.
Attaching Wood Frame to Slide - See fig. 11 to determine correct rub bushing required for your application. Install the (2) provided rub bushing inline with top-rails, see chart for height locations.

- 1-3/4” Face Frame
- 1-5/8” Face Frame
- 1-1/2” Face Frame
Pantry Height Rub Bushing Screw Location From Bottom of Cabinet Opening 43 40 inches (1016 mm) 51 47.5 Inches (1207 mm) 58 55 Inches (1397 mm) Attaching Wood Frame to Slide

- Extend slide out to the open position and place pantry frame onto slide assembly (see fig. 12). Make sure that pantry frame and slide assembly is properly aligned and push pantry into the closed position. (Note: this will properly engage the slide with the frame)

- Pull Pantry half of the way open and insert (2) set screws thru access holes into slide and tighten (see fig. 13). (Note: these set screws also act as micro-adjusters for left and right adjustment.) Insert plastic cover caps into access holes.
- With provided allen wrench, insert and adjust back (2) tilt adjust screws evenly to tilt pantry forward or backward. This will align pantry frame with your face frame. Once adjusted, insert provided cover caps into holes.
- Tighten center Safety screw to lock pantry in place and install plastic cover cap. (Note: This is a safety feature that has to be done to ensure that the pantry CANNOT be pulled out of the slide!)
- Loosen floating back plate and adjust the height to ¼” below top of the cabinet. (Floating plate should be resting against the back of cabinet face frame.) Re-tighten plate. Insert (2) #8 x 1 deep thread screws into counter sunk holes near top of the pantry and tighten. Use provided sticker to cover the screws. (optional) Attach (2) provided rubber bumpers to the inside of the cabinet face frame.

Door/Shelf installation - Loosen T-nuts to allow door brackets to be positioned to desired locations. (Note: you will want to make sure that the brackets will mount into the thick portion of cabinet door.)
- Measure hole locations and transfer to the cabinet door. Attach door with (6) #6 x ½ wood screws.
- Loosen or tighten adjustment screws to micro-adjust the tilt of the door. (See fig 19).

- Adjust door left or right and tighten the t-nuts when complete.
- Adjust metal dowels to the desired location. To install shelf, begin by inserting the side with pre-drilled holes into the dowels and push another side down into place. (Note: to install the top shelf in top location it might be necessary to remove wire rails.)

- Place the plastic sleeve with Allen wrench and Pantry Removal Guide into the desired location. (Note: this is important to retain if the unit ever needs to be removed.)

NOTES:
If the installed unit is to be transported, use the included plastic shelf clips to lock down the adjustable shelves. To use these clips, insert lip on the bottom between the panel and the shelf (on the slotted side of the shelf) then bend and press the boss into hole. Remove after final installation.
- The Pantry Removal Guide contains instructions to remove the pantry from the cabinet and slide.
- To strengthen the frame there are predrilled holes to affx the middle shelf. Install shelf into middle location and secure with (4) #8 washers and (4) #8 x 1” wood screws. (this step is recommended but optional)
12400 Earl Jones Way Louisville, KY 40299
(800) 626-1126 rev-a-shelf.com
WATCH TUTORIALS OF OUR PRODUCTS BEING INSTALLED












and attach to the bottom of the pantry using (8) #10 x 1 deep thread screws. (see fig. 4a)



























