VEVOR zw_0113 Walk In Green House with Shelves

MODEL NO.: zw_0113
NEED HELP? CONTACT US!
Have product questions? Need technical support? Please feel free to contact us:
[email protected]
This is the original instruction, please read all manual instructions carefully before operating. VEVOR reserves a clear interpretation of our user manual. The appearance of the product shall be subject to the product you received. Please forgive us that we won’t inform you again if there are any technology or software updates on our product.
ASSEMBLY PRECAUTIONS
- Please follow these instructions to assemble. Incorrect assembly can be a hazard.
- Wear safety goggles and heavy-duty work gloves during assembly.
- Do not assemble when tired or when under the influence of alcohol, drugs, or medication.
- Weight capacity and other product capabilities apply to a properly and completely assembled product only.
USE PRECAUTIONS
- This product is not a toy. Do not allow children to play with or approach this item.
- Use as intended only. Do not sit or stand on the table.
- Inspect before every use. Do not use it if parts are loose or damaged.
- Use only on flat, level, and hard surfaces.
- Do not exceed listed the weight capacity. Tighten all knobs securely before applying load. Be aware of dynamic loading! The sudden load movement may briefly create an excess load, causing product failure.
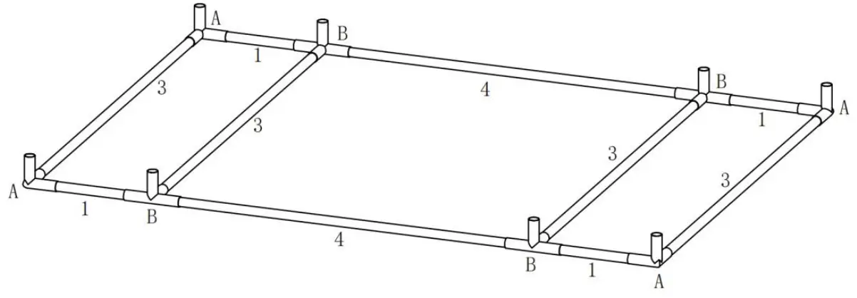
ASSEMBLY INSTRUCTIONS
For additional information regarding the parts listed in the following pages, refer to the Assembly Diagram of this manual. Unwrap and separate all parts in a clear work area.
TECHNICAL SPECIFICATIONS
| Model | zw_0113 |
| Main Material | Steel + PE fabric |
| Color | Transparent green |
| Product Dimensions (LxWxH mm) | 1410*745*2050 |
| Packing Size (LxWxH mm) | 940*300*135 |
| Net Weight (kg) | 7 |
| Gross Weight (kg) | 8.7 |
PACKAGE CONTENTS

ASSEMBLY STEPS
SETP1

SETP2

SETP3

SETP4

SETP5

SETP6

SETP7

SETP8

SETP9

SETP10

SETP11

COMPLETION

E-mail: [email protected]
Manufacturer: ZHONGWANG(YANGZHOU) OUTDOOR PRODUCTSCO.,LTD.ADD: No.81 Xinke Road,Gaoyou City,Jiangsu Province,China
lmporter: WAITCHX
Address: 250 bis boulevard Saint-Germain 75007 Paris
lmporter: FREE MOOD LTD
Address: 2 Holywell Lane, London, England, EC2A 3ET
EUREP GmbH
Unterlettenweg 1 a, 85051 Ingolstadt, Germany
EUREP UK LTD
UNIT 2264, 100 OCK STREET, ABINGDON OXFORDSHIRE ENGLAND OX14 5DH
Support and E-Warranty Certificate https://www.vevor.com/support




















