RENOGY 1000W DC to AC Power Inverter

Important Safety Information
Incorrect installation or misuse of the inverter may result in danger to the user or hazardous conditions. We urge you to pay special attention to all CAUTION and WARNING statements. CAUTION statements identify conditions or practices that may result in damage to other equipment. WARNING statements identify conditions that may result in personal injury or loss of life.
WARNING
Shock hazard. Keep away from children
- The inverter generates the same potentially lethal AC power as a normal household wall outlet. Treat it with the same respect.
- Do not insert foreign objects into the inverter’s AC outlet, fan or vent openings.
- Do not expose the inverter to water, rain, snow or spray.
- Do not under any circumstances, connect the inverter to utility power AC distribution wiring.
WARNING
Explosion hazard
- Do not use the inverter in the presence of flammable fumes or gases, such as in the bilge of a gasoline powered boat, or near propane tanks. Do not use the inverter in an enclosure containing automotive-type, lead-acid batteries. These batteries, unlike sealed batteries, vent explosive hydrogen gas, which can be ignited by sparks from electrical connections.
- When working on electrical equipment always ensure someone is nearby to help you in an emergency.
CAUTION
- Do not connect live AC power to the inverter’s AC outlets. The inverter will be damaged even if it is switched OFF.
- Do no connect any AC load, which has its neutral conductor connected to ground, to the inverter.
- Do not expose the inverter to temperatures exceeding 104 “F (40 ·c ).
CAUTION
Do not use inverter with the following equipment
- Small battery operated product such as rechargeable flashlights, some rechargeable shavers, and night-lights that are plugged directly into an ac receptacle to recharge.
- Certain battery chargers for battery packs used in hand powered tools. These chargers will have warning labels stating that dangerous voltages are present at the charger’s battery terminals.
- Connect inverter only to batteries with a 12V DC nominal output. A battery with 6V nominal output will not supply enough voltage and a battery with 24V/48V nominal output will DAMAGE THE INVERTER.
Introduction
Thank you for purchasing the power inverter. The inverter is a compact and highly portable power inverter, the leader in the field of high frequency inverter design. From the dedicated 12V DC battery, or the solar power bank, the inverter will efficiently and reliably power a wide variety of household AC products such as TVs, computers and VCRs. The included automatic safety monitoring circuitry protects the inverter and battery from inadvertent errors. Read this guide before installing or using the inverter and save it for future reference.
Safety Features
These advanced safety features are built into the inverter:
- Electronic overload protection with automatic shutdown.
- Built-in internal backup DC fuse provides added safety.
- Low battery voltage protection with automatic shutdown.
- Over temperature protection with automatic shutdown.
- Output short circuit protection.
Installation Guidelines
Selecting a Suitable Location
For safe and optimum performance, install the inverter in a location that is …..
- Dry. Do not expose to water drip or spray.
- Cool. Operate only in ambient temperatures between 32 1′ (0 ·c )and 104 ·p (40 C ). Keep away from furnace heating vents or other heat producing equipment.
- Well ventilated. Allow at least 2 inches (5cm) clearance above and on all sides of the unit for proper cooling.
- Safe. Do not install inverter in a compartment with batteries or flammable liquids, such as gasoline, or explosive vapors.
- Clean and free of dust and dirt. This is especially important if the inverter is used in a work environment.
Using the DC Cable-Ring terminal
Due to limitations in the common 12V DC outlet in a vehicle or boat, the inverter should only be used to supply AC power to products that require the rated continuous power or less.
- Attach the ring type connector marked with red to the positive (+) DC terminal on the inverter and attach the ring connector marked with black to the negative(-) DC terminal.
CAUTION
A reverse polarity connection (positive to negative) may damage the inverter. Damage caused by a reverse polarity connection is not covered under warranty - Tighten the nut on each DC terminal by hand until it is snug. Do not over tighten.
Using the inverter
The inverter is capable of continuously powering most 230V and 240V AC products that use the rated continuous output power or less. The inverter is a pure sine wave and is designed to mimic utility power. The power, or “wattage”, rating of ac products is the average power they use. When many AC products are first switched on, they initially consume more power than their power rating. TVs, monitors, and electric motors are examples of products that have high “surge” requirements at start up. Although the inverter can supply momentary surge power as high as surge power, occasionally some products rated less than the rated continuous output power may exceed its surge capabilities and trigger its safety overload shutdown feature. If this problem occurs when attempting to operate several AC products at the same time ,try first switching on inverter with all AC products switched off ,then one by one switch each on, starting with the high surge product first.
Indicators and Controls
- The AC outlets are provided on one end of the inverter. Any combination of 230V/240V AC product with a total continuous power consumption of the continuous power or less may be plugged in.
- The ON/OFF switch enables output AC power at the AC outlets when switched ON.
- The green POWER light indicates AC power is present at the AC outlets and the inverter is operating normally.
- The red FAULT light indicates inverter shutdown caused by low or high voltage, overload or excessive temperature.
- The yellow Fault light indicates short circuit or overload starting protection

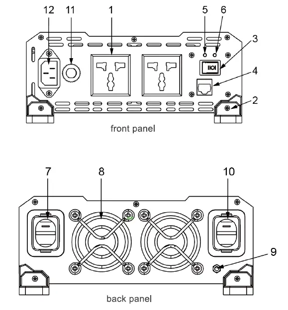
- AC outlet socket
- Fixed foot
- ON/OFF switch
- Remote port
- Fault indicator
- Power indicator
- Red (positive) terminal
- Fan
- Ground terminal
- Black(negative) terminal
- AC fuse
- AC input
Socket Types

Inverter operation
- When properly connected to a 12V DC outlet or battery, turning the ON/OFF switch ON, will illuminate the green POWER light, and AC power to the outlets.
- Plug the AC product(s) you wish to operate onto the AC outlet(s) and switch them on, one at a time.
- As the battery capacity is used up, battery voltage begins to fall. When the inverter senses that the voltage at its DC input has dropped to 9.7-10.7V, the audible alarm will sound. This allows time for computers or other sensitive devices to be shut down.
- If the audible alarm is ignored the inverter will automatically shut down when the battery voltage drops to 9-1 0V. This prevents battery damage from excessive discharge. After auto shut down, the red FAULT light illuminates.

IMPORTANT: Vehicle batteries are designed to provide short periods of very high current needed for engine starting. They are not intended for constant deep discharge. Regularly operating the inverter shortens the life of the battery. Consider connecting the inverter to a separate deep discharge type battery if you will be frequently running electrical products for long time.
- AC Priority function: when both AC input and battery input available
- AC input is selected automatically as priority.
- When AC input being removed, the unit will change to DC input automatically.
- Connect the AC input cable set with the plug on the inverter panel, connect the load and switch on inverter.
- If an AC product rated higher than the rated continuous power (or which draws excessive surge power) is connected, the inverter will shut down. The red FAULT light will turn on.
- If the inverter exceeds a safe operating temperature, due to insufficient ventilation or a high temperature environment, it will automatically shut down. The red FAULT light will turn on and the audio warning will sound.
- Should a defective battery charging system cause the battery voltage to rise to dangerously high levels, the inverter automatically shuts down.
CAUTION Although the inverter incorporates protection against over-voltage, it may still be damaged if the input voltage exceeds 16 volts. - In the event of an overload, low battery voltage or overheating, the inverter will automatically shut down (See Section 4).
Battery Operating Time
Operating time will vary depending on the charge level of the battery, its capacity and the power level drawn by the particular AC load. When using the battery of the vehicle as a power source, it is strongly recommended to start the vehicle every hour or two to recharge the battery before its capacity drops too low. The inverter can operate while the engine is running, but the normal voltage drop that occurs during starting may trigger the inverter’s low voltage shut down feature. Because the inverter draws less than the no-load current draw with the ON/OFF switch in ON position and with no AC products connected, ii has minimal impact on battery operating times.
Battery Operating Time
Operating time will vary depending on the charge level of the battery, its capacity and the power level drawn by the particular AC load. When using the battery of the vehicle as a power source, it is strongly recommended to start the vehicle every hour or two to recharge the battery before its capacity drops too low. The inverter can operate while the engine is running, but the normal voltage drop that occurs during starting may trigger the inverter’s low voltage shut down feature. Because the inverter draws less than the no-load current draw with the ON/OFF switch in ON position and with no AC products connected, ii has minimal impact on battery operating times.
Interference with Electronic Equipment
Generally, most AC products operate with the inverter just as they would with household AC power. Below is information concerning two possible exceptions. Buzzing Sound in Audio Systems and Radios Some inexpensive stereo systems, “boom boxes”, and AM-FM radios have inadequate internal power supply filtering and “buzz” slightly when powered by the inverter. Generally, the only solution is an audio product with a higher quality filter.
Television Interference
The inverter is shielded to minimize its interference with TV signal. However, with weak TV signals interference may be visible in the form of lines scrolling across the screen. The following should minimize or eliminate the problem:
- Use an extension cord to increase the distance between the inverter and the TV, antenna and cables.
- Adjust the orientation of the inverter, television, antenna and cables.
- Maximize TV signal strength by using a better antenna and use shielded antenna cable where possible.
- Try a different TV. Different models of televisions vary considerably in their susceptibility to inverter.
AC Priority Switch Function
- When AC utility power available and inverter is connected, the internal circuit will detect and change from battery mode to AC utility mode. When AC utility power is not available, the internal circuit will detect and change back to battery supply mode.
- After the transfer from battery supply to AC utility supply or from AC utility supply to battery supply, please check if the electronic devices need to be restarted manually.
Troubleshooting
PROBLEM: AC product will not operate
| Battery is defective. | Check battery and replace if required. |
| Inverter has been connected with reverse DC input polarity. | Check connection to battery. Probable inverter damage has occurred. Have unit repaired(not covered by warranty) |
| Loose cable connections. | Check cables and connections. Tightens required |
PROBLEM: Inverter will run some small loads, but not large ones
Voltage drop across DC cables Shorten cables or use heavier cables.
PROBLEM: Battery run time is less than expected
| AC product power consumption is higher than rate. | Use a to make up for increased power requirement |
| Battery is old or defective | Replace battery |
| Battery is not being properly charged. | Many simple charges are unable to charge a battery fully. Replace charger with better model such a TRUE CHARGE smart charger. |
| Power dissipation in DC cables. | Use shorter/heavier DC cables. |
PROBLEM: Battery run time is less than expected.
| AC product(s) connected are rated at more than the rated continuous output power: overload shutdown has occurred. | Use product with a power rating less than the rated continuous output power. | ||
| AC product is rated less than rated | Product exceeds inverter’s surge capability. | ||
| continuous output power: high starting | Use a product with starting surge power | ||
| surge has caused overload shutdown. | within the inverter’s capability. | ||
| Inverter has overheated ventilation and has temperature shutdown. | due to caused | poor over | Switch inverter OFF and allow to cool for 15 minutes. Clear blocked fan or remove objects covering unit. Locate unit to a cooler environment. Reduce load if continuous operation is required. Restart. Verify charging system is properly |
| regulated and battery is 12V DC nominal. | |||
Specifications
| Rated Input DC Voltage | 12VDC | ||
| Constant output power | 1000W | 2000W | 3000W |
| Output voltage | 220-240Vac | ||
| Output frequency | 50HZ | ||
| Static Current | 1.0A | 1.3A | 1.5A |
| Input voltage range | 11-16VDC | ||
| Low voltage shutdown | 10VDC | ||
| Recover from low voltage protection | 12VDC | ||
| Rated AC input voltage range | 200-240VAC | ||
| Transfer from battery supply to AC mains | Within 50mS | ||
| Transfer from AC mains supply to battery | Within 50mS | ||
| High voltage shutdown | 16.3VDC | ||
| Ambient temperature | 0C-40C | ||
| Heat dissipation | Fan | ||
| Product dimension | 342*173*76 mm | 442*220*92 mm | 482*220*92 mm |
| Weight | 2.6kg | 4.8kg | 6.4kg |
Renogy reserves the right to change the contents of this manual without notice. 2775 E Philadelphia St, Ontario, CA 91761, USA
- 909-287-7111
- www.renogy.com
- [email protected]





















