MARATHON BA030068-EU1 Slim Panoramic Weather Station

Need a replacement part?
Remote Temperature Sensor
(Part No. BA030068-RS-EU1)
Visit: www.MarathonWatch.com to order a replacement!
What’s in the box

Front
- A1: Time
- A2: Indoor humidity
- A3: Indoor temperature
- A4: Weather forecast
- A5: DCF signal icon
- A6: Freeze alert
- A7: DST active
- A8: Auto scrolling display of different sensors
- A9: Outdoor sensor under display
- A10: Outdoor humidity
- A11: Outdoor temperature
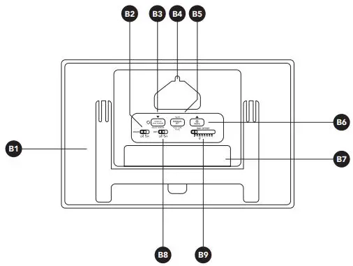
Back

- B1: Foldable stand
- B2: WAVE switch
- B3:
/ HOLD TO SYNC SENSOR button - B4: Wall mount hole
- B5:
/ MANUAL SET button - B6:
button - B7: Battery compartment
- B8: DST switch
- B9: GMT OFFSET switch
Sensor
- C1: Channel selector
- C2: Battery compartment
- C3: Table stand

Thank you for purchasing this radio-controlled wall/desk clock weather station with wireless outdoor sensor. Please read this instruction manual before using to enjoy the best product experience.
Environmental reception effects
Your radio-controlled clock obtains accurate time with wireless technology. As with all wireless devices, the receiving ability may be affected by, but not limited to, the following circumstances:
- Long transmitting distance
- Nearby mountains and valleys
- Tall buildings
- Nearby railway, high voltage cable etc.
- Nearby freeway, airport, etc.
- Nearby construction site
- Inside concrete buildings
- Nearby electrical appliances
- Nearby computers and TV’s
- Inside moving vehicles
- Nearby metallic structures
Environmental Protection: Disposal of electrical & electronic equipment
Do not dispose of this product with household waste. For proper treatment, recovery and recycling please take this product to the appropriate collection point. If you are unsure of where this is, contact your local authority. Improper disposal may be harmful to the environment.
Features
- Large time, temperature + humidity digits
- Automatically updates for Daylight Saving Time (on/off option)
- Eight time zones
- Radio-controlled clock & calendar (WAVE) on / off
- Graphic weather forecast display
- Built-in barometric air pressure sensor
- Selectable 24 or 12 hour time format
- Indoor-outdoor temperature and relative humidity in Celsius or Fahrenheit
- Wireless outdoor sensor included
- Extendable to work with up to 3 remote sensors (additional sensors sold separately)
- Wall hanging or free standing
Quick setup guide
Battery installation (Main Unit)
- Remove the protective fi lm from the LCD Screen at the front of the clock.
- Place your clock face down on a fl at and soft surface.
- Slide and remove the battery cover at the back of your unit.
- Insert 2 x new AA alkaline batteries (included) into the battery compartment by observing the correct “+” and “-“ polarity.
- Slide and replace the battery cover.
Reminder:
- Alkaline batteries are recommended for optimal usage of this clock.
- Do not mix old and new batteries.
- Do not mix alkaline, standard or rechargeable batteries.
Setup outdoor remote sensor
- Detach the holder from the back of the remote sensor.
- Slide and remove the battery cover at the back of the unit.
- Insert 2 x new AAA alkaline batteries (included) into the battery compartment by observing the correct “+” and “-“ polarity.
- The clock defaults to Channel
for wireless data reception. Ensure that the channel selector at the back is set at position 1 (top position). - Replace the battery cover.
- Insert the holder to the bottom of the outdoor sensor for desktop or insert it to the back of the transmitter for wall mounting.

Your clock will receive a data signal from the remote sensor within a few seconds. Place your sensor in a dry and shaded area away from direct sun or rain. The indoor and outdoor temperature-humidity readings will become more stable and accurate over 30 minutes – 1 hour.
Remarks: Your outdoor sensor has a 60-meter open air transmission range with no obstructions. Actual transmission range will vary depending on what is in the path of the signal. Each obstruction (roof, walls, fl oors, ceilings, thick trees, etc.) will signifi cantly reduce the signal range.
Time zone selection
The time zone default is GMT +1 (Central Europe). If required, slide the time zone switch at the back case to select your time zone.
| Europe Main Time Zones | |||
![]()
| |||
| Western Europe (WET) and Greenwich Mean Time (GMT) | Central Europe (CET) | Eastern Europe (EET) | Belarus (FET) and West-ern Russia (MSK) |
| GMT: 0 | GMT +1 | GMT +2 | GMT +3 |
| Canary Islands Faroe Islands Iceland (on GMT all year) Ireland Portugal United Kingdom | Albania Austria Belgium Croatia Denmark France Germany Hungary Italy Netherlands Norway Poland Slovakia Spain Sweden Switzerland | Bulgaria Estonia Finland Greece Latvia Lithuania Moldova Romania Turkey Ukraine | Belarus Most of the European part of Russia Ukraine (Only Crimea, Luhansk and Donetsk) |
DCF time signal reception
- After the clock receives and displays the outdoor temperature-humidity reading, it will start searching for the DCF time signal. The clock will start to search for the DCF time signal with the
icon
flashing. The first reception will last for around 7 minutes. If the first attempt of signal search fails, the clock will automatically search for the signal again every 3 hours. - NOTE: signal reception is normally better at night and when the weather is clear. The radio-controlled signal generally takes a few hours to synchronize, so it is important to manually set the time and date after powering up the clock.
- The clock will start searching for a signal every night at 1:00 am, 2:00 am and 3:00 am. If no reception, it will try again at 4:00 am and 5:00 am. During reception, do not press any buttons for the best results.
- During reception, the clock does not take temperature or humidity measurement. The temperature and humidity reading will become stable and accurate after your clock is powered up for approximately 30 minutes.
- Once the clock receives the signal, the time and calendar will be updated and your clock is ready to use.
- It is important to set the clock with the correct time zone and DST (on/off) in accordance with where you live in order to get the correct time after a successful DCF signal reception.
Searching for signal (signal is strong) 
Both the “M” icon and the wave bars are blinking Searching for signal
(no signal or weak signal)

Only the “M” icon is blinking. Place your clock in another location with a stronger signal if it keeps failing to receive the DCF time signal overnight e.g. closer to the window or away from other
electronic devices.
Received signal successfully 
Time and date are set and both the “M” icon and the wave bars become static. Fail to receive signal 
The “M” icon becomes static and no wave bars appear.
To set the clock manually


To use the weather forecaster
Your clock has a built-in barometric air pressure sensor that records and compares the air pressure change per hour to forecast the weather in next 6 hours.

Remarks: Moving your weather station clock from one floor of a building to another floor will affect the accuracy of your weather station, which should operate at the same altitude all the time. If you move it to a new location, it will take 12 hours to become stable and accurate.
The weather station displays the weather forecast for the next 6 hours, therefore It may not match the current outdoor weather conditions.
Outdoor remote sensor
To Select Sensor Channel And To Use Auto-Scrolling Display Of Outdoor
Temperature-Humidity
Press HOLD TO SYNC SENSOR one at a time to select and display the outdoor temperature-humidity of the Channel icon
is selected, pressing once again will activate the auto-scrolling of outdoor temperature-humidity readings from each sensor. The will appear on top of the Channel icon.
If You Lose The Outdoor Temperature And Humidity
When both the outdoor temperature-humidity readouts show “–“, the wireless transmission is either interrupted or lost.
Hold HOLD TO SYNC SENSOR button until “–“ fl ashes. The outdoor data should display again within 2 minutes. If this does not happen, place the outdoor sensor next to the clock. Hold HOLD TO SYNC SENSOR again until “–“ fl ashes. Then use a pointy object to press RESET on the outdoor sensor.
Please ensure
- The sensor Channel you select on the clock, matches the Channel selector switch at the back of the outdoor sensor.
- The batteries in the outdoor sensor are at a sufficient level. Observe
If the low battery indicator
appears above the outdoor temperature- humidity readout. - Extreme cold weather (below 4°F / -20°C) may drop the voltage of the batteries of the outdoor sensor and shorten the transmission distance. If this happens, replace with lithium batteries for the outdoor sensor.
If you continue to lose the outdoor temperature display, try placing the outdoor sensor in a different location.
To Synchronise With Another Sensor
- Press HOLD TO SYNC SENSOR one at a time to select the Channel
Then hold HOLD TO SYNC SENSOR button until “– “flashes. The clock is searching for signal from the Channel 2 sensor. - Slide open the battery cover of the sensor, select Channel 2 at the back switch. Install 2 x AAA batteries. The outdoor temperature humidity of the sensor should appear in a few seconds.
- Repeat the above steps if you want to add a sensor to channel

NOTE: Only one sensor is included with the weather station. Additional sensors are available for purchase through your retailer or www.MarathonWatch.com.
Specifications

Low Battery Indicator
If the low battery indicator
appears in the upper time display, it is time to replace the unit with fresh batteries.
Trouble Shooting
If your clock does not function properly, which maybe caused by electro-static discharge or other interference, slide open the battery cover, take out the batteries and reinstall them by observing the correct +/- polarity. Your unit will be reset to the default factory settings and will need to be setup again.
Caring For Your Product
- Place your unit on a stable surface, away from sources of direct sunlight or excessive heat or moisture.
- Protect your furniture when placing your unit on a natural wood and lacquered fi nish by using a cloth or protective material between it and the furniture.
- Clean your unit with a soft cloth moistened only with mild soap and water. Stronger agents such as Benzine, thinner or similar materials can damage the surface of the unit.
- Do not mix old and new batteries. Do not mix alkaline, standard (carbon- zinc), or rechargeable (nickel-cadmium) batteries.
- If the unit is not to be used for a prolonged period, such as a month or longer, remove the batteries to prevent possible corrosion. Should the battery compartment become corroded or dirty, clean the compartment thoroughly and replace the batteries.























