EATON Green Motion Home EV Charging

Technical specifications
Technical disclaimer
All drawings, descriptions or illustrations contained in this document serve to provide a clear overview and/or technical explanation of the present product and its various components and accessories. In line with our goal to continuously improve the products and the customer service we provide, all specifications contained in this document are subject to change without notice.
The single EV charger floor-mounted column supports one EV charger. See Figure 1.

The double EV charger floor-mounted column supports two EV chargers installed back-to-back. See Figure 2.

Dimensions and weight
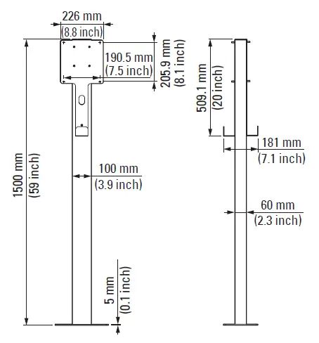
The table below shows the dimensions and weight of the single ev charger floor-mounted column.
Green Motion Home and Green Motion Building accessory Single EV charger floor-mounted column
- Dimensions (H x W x D) in mm 1497.6 x 280 x 180.5
- Weight in kg 10
- Installation method Floor-mounted
Green Motion Home and Green Motion Building accessory Double EV charger floor-mounted column
- Dimensions (H x W x D) in mm 1500 x 280 x 181
- Weight in kg 11
- Installation method Floor-mounted
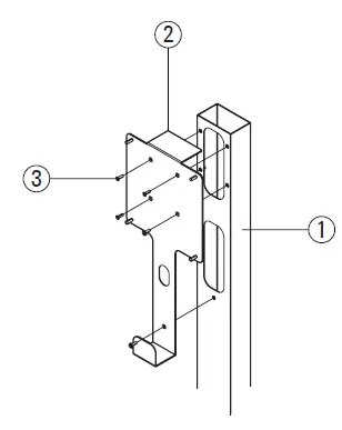
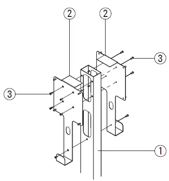
Tag Description
- Floor-mounted column
- Support plate
- Screws

Tag Description
- Floor-mounted column
- Support plate
- Screws

Installation method
Tools required for the installation
To perform the installation, professional and qualified personnel should have the following tools
- Screwdriver
- Open-ended wrenches
- Socket wrench with extension
- Drilling machine.
Materials required for the installation
To perform the installation, professional and qualified personnel should have the following items
Single EV charger floor-mounted column Double EV charger floor-mounted column Provided by Eaton
- One floor-mounted column with one support plate One floor-mounted column with two support plates ✔
- Four M6 nuts Eight M6 nuts ✔
- Four adhesive gaskets Eight adhesive gaskets ✔
- Four Ø10-mm anchors or bolts Four Ø10-mm anchors or bolts ✘
- Four Ø10-mm flat washers Four Ø10-mm flat washers ✘
Please note that the appropriate type of anchors or bolts must be selected by professional and qualified personnel, based on the following considerations:
- the installation location,
- the type of floor on which the floor-mounted column is to be mounted,
- the local rules and regulations.
Mounting
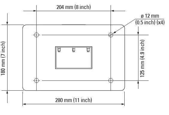
Step 1. Drill four holes for the anchors in the floor around the throughput for the power and communication cable of the EV charger, according to the dimensions given in Figure 3.
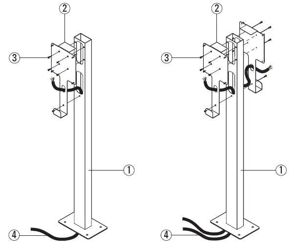
Step 2. Pull the power and communication cables through the floormounted column as indicated in Figure 4.
Step 3. Connect the floor-mounted column to the protective earth. This can be done using one of the holes used for fixing the floormounted column to the floor or any other preferred method.
Step 4. Bolt the floor-mounted column to the floor using four anchors or bolts and the flat washers.
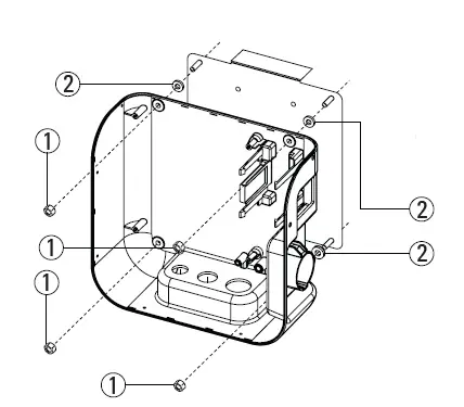
Step 5. Place four gaskets around the four slots on the outside of the unit, as shown in Figure 5.
Step 6. Install the EV charger to the support plate by pushing the four flush head studs through the backside of the EV charger and fastening the four M6 nuts. See Figure 5.
Step 7. (Optional) Repeat step 5 and 6 for the second EV charger in case of the Green Motion Home and Green Motion Building double EV charger floor-mounted column.
Figure 3. Footplate of the floor-mounted column with dimensions
Figure 4. Power and communication cables through the Green Motion Home and Green Motion Building single/double EV charger floor-mounted column

Figure 5. Mounting the EV charger on the support plate of the floor-mounted column

Tag Description
- M6 Nuts
- Adhesive gaskets
Tag Description
- Floor-mounted column
- Support plate
- Screws
- Power and communication cables
EATON Green Motion Home and Green Motion Building single/double EV charger floor-mounted column January 2022



















