
Green Motion chargers
Installation guide: Green Motion ™
Fleet Green Motion ™ Building 
Installation Guide
Product introduction
Eaton Green Motion chargers (AC Level 2) deliver fast and cost-effective charging for passenger vehicles and medium-duty trucks used for last mile delivery. Combining breakout capabilities for metering, control, integrated communications and access control with flexible installation options.
| Product Family | SKU | Description |
| Green Motion Building | GMEV40CME1B-XXY | 96 kW AC Level 2, 40 A at 240 Vac, Wi-Fi, Ethernet |
| GMEV40CMC1B-XXY | 96 kW AC Level 2, 40 A at 240 Vac, Ethernet, cellular | |
| Green Motion Fleet | GMEV80CME1B-XXY | 192 kW AC Level 2, 80 A at 240 Vac, Wi-Fi, Ethernet |
| GMEV80CMC1B-XXY | 192 kW AC Level 2, 80 A at 240 Vac, Ethernet, |
Note: Additional SKUs are offered for the above products (example: GMEV40CME1B-WCX) where ‘X’ is the identifier of CPO provider
Package contents
[A] Charger unit with 1” conduit fitting-preinstalled with 36” 3 wires and adapter plate attached 1- 9.6 kW: L1/L2 – 8 AWG, GND – 10AWG
- 19.2 kW: L1/L2 – 6AWG, GND – 8AWG
[B] Premium cord holster
[C] Twist-resistant anchor
[D] Steel hex head screw
[E] Stainless steel hex head screw
[F] Polaris lug
[G] Custom ethernet adapter
[H] 1/2” trade size flexible conduit
[J] 1/2” trade size 90-degree sweep conduit fitting
[K] O-ring for 1/2” fitting
[L] 1/2” trade size conduit fitting locknut
[M] 1” trade size conduit
[N] 1” Trade Size 90-degree conduit fitting
[P] O-ring for 1” fitting
[R] 1” Trade Size conduit fitting locknut
[S] T25 Torx wrench

Routine operation

| State | Color | Blink Type | |
| Idle / Ready | Green | No Blink | |
| Vehicle connected | Blue | Medium | |
| Vehicle connected, EVSE ready | Blue | Long | |
| Vehicle charging state, EVSE not ready (1) | Blue | Short | |
| Charging | Blue | No Blink | |
| Fault (2) | Red | Long |
- Not a valid J1772 state. EV charger will commence charging once EV is ready.
- Refer to the troubleshooting section for help on various faults.
Installation
Important safety instructions
DANGER
FAILURE TO FOLLOW THESE INSTRUCTIONS COULD RESULT IN DEATH, PERSONAL INJURY, OR PROPERTY DAMAGE. CIRCUIT BREAKERS MUST BE INSTALLED AND SERVICED BY A QUALIFIED ELECTRICIAN. REMOVE ALL POWER SOURCES TO THE PANEL BEFORE STARTING INSTALLATION OR MAINTENANCE.
WARNING
THIS EQUIPMENT SHOULD BE INSTALLED, ADJUSTED, AND SERVICED BY QUALIFIED ELECTRICAL PERSONNEL FAMILIAR WITH THE CONSTRUCTION AND OPERATION OF THIS TYPE OF EQUIPMENT AND THE HAZARDS INVOLVED. FAILURE TO OBSERVE THIS PRECAUTION COULD RESULT IN DEATH OR SEVERE INJURY.
READ THIS MANUAL THOROUGHLY AND MAKE SURE YOU UNDERSTAND THE PROCEDURES BEFORE YOU ATTEMPT TO OPERATE THIS EQUIPMENT. THE PURPOSE OF THIS MANUAL IS TO PROVIDE YOU WITH INFORMATION NECESSARY TO SAFELY OPERATE, MAINTAIN, AND TROUBLESHOOT THIS EQUIPMENT. KEEP THIS MANUAL FOR FUTURE REFERENCE.
DO NOT USE THIS PRODUCT IF THE EV CONNECTOR CORD IS FRAYED, HAS DAMAGED INSULATION, OR HAS ANY OTHER INDICATION OF DAMAGE.
DO NOT USE THIS PRODUCT IF THE EV SMART BREAKER CHARGER, THE EV CONNECTOR, OR THE LOADCENTER IS BROKEN, CRACKED, OPEN, OR SHOWS ANY OTHER INDICATION OF DAMAGE.
INTENDED FOR USE WITH PLUG-IN ELECTRIC VEHICLES ONLY. PREMISE VENTILATION NOT REQUIRED.
THIS DEVICE SHOULD BE SUPERVISED WHEN USED AROUND CHILDREN.
WARNING
TURN OFF OR DISCONNECT THE POWER SUPPLYING THIS EQUIPMENT BEFORE BEGINNING WORK. THIS MAY REQUIRE THAT YOU CONTACT YOUR ELECTRIC UTILITY TO DISCONNECT POWER TO AN EXISTING LOADCENTER. THE LINE SIDE OF THE MAIN BREAKER IS ENERGIZED UNLESS POWER IS DISCONNECTED UPSTREAM.
EATON WILL NOT ASSUME RESPONSIBILITY FOR PROPERTY DAMAGE OR PERSONAL INJURY RESULTING FROM MISUSE OF THE INFORMATION IN THIS PUBLICATION.
NOTICE INSTALL EQUIPMENT IN CONFORMANCE WITH CODES.
Grounding instructions
WARNING
IMPROPER CONNECTION OF THE EQUIPMENT-GROUNDING CONDUCTOR IS ABLE TO RESULT IN A RISK OF ELECTRIC SHOCK. CHECK WITH A QUALIFIED ELECTRICIAN OR SERVICEMAN IF YOU ARE IN DOUBT AS TO WHETHER THE PRODUCT IS PROPERLY GROUNDED.
For a permanently connected product
This product must be connected to a grounded, metal, permanent wiring system, or an equipment-grounding conductor must be run with the circuit conductors and connected to the equipment grounding terminal or lead on the product.
This product must be installed in accordance with the National Electrical Code ® (NEC ® ) and any applicable local codes. Before installing equipment, check with your local electrical inspector for requirements and information. If you have questions or need assistance, contact a qualified electrical contractor.
SAVE THESE INSTRUCTIONS.
Definitions
EVSE—Electric Vehicle Supply Equipment. EVSE is a general term used for all of the equipment used to supply electricity to the car.
J1772—SAE Recommended Practice for conductive charging of hybrid and electric vehicles.
This standard spells out the hysical dimensions of the J1772 connector and the pilot communication between the plug-in vehicle and the
EVSE. Pilot—The communication signal through the J1772 connector. This signal tells both the vehicle and the EVSE when both are ready to charge and how much current is permitted in the circuit. This signal is part of the SAE J1772 standard.
SAE—Society of Automotive Engineers. The group that organizes and leads committees of transportation experts to create standards, such as J1772, for the transportation industry.
ADA—Americans with Disabilities Act. UL ®
—Underwriters Laboratories. UL is an accredited standards developer in the U.S. and Canada.
Moving, transporting, and storage instructions
Store the equipment indoors and in its original packaging until it is ready to be installed. Storage temperature should be between –40 °C and +70 °C. Never attempt to lift, move, or carry the equipment by the EV connector cord or power cord. Improper storage or handling may cause damage to the equipment.
WARNING
ONLY QUALIFIED PERSONNEL FAMILIAR WITH THE OPERATION AND CONSTRUCTION OF THIS EQUIPMENT SHOULD INSTALL, ADJUST, MODIFY, AND SERVICE THIS EQUIPMENT. FAILURE TO FOLLOW THE INSTRUCTIONS COULD RESULT IN SEVERE BODILY INJURY OR DEATH.
NOTICE
THE USER IS RESPONSIBLE FOR CONFORMING TO ALL LOCAL AND NATIONAL ELECTRICAL CODES AND STANDARDS APPLICABLE IN THE JURISDICTION IN WHICH THIS EQUIPMENT IS INSTALLED.
NEC Article 625 requires that the coupling means of the electric vehicle supply equipment shall be stored or located at a height of not less than 18 inches (450 mm) and not more than 4 ft (1.2 m) above the floor level for indoor locations and 24 inches (600 mm)
above the grade level for outdoor locations.
WARNING – Risk of Explosion. This equipment has arcing or sparking parts that should not be exposed to flammable vapors. This equipment should be located at least 18 inches (460 mm) above the floor.
Americans with Disabilities Act requirements to consider for workplace charging installation
The ADA and workplace charging
The Americans with Disabilities Act (ADA) is a federal civil rights law that prohibits discrimination in public places against individuals with disabilities. As an employer installing plug-in electric vehicle (PEV) charging stations, also known as electric vehicle supply equipment (EVSE), you need to follow special design guidelines to accommodate people with disabilities, as required by the ADA. Although the ADA does not provide design standards for charging stationequipped parking spots, several industry
studies and PEV planning guides do. In addition, several plans developed under the U.S. Department of Energy’s (DOE) Clean Cities EV Community Readiness projects describe best practices for installing ADA-compliant charging stations.
Best practices for designing ADA-compliant PEV charging stations
When designing ADA-compliant PEV charging stations, consider accessibility, ease of use, and safety for disabled drivers, including those using wheelchairs or other assistive equipment. Key considerations include ensuring adequate space for exiting and entering the vehicle, unobstructed access to the EVSE, free movement around the EVSE and connection point on the vehicle, as well as clear paths and close proximity to any building entrances.
For information about the ADA, including the revised 2010 ADA regulations, please visit the Department’s website: http://www.ada.gov; or, for answers to specific questions, call the toll-free ADA information line at 800-5140301 (voice) or 800-514-0383 (TTY).
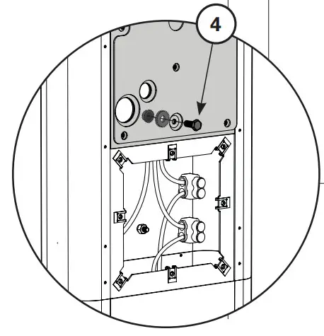
A Prepare the EV charger(s)
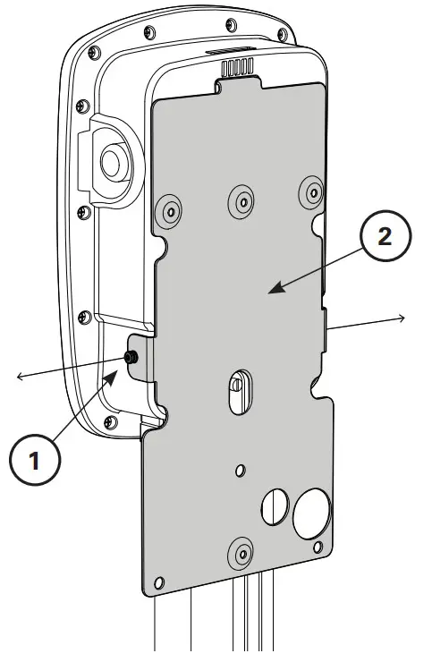
STEP A-1
Unscrew the two bolts (1) on the side of the adapter plate and remove the plate (2). Set the bolts aside for now.
Reference:
- Bolts – x2
- Adapter plate
If a SIM card is not needed, then skip this step and go to:
- Section B if mounting to a wall
- Section C if mounting to a pedestal
STEP A-2
Loosen 13 screws (1) on the rear of the charger [A], and then remove the front cover (2)
Reference:
- Fixed screws – x13
- EV charger front cover
STEP A-3
Insert the SIM card.
STEP A-4
Replace the front cover (1) and tighten the screws. Recommended screw torque is 1.0 N.m (9.6 lbf.in)
Reference:
- EV charger front cover
Repeat Steps A-1 through A-4 if you plan to install a second charger onto a pedestal
Section B is instructions for mounting an EV charger to a wall. For mounting to a pedestal, skip to Section C.
This section details the instructions for various installation options. Failure to follow these instructions may result in nonfunctional and/or unprotected equipment
Eaton suggests following the appropriate ADA installation guidelines for commercial applications
CAUTION: Ensure the EV charger’s dedicated upstream breaker handle is in the OFF position.
B Mount an EV charger to a wall
STEP B-1
Use the adapter plate (1) as a template, mark the hole pattern on the wall. Make sure two of the mounting holes are on a stud.
Use the four M6 screws [D] (2) provided to mount the adapter plate.
Reference:
- Adapter plate
- M6 screws [D] – x4
- Anchor [C] – x4
STEP B-2
Hang the EV charger [A] (1) on the adapter plate (2). Using the bolts set aside earlier (3), secure the EV charger to the adapter plate.

Reference:
- EV charger [A]
- Adapter plate
- Bolts – x2
STEP B-3
A junction box is not included in the package.
Eaton recommends following local code in selecting an appropriate junction box, suitable for the installation, to complete the line side connections.
Mount the junction box within 20 inches of the EV charger.
STEP B-4
Feed the lineside conductors (1) from the EV charger [A] (2) through a 1” trade size conduit (not included) (3).
Reference:
- Lineside conductors
- EV charger [A]
- 1” trade size conduit
STEP B-5
Insert the lineside conductors (1) into the junction box (2).
Run conductors (3) from the circuit breaker to the junction box and connect inside the junction box. Suggest using the Polaris lugs [F] provided in the kit for wiring inside the junction box. Secure the cover of the junction box (4).
Follow local guidelines to secure the cover and knock-out holes of the junction box.
Reference:
- Lineside conductors
- Junction box
- Conductors from circuit breakers
- Junction box cover
Steps B-6 and B-7 are optional: RJ45 (Ethernet) cable wiring
STEP B-6 Optional Remove the cap (1) of the Ethernet port on the EV charger [A] (2).

Reference:
- Cap
- EV charger [A]
STEP B-7 Optional
Thread the Ethernet cable through the 1/2” trade size flexible conduit [H] (1) and and the custom Ethernet adapter (2).
Plug the Ethernet cable into the port (3) on the EVcharger [A] (4).
Screw the custom Ethernet adapter [G] (2) to the EV charger [A] (4). Push the conduit [H] (1) into the custom Ethernet adapter [G] (2).

Reference:
- 1/2” trade size flexible conduit [H]
- Custom Ethernet adapter [G]
- Ethernet port
- EV charger [A]
STEP B-8
Mount the premium cord holster [B] (1) using the steel hex head screws [D] (2).
Please refer to the ADA website for additional accessibility requirements.

Reference:
- Premium cord holster [B]
- Steel hex head screws [D] – x3
- Anchors [C] – x3
Use anchors [C] (3) for screws not on a stud
STEP B-9
BEFORE ENERGIZING WALL CHARGER, RE-CHECK ALL ELECTRICAL CONNECTIONS AFTER ALL WIRING HAS BEEN COMPLETED
Reconnect power to the upstream circuit by switching circuit breaker to the ON position.
Energize the loadcenter or the panelboard. The EV charger electronics should power immediately, and the LCD will indicate the status of the charger.
Installation is complete. Turn to page 17 to commission the EV charger.
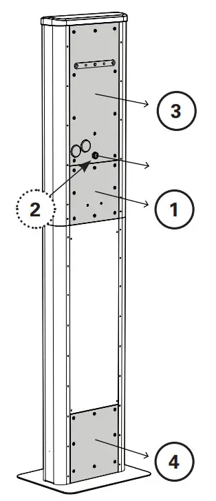
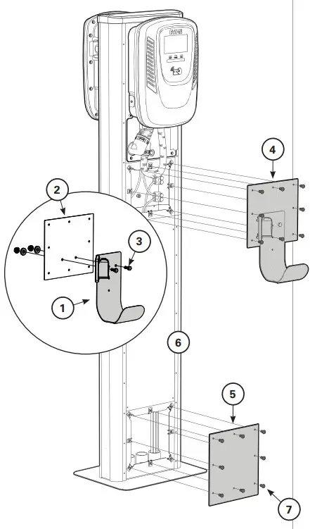
C Mount an EV charger to a pedestal
STEP C-1
Remove the middle rear cover panel (1).
If you have a dual pedestal, remove the hex head screw, neoprene washer, and locknut (2).
For all pedestals, remove the top (3) and bottom cover panels (4).
Reference:
- Middle rear cover panel
- Hex head screw assembly
- Top rear cover panel
- Bottom rear cover panel

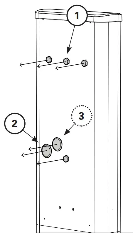
STEP C-2
On the front of the pedestal, remove the four hex head screws, neoprene washers, and locknuts (1).
Remove NEMA plug (2). Only remove second NEMA plug (3) if you intend to connect to Ethernet.
Reference:
- Hex head screw assembly – x4
- Front NEMA plug
- Front NEMA plug
STEP C-3
Remove the serrated flange nuts and neoprene washers (1) from the cord hook (2) that came with the EV pedestal. With that hardware, install the premium cord holster [B] (3) onto the pedestal using 1/4-20 hex head bolts, washers, and serrated flange nuts. (4).
Install the adapter plate (5) onto the front of the pedestal (6) using four 1/4-20 hex head bolts, washers, and serrated flange nuts (7).
Reference:
- Serrated flange nuts/washers – x2
- Cord hook
- Premium cord holster [B]
- 1/4-20 hex head bolts, washers, serrated flange nuts – x2
- Adapter plate
- EV pedestal
- 1/4-20 hex head bolts, washers, serrated flange nuts – x4
STEP C-4
Hang the EV charger [A] (1) on the adapter plate (2) and install the two retention screws (3).

Reference:
- EV charger [A]
- Adapter plate
- Retention screws – x2
STEP C-5
Construct the pedestal mount conduit assembly by pressing the 1” trade size conduit (3” length) [M](1) into the 1-inch trade size 90-degree conduit fitting [N] (2).
Place an o-ring [P] (3) on the 90-degree fitting [N] (2) Slide the pedestal mount conduit assembly (4) onto the lineside conductors (5) and up into the EV charger [A] (6), where it press-fits.

Reference:
- 1” trade size conduit [M]
- 90° conduit fitting [N]
- O-ring [P]
- Conduit assembly
- Lineside conductors
- EV charger [A]
STEP C-6
Feed the lineside conductors (1) through the opening in the pedestal and through the 1″ conduit locknut [R] (2). Insert the conduit assembly (3) into the pedestal and connect the locknut [R] (2) to it.
Reference:
- Lineside conductors
- 1” conduit locknut [R]
- Conduit assembly
Steps C-7 through C-9 are optional: RJ45 (Ethernet) cable wiring
STEP C-7 Optional
Place a 1/2” o-ring [K] (1) onto the threaded end of the trade size 90-degree sweep conduit fitting [J] (2). Remove the Ethernet port cap (3) on the EV charger [A] (4).
Reference:
- O-ring for 1/2” fitting [K]
- 1/2” trade size 90-degree sweep fitting [J]
- Cap
- EV charger [A]
STEP C-8
Optional
Feed an Ethernet cable (1) through the 1/2” plastic nut [L] (2), and the small opening in the EV pedestal (3).
Feed the Ethernet cable through the 90-degree sweep conduit fitting [J] (4), 1/2” flexible conduit [H] (5), and custom Ethernet adapter [G] (6). Plug the Ethernet cable into the port (7) on the EV charger [A].
Screw the custom Ethernet adapter [G] (6) to the EV charger [A].
Push the conduit [J] (5) into the custom Ethernet adapter [G] (6).
Reference:
- Ethernet cable
- 1/2” plastic nut [L]
- Small opening in EV pedestal
- 1/2” trade size 90-degree sweep conduit fitting [J]
- 1/2” trade size flexible conduit [H]
- Custom Ethernet adapter [G]
- Ethernet port
STEP C-9
Optional
Push the conduit [H] (1) into the 1/2” trade size 90-degree sweep conduit fitting [J] (2)
Feed the conductors and the threads of the 90-degree conduit fitting [J] (2) through the small cutout on the pedestal (3). Use the plastic nut [L] (4) to secure the fitting in place.

Reference:
- 1/2” trade size flexible conduit [H]
- 1/2” trade size 90-degree sweep conduit fitting [J]
- Small opening in pedestal
- 1/2” plastic nut [L]
STEP C-10
Cut the L1 and L2 charger conductor to the desired lengths and connect them with their respective power cables using two Polaris lugs [F] (1).

Reference:
- Polaris lugs [F]
STEP C-11
Install a ring terminal on the EV charger ground conductor and connect it to the pedestal ground stud (1). Secure the ring terminal to the pedestal ground stud using a 1/4-20 serrated flange nut.
Reference:
- EV charger ground conductor
If you are installing a second EV charger onto the same EV pedestal, then skip to Section D.
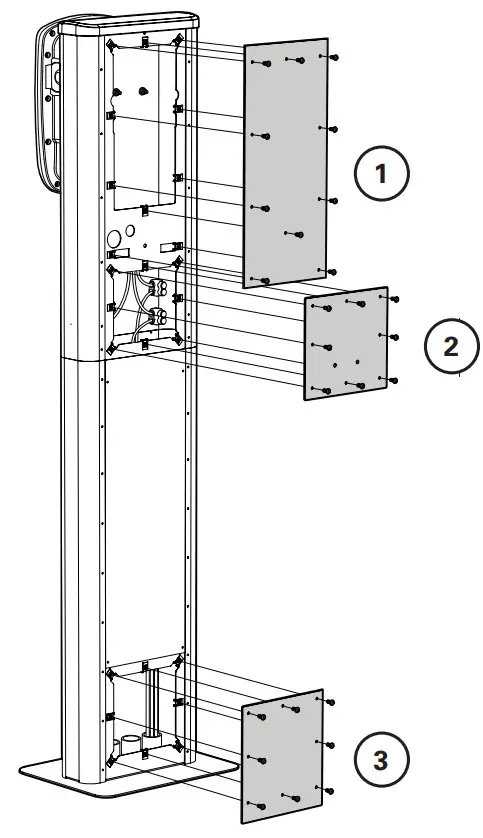
STEP C-12
Replace the three access panels starting with the top panel.
STEP C-13
BEFORE ENERGIZING WALL CHARGER, RE-CHECK ALL ELECTRICAL CONNECTIONS AFTER ALL WIRING HAS BEEN COMPLETED
Reconnect power to the upstream circuit by switching circuit breaker to the ON position
Energize the loadcenter or the panelboard. The EV charger electronics should power immediately, and the LCD will indicate the status of the charger. 
Installation is complete.
Turn to page 17 to commission the EV charger.
D Mount a second EV charger to a pedestal
STEP D-1
Remove the bracket (1) and NEMA plug (2) from theupper access panel (4). Only remove NEMA plug (3) if you intend to connect the EV charger to Ethernet.
Reference:
- Bracket
- NEMA plug
- NEMA plug (Ethernet)
- Upper access panel
- Adapter plate
- Hex bolts, washers, nuts – x3

Install adapter plate (5) to upper access panel (4) using the top three holes with hex bolts, washers, nuts (6).

STEP D-2
Install the adapter plate/access panel assembly (1) onto the pedestal (2) using the ten speed screws (3).


Reference:
- Adapter plate
- Pedestal
- Speed screws – x10
- Hex bolts, washers, nut
STEP D-3
Repeat Steps C-3 through C-11 to mount the second EV charger.
STEP D-4
Attach the premium cord holster [B] (1) to the middle access cover (2) using the 1/4-20 hex head bolts, washers, and locknuts (3).
Install the middle access panel (with the premium hook installed) (4) and the lower access panel (5) to the EV pedestal (6) using speed screws (7).
Reference:
- Premium cord holster [B]
- Middle access panel
- 1/4-20 hex head bolts, 1/4” washers, 1/4-20 locknuts
- Mid-panel assembly
- Lower access panel
- EV pedestal
- #10 speed screws
STEP D-5
BEFORE ENERGIZING WALL CHARGER, RE-CHECK ALL ELECTRICAL CONNECTIONS AFTER ALL WIRING HAS BEEN COMPLETE
Reconnect power to the upstream circuit by switching circuit breaker to the ON position
Energize the loadcenter or the panelboard. The EV charger electronics should power immediately, and the LCD will indicate the status of the charger. 
Installation is complete.
Turn to page 17 to commission the EV charger.
FCC
FCC ID
This device complies with part 15 of the FCC rules.
Operation is subject to the following two conditions:
- This device may not cause harmful interference, and
- This device must accept any interference received, including interference that may cause undesired operation.
RF radiation exposure statement
This equipment complies with FCC RF radiation exposure limits set forth for an uncontrolled environment. This equipment should be installed and operated with a inimum distance of 20 centimeters between the radiatorand your body.
Canada low-power license exempt radio communication devices (RSS-210)
Common information operation is subject to the following two conditions:
- This device may not cause interference, and
- This device must accept any interference, including interference that may cause undesired operation of the device.
| SKU | FCC ID |
| GMEV40CME1B-XXY | UH2-GMEV40B |
| GMEV40CMC1B-XXY | UH2-GMEV40B |
| GMEV80CME1B-XXY | UH2-GMEV80B |
| GMEV80CMC1B-XXY | UH2-GMEV80B |
Wi-Fi commissioning and operation .
Refer to the product webpage below for detailed instructions on commissioning the charger using Wi-Fi, Ethernet or cellular and connect to a CPO provider
WIFI module: Contians FCC ID:2AC7Z-ESPWROOM32UE
44G commissioning and operation
4G module: Contians FCC ID: XMR201909EC25AFX
https://www.eaton.com/us/en-us/catalog/emobility/green-motion-fleet.resources.html
Maintenance
Your Green Motion EV charger contains no user serviceable parts. Do not attempt to repair or service any other part of the unit yourself. If the unit requires servicing, please contact Eaton customer service. The installation, maintenance, and servicing of your EV charger must only be performed by qualified personnel in accordance with applicable local regulations.
Protect your EV charger from any external impact. Take appropriate precautions with electronic medical implants.
Disconnect the main service power to your charger before cleaning the unit. Do not use cleaning solvents to clean any part of your charger. Use a clean, dry cloth to remove accumulated dust and dirt.
Ensure that the EV charging cable is positioned in such a way so that it will not be stepped on, tripped over, or subjected to damage or stress. Do not close your garage door on the charging cord. Best practice for EV charging cable storage when not in use is to wrap the cord around the premium cord hook and holster provided.
Green Motion Fleet & Green Motion Building
Technical specifications
| Description ption | Specification | ||
| number | GMEV80CME1B-XXY | GMEV80CMC1B-XXY | GMEV40CME1B-XXY GMEV40CMC1B-WCXXY |
| Electrical input | |||
| Input power | 19.2kW at 240Vac; 16.6kW at 208Vac | 9.6kW at 240Vac; 8.3kW at 208Vac | |
| Input voltage | 208-240 Vac | 208-240 Vac | |
| Input (amperage) current | 80 A | 40 A | |
| Input OCPD (Breaker) rating | 100 A | 50 A | |
| Electrical output | |||
| Power output | 19.2kW at 240Vac; 16.6 kW at 208Vac | 9.6kW at 240Vac: 8.3kW at 208Vac | |
| Output voltage | 208/240 Vac | 208/240 Vac | |
| Output amperage | 80 A | 40 A | |
| Connectivity | Wi-fi, Ethernet Cellular, Ethernet | Wi-fi, Ethernet Cellular, Ethernet | |
| Other specifications | |||
| Connector | SAE J1772 | ||
| Wiring | Hardwire | ||
| RFID | Yes | ||
| Overvoltage protection | Yes | ||
| Mounting options | Wall and pedestal mount | ||
| LED indications | R/G/B LEDs to indicate charger status | ||
| Cable length (in feet) | 25 | ||
| Safety | ETL | ||
| Ground fault protection | 20 mA | ||
| Overcurrent protection | Yes | ||
| Frequency rating | 50/60 Hz | ||
| Ambient operating temperature | —30 °C to +50 °C | ||
| Storage temperature | —40 °C to +70 °C | ||
| Humidity | 0% to 95%, noncondensing | ||
| Warranty | 3 years | ||
| Enclosure | NEMA-3R rated for outdoor installation | ||
| Certifications | ETL, SAE, NFPA, FCC Part 15, Energy Star, OCPP 1.6J | ||
Warranty statement
Warranty for Products. Seller warrants that the Products manufactured by it will conform to Seller’s applicable specifications and be free from failure due to defects in workmanship and material for three (3) year from the date of original purchase. In the event any Product fails to comply with the foregoing warranty Seller will, at its option, either (a) repair or replace the defective Product, or defective part or component thereof, with an equivalent Product or component, F.O.B. Seller’s facility freight prepaid, or (b) credit Buyer for the purchase price of the Product. All warranty claims shall be made in writing. Seller requires all non-conforming equipment and material be returned for evaluation unless specifically stated otherwise in writing by Seller. This warranty does not cover failure or damage due to storage, installation, operation, or maintenance not in conformance with Seller’s recommendations, including as set forth in these Terms and Conditions of Sale, and industry standard practice or due to accident, misuse, abuse, or negligence. This warranty does not cover breach of data or system security, including that of information technology infrastructure, computers, software, hardware, databases, electronic systems (including database management systems), and networks. This warranty does not cover reimbursement for labor, gaining access, removal, installation, temporary power, or any other expenses, which may be incurred in connection with repair or replacement. This warranty does not apply to equipment not manufactured
by Seller. Seller limits itself to extending the same warranty it receives from the third-party supplier, to the extent such third party permits assignment of its warranty. For all other Terms and Conditions of Sale, please refer to Eaton’s Selling Policy 25-000.
Troubleshooting
| Condkion | TroubleshootingTip |
| Why is my EV charger not charging my EV? | Check to see if the EV charger is powered and the LCD screen is showing the home screen. If not, check if the EV charger is wired properly and the circuit breaker is closed. If the problem persists, contact and certified electrician. If the EV charger continues to show ‘Plug in your vehicle’ screen, then make sure the J1772 connector is properly plugged into the EV. If the EV charger is displaying an authentication screen (Scan QR or Swipe Card to Start), then it is networked charger managed by a CPO. You will need the CPO subscription and authorization credentials to use this charger. |
| I see a blinking BLUE LED but my EV charger and my EV Is not charging. | Blinking BLUE LED indicates that EV charger is plugged into an EV but either the EV charger or the EV are not ready to start the charging. Refer to the ‘Routine Operation’ section of the Instruction Leaflet for more details. If the EV is not ready, check if its battery is fully charged or if there is a fault on the EV that is preventing it from initiating a charge. |
| Why do I see the ‘authorization failed’ message on the EV charger? | If an RFID is used for authentication, please make sure that RFID card used is issued by the authorized CPO. Swipe the card over the RFID module properly and make sure that you hear a beep from the charger. Note that the authentication screen is timed. If authentication process does not start within the stipulated time, the EV charger will timeout and ‘authentication failed’ messgae is displayed. Contact a certified electrician to make sure the RFID module is not disconnected from the main EV charger electronics |
| Why Is the LCD screen on my EV charger blank? | Check if the EV charger is wired properly and the circuit breaker is closed. Restore the EV connector back to the charger and try to reset the circuit breaker powering the charger. If the problem still persists, contact and certified electrician. |
| I see a blinking RED LED on my EV charger. What does this mean and how can I resume normal operation? | RED LED on the EV charger blinks for various fault conditions. Some of those conditions are discussed below: 1.Over-voltage fault: RED LED flashes one every 3 seconds. 2.Under-voltage fault: RED LED flashes twice every 3 seconds. 3.Ground Fault: RED LED flashes six times every 3 seconds. To resolve these conditions, contact a certified electrician to check Voltage levels feeding the charger. Check for any obvious grounding issues in wiring. Also check if L1, L2 and GND wires are connected per guidelines. |
| I unplugged EV connector In the middle of a charge and now the EV charger Is not charging. | If you were using a networked charger that is controlled by a CPO, then removing the EV connector in the middle of a charge session will end that session. A new session needs to be initiated. For a non-networked charger, a new charging session will automatically start once the EV connector is plugged back into the EV. |
| Have trouble connecting the EV charger to the CPO | Refer to the EV charger product page for instructions on commissioning the EV charger using Wi-Fi, Ethernet, or cellular and connecting to a CPO provider. |
| Scan for more troubleshooting tips on various error codes. | ![]() https://www.eaton.com/us/en-us/catalog/emobili|y/green-motion-fleet.resources.html |
FCC Statement:
This device complies with part 15 of the FCC Rules. Operation is subject to the following two conditions: (1) This device may not cause harmful interference, and (2) this device must accept any interference received, including interference that may cause undesired operation.
This equipment has been tested and found to comply with the limits for aClass B digital device, pursuant to part 15 ofthe FCCRules. Theselimits aredesigned to provide reasonable protection against harmful interference in a residential installation. This equipmentgenerates, usesandcanradiateradiofrequencyenergyand,ifnotinstalled andused inaccordance withthe instructions, may causeharmfulinterferencetoradio communications.However,there isno guaranteethatinterferencewill notoccur ina particularinstallation.Ifthisequipmentdoescauseharmfulinterferencetoradioor television reception, which can be determined by turning the equipment off and on, the user is encouraged to try to correct the interference by one or more of the following measures:
—Reorient or relocate the receiving antenna.
—lIncrease the separation between the equipment and receiver.
—Connect the equipment into an outlet on a circuit different from that to which the receiver is connected.
—Consult the dealer or an experienced radio/TV technician for help.
Caution: Any changes or modifications not expressly approved by the party responsible for compliance could void the user’s authority to operate the equipment.
Thisequipment complies withFCC radiation exposure limits setforth for an uncontrolled environment. This transmitter must not be co-located or operating in conjunction with any other antenna or transmitter. This equipment should be installed and operated
with minimum distance 20cm between the radiator&your body.
Eaton
1000 Eaton Boulevard
Cleveland, OH 44122
United States
Eaton.com
Eaton is a registered trademark. © 2023 Eaton
All Rights Reserved Printed in USA
Publication No. IL191012EN (Rev.04) February 2023
All trademarks are property of their respective owners.
Scan here for Spanish translations



















