HANYOUNG NUX TPR-3SL EP Thyristor Power Regulator

Thank you for purchasing Hanyoung Nux products. Please read the instruction manual carefully before using this product, and use the product correctly. Also, please keep this manual where you can view it any time.
Safety information
Please read the safety intormation caretully betore the use, and use the product correctly. The alerts declared in the
manual are classified into Danger, Warning and Caution according to their importance
- DANGER Indicates an imminently hazardous situation which, if not avoided, will result in death or serious injury
- WARNING Indicates a potentialy hazardous situation which, if not avoided, could result in deathor serious injury
- CAUTION Indicates a potentialy hazardous situation which, if not avoided, may result in minor injury or property damage
DANGER
To prevent electric shock while it is running, put to earth with the fixed screw of the unit and do not touch the heat sink since it is very hot. Do not touch or contact the input/output terminals because they cause electric shock.
WARNING
- If there is a possibility that a malfunction or abnormality of this product may lead to a seious accident, install an appropriate protection circuit on the outside.
- Any use of the product other than those specified by the manufacturer may result in personal injury or property damage.
- Since this product is not designed as a safety device if it is used with systems, machines and equipment that could lead to a risk
of life or property damage, please implement safety devices and protections for both lives and the applications and plan for preventing accidents - Please supply the rated power voltage, in order to prevent
- product breakdowns or malfunctions.
- To prevent electric shocks and malfunctions, do not supply the power until the wiring is completed.
- Never disassemble, modify, process, improve or repair this product, as it may cause abnormal operations, electric shocks or fires
- Please disassemble the product after turning OFF the power.
- Failure to do so may result in electric shocks, product abnormal operations or malfunctions.
CAUTION
- Since the product operating environment influences the product performance and expected life span, please avoid using in the following places.
- a place where humidity is high and air flow is inappropriate.
- a place where dust or impurity accumulates, ambient temperature is high and vibration level is high.
- a place where corrosive gases (such as harmful gases, ammonia, etc.) and flammable gases occur.
- a place where there is direct vibration and a large physical impact to the product.
- a place where there is water, oil, chemicals, steam, dust, salt, iron or others (Contamination class 1 or 2),
- a place where excessive amounts of inductive interference and electrostatic and magnetic noise Occur.
- a place where heat accumulation occurs due to direct sunlight or radiant heat.
- Please do not wipe the product with organic solvents such as alcohol, benzene, etc. (use neutral detergents).
- When water enters, short circuit or fire may occur, so please inspect the product carefully.
- Please connect the product and other units after tuming off all the power of the product, instruments and units.
- Please make sure that the thyristor power regulator (TPR) is installed vertically.
- Please install the product inside of the control panel and install an exhaust fan onto the top of the control panel.
- Pay attention to the edge of heat sink which is sharp.
- Please close the cover after installation in the place in which there is a cover.
- The external circuit connected with the product should be connected by an insulated circuit more than basic insulation.
- The temperature of the body and the heat sink may be extremely high when electric current is applied, which may cause burns.
Suffix code

- The circuit power and tan power must be applied separately 100- 240 V a.c.
- 130 A, 160 A products are FAN power 24 V d.c. Voltage must be applied.
Specification

Connection diagram
Connection diagram of load terminal

- Inside of TPR, the fuse is installed in the R,S,T input power supply portion depending on the specification of options
- When connecting terminals, please use crimp connectors and securely fasten them due to the high current flow. (Max space for solder less terminal connection is 40/55/70 A: 16 mm, 90/130 A : 26 mm)
- Only one channel can be used per temperature controller. (Serial connection disabled)
- Since the internal GND is not separated, use a module or temperature controller that has separate analog inputs for each channel.
Connection diagram of input signal and power terminal
- 40/55/70/90 A

- Extra input power supply (For circuit power and FAX operation power) : 100 – 240 V a.c. (13, 14) Have to connect power to operate unit (Even if do not need to use FAN).
- 130/160 A

- Extra input power supply (For circuit power): 13, 14
- FAN-driven power source: 15, 16
Connection diagram of signal and alarm terminal

- NO. 1,2: RS485 Communication connection port
- NO.3,4:Channel 14-20 mA d.c. input
- NO.5,6:Channel 2 4-20 mA d.c. input
- NO.7,8:Channel 34-20 mA d.c. input
- NO.9,10:Alarm1 caution
- “caution” The alarm is not a serious problem, but it is an alarm that needs to be checked by the user due to abnormal symptoms. At this time, the TPR output will go out to normal and only the alarm will be output.
- Caution error: partial load disconnection, heat sink overheat (60 °C), Overcurrent, power failure, fuse disconnection, FAN error
- NO. 11, 12: Alarm2 warning
- If a “Warning” alarm can cause damage to the product and the load, a warning will be issued in the following emergency situations. At this time, the TPR will stop the output itself.
- Warning error: Heat sink overheat (80 °C), SCR conduction (Short)
- Once it enters the normal state by supplies of circuit power ( 100 240 Va.c.) and load power, the alarm relay is short-circuited and it is opended when alarm occurs. (“B” contact normally close) In case of using “A” contact, inquire separately
- If an alarm condition occurs, an alarm is output after 3 seconds, and if the alarm condition is released within 3 seconds, an alarm No output.
Installation panel cutout
unit :mm

Part name and function

LED indicator and explanation

Internal dip switch operation

Function descriptions
Phase control

Phase control is to control the AC power supply applied to the load proportionally according to the control input signal as changing phase angle (0 180 degree) in a each half cycle, 8.33 ms.
Fixed cycle control

As setting the constant cycle of the output, fixed cycle control is to control the AC power supply repeatedly with a constant rate of ON/OFF according to the control input.
Variable cycle control

Without setting a constant cycle, variable cycle control is to control AC power supply with using the number of cycle.
Restart function
- When a warning or caution alarm occurs, TPR gives alarmlor2 or stop the output.
- This function is used to return to normal operation mode when factors caused errors are eliminated.
- This function is able to set up when Fuse/Power Supply is in disorder, Heat sink over heat, SCR Short is occurred.
(When Overcurrent is occurred, this function is not working)
VR Explanation
- SOFT
- This is the function to set the soft start and soft up/down times. (Set via external VR)
- Soft start : It is a function to protect against load with large starting current (inrush current) and it gradually increases output operates when poweris turned on while control input is applied, and is set to 50 seconds at maximum VR. (ex: 20 mA:50 seconds, 12 mA: 25 seconds,)
- If VR is set to the minimum, this function does not work, and the time is reduced as VR is changed to the left.

- 0.C
- Function to protect power regulator (TPR) and load when overcurrent occurs. (Phase control only)
- At the time of shipment, it is set to about 120 % of the product rating, and the through communication.
- Output limit function
- It is a function to limit the output separately from the control input signal. It can be set through communication and the maximum output amount is limited according to the set value.
- Set to 100 % at the time of shipment

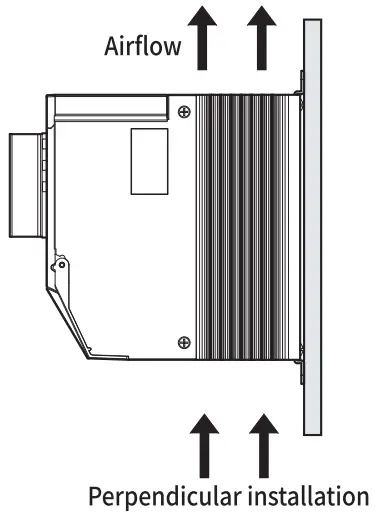
Installation
- Please install it perpendicularly. If the product is installed vertically in unavoidable circumstances, please use 50% of rated current.
- When multiple products are closely installed, please install them with keeping a distance of more than a width of 5cm and a length of 1Ocm as shown in the picture.
- In order to not block the air flow, please install the wiring duct less than the half of the heat sink height.
- Please consider whether the air flow is good enough when installing the product. If the ambient temperature is as low as possible in the inside then the life span of the product is increasing as the durability and reliability of the product are improving. The operating ambient temperature is 040 °C.
Please refer to the following graph. However, if the ambient temperature is higher than 40 °C, the maximum load current is decreasing like the below. - When connecting R and U, please securely fasten them with using crimp connectors since high current flows into these terminals. If the contact surface of the connectors and terminals are poor, it may lead to a fire since the wires and terminal gets overheated.
- Before applying power, this model need more than the third class grounding to prevent electric shock.
This model does not have separate grounding terminal so we suggest using grounding ternminal and bracket together when install this model to a panel.
- Tighten the screws of the terminal block with the specified torque.
M3.5: 0.6~1.2 N.m /M6:4.414.9 N.m M8:8.82~9.80 N.m


Communication
- Communication method : RS485 2-wire half-duplex
- Communication speed: 2400, 4800, 9600, 19200 bps
- Maximum number of connections: 31
- Protocol: ModBus RTU, ModBus ASCII
Address (ID) setting
- Set the ID with DIP S/W no. 1-5
- Set 1 31 (except 0).
- When communication setting is changed, the change is applied after reset.

Communication protocol selection
Set the communication protocol with DIP S/W no. 8

Communication speed setting
Set the communication speed with DIP S/W no. 6 or 7

Communication setting (ModBus RTU/ASC II)






- 200: If it is 1, the status is being scanned. 0 is displayed after scanning is completed (3 channels are scanned at the same time)
- 201: Control method setting status being scanned
- 202: If it is 1, the scan is completed and the heater value is stored in the internal storage device (lIf it is 0, it is not saved, not scanned)
- 204: Set to 3 for 3 heaters (Low load malfunction concern Output 20% or less Detection prohibited)





























