TRIO 614300430 Tailor 4x10W Mounted Ceiling Lamp

WARNING!
Before assembling, please read carefully the safety instructions!
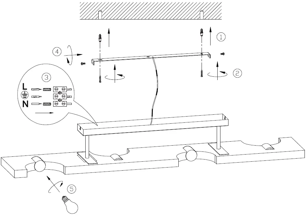
Assembling Instructions

Specification
- 230V ~ 50Hz, 4x E27 / max. 10W
Feature

Info

614300430.
TRIO Leuchten GmbH | Gut Nierhof 17 | D-59757 Arnsberg | www.trio-lighting.com.



















