AOC AG325QZN LCD Monitor

The AOC AG325QZN is a high-performance LCD monitor that provides a large display with excellent image quality. It is equipped with numerous features and functions that make it an ideal choice for gamers, professionals, and anyone who requires a large display for their work or entertainment needs.
Product Safety
The AOC AG325QZN is designed with safety in mind. It should only be operated with the type of power source indicated on the label. The monitor comes with a three-pronged grounded plug, which will only fit into a grounded power outlet. This plug is a safety feature that should not be defeated. If your outlet does not accommodate the three-wire plug, have an electrician install the correct outlet or use an adapter to ground the appliance safely. Unplug the unit during a lightning storm or when it will not be used for long periods to protect the monitor from damage due to power surges. Do not overload power strips and extension cords as it can result in fire or electric shock.
Product Installation
The AOC AG325QZN should not be placed on an unstable cart, stand, tripod, bracket, or table, as it may fall and cause injury or serious damage to the product. Use only a cart, stand, tripod, bracket, or table recommended by the manufacturer or sold with this product. When installing the product, follow the manufacturer’s instructions and use mounting accessories recommended by the manufacturer. If you mount the monitor on a wall or shelf, use a mounting kit approved by the manufacturer and follow the kit instructions. Leave some space around the monitor to ensure air circulation and prevent overheating that may cause fire or damage
to the monitor. To avoid potential damage to the panel peeling from the bezel, ensure that the monitor does not tilt downward by more than -5 degrees.
Product Cleaning
Clean the cabinet regularly with a water-dampened, soft cloth. When cleaning use a soft cotton or microfiber cloth. The cloth should be damp and almost dry, do not allow liquid into the case.Disconnect the power cord before cleaning the product.
Product Troubleshoot
In case of any issues or problems with the monitor, refer to the troubleshooting section in the user manual.
Product Specification
For detailed specifications and technical information about the AOC AG325QZN LCD monitor, refer to the specification section in the user manual or visit the AOC website at www.aoc.com.
Product Usage Instructions
To use the AOC AG325QZN LCD monitor, follow these simple steps:
- Connect the monitor to a power source using the supplied power cord.
- Connect the monitor to your computer using a VGA, DVI, HDMI, or DisplayPort cable.
- Turn on your computer and then turn on the monitor by pressing the power button.
- Use the OSD (On-Screen Display) menu to adjust settings such as brightness, contrast, and color temperature to your preference.
- Start using the monitor for your work or entertainment needs.
Safety
National Conventions
The following subsections describe notational conventions used in this document.
Notes, Cautions, and Warnings
Throughout this guide, blocks of text may be accompanied by an icon and printed in bold type or in italic type. These blocks are notes, cautions, and warnings, and they are used as follows:
- NOTE: A NOTE indicates important information that helps you make better use of your computer system.
- CAUTION: A CAUTION indicates either potential damage to hardware or loss of data and tells you how to avoid the problem.
- WARNING: A WARNING indicates the potential for bodily harm and tells you how to avoid the problem.Some warnings may appear in alternate formats and may be unaccompanied by an icon. In such cases, the specific presentation of the warning is mandated by regulatory authority.
Power
- The monitor should be operated only from the type of power source indicated on the label. If you are not sure of the type of power supplied to your home, consult your dealer or local power company.
- The monitor is equipped with a three-pronged grounded plug, a plug with a third (grounding) pin. This plug will fit only into a grounded power outlet as a safety feature. If your outlet does not accommodate the three-wire plug, have an electrician install the correct outlet, or use an adapter to ground the appliance safely. Do not defeat the safety purpose of the grounded plug.
- Unplug the unit during a lightning storm or when it will not be used for long periods of time. This will protect the monitor from damage due to power surges.
- Do not overload power strips and extension cords. Overloading can result in fire or electric shock.
- To ensure satisfactory operation, use the monitor only with UL listed computers which have appropriate configured receptacles marked between 100-240V AC, Min. 5A.
- The wall socket shall be installed near the equipment and shall be easily accessible.
Installation
- Do not place the monitor on an unstable cart, stand, tripod, bracket, or table. If the monitor falls, it can injure a person and cause serious damage to this product. Use only a cart, stand, tripod, bracket, or table recommended by the manufacturer or sold with this product. Follow the manufacturer’s instructions when installing the product and use mounting accessories recommended by the manufacturer. A product and cart combination should be moved with care.
- Never push any object into the slot on the monitor cabinet. It could damage circuit parts causing a fire or electric shock. Never spill liquids on the monitor.
- Do not place the front of the product on the floor.
- If you mount the monitor on a wall or shelf, use a mounting kit approved by the manufacturer and follow the kit instructions.
- Leave some space around the monitor as shown below. Otherwise, air-circulation may be inadequate hence overheating may cause a fire or damage to the monitor.
- To avoid potential damage, for example the panel peeling from the bezel, ensure that the monitor does not tilt downward by more than -5 degrees. If the -5 degree downward tilt angle maximum is exceeded, the monitor damage will not be covered under warranty.
- See below the recommended ventilation areas around the monitor when the monitor is installed on the wall or on the stand:
Installed with stand

Cleaning
- Clean the cabinet regularly with a water-dampened, soft cloth.
- When cleaning use a soft cotton or microfiber cloth. The cloth should be damp and almost dry, do not allow liquid into the case.

- Please disconnect the power cord before cleaning the product.
Other
- If the product is emitting a strange smell, sound or smoke, disconnect the power plug IMMEDIATELY and contact a Service Center.
- Make sure that the ventilating openings are not blocked by a table or curtain.
- Do not engage the LCD monitor in severe vibration or high impact conditions during operation.
- Do not knock or drop the monitor during operation or transportation.
- The power cords shall be safety approved. For Germany, it shall be H03VV-F/H05VV-F, 3G, 0.75 mm2, or better.
- For other countries, the suitable types shall be used accordingly.
- Excessive sound pressure from earphones and headphones can cause hearing loss. Adjustment of the equalizer to maximum increases the earphones and headphones output voltage and therefore the sound pressure level.
Setup
Contents in Box

- Not all signal cables will be provided for all countries and regions. Please check with the local dealer or AOC branch office for confirmation.
Setup Stand & Base
Please setup or remove the base following the steps as below.
Setup:

Remove:

Adjusting the monitor
For optimal viewing it is recommended to look at the full face of the monitor, then adjust the monitor’s angle to your own preference. Hold the stand so you will not topple the monitor when you change the monitor’s angle. You are able to adjust the monitor as below:
NOTE:
Do not touch the LCD screen when you change the angle. Touching the LCD screen may cause damage.
Warning
- To avoid potential screen damage, such as panel peeling, ensure that the monitor does not tilt downward by more than -5 degrees.
- Do not press the screen while adjusting the angle of the monitor. Grasp only the bezel.
Connecting the Monitor
Cable Connections In Back of Monitor and Computer:
- Power
- USB3.2 Gen1 upstream
- USB3.2 Gen1 downstream + fast charging x1 USB3.2 Gen1 downstream x1
- USB3.2 Gen1 downstream x2
- HDMI 1
- HDMI 2
- DP1
- DP2
- Earphone
Connect to PC
- Connect the power cord to the back of the display firmly.
- Turn off your computer and unplug its power cable.
- Connect the display signal cable to the video connector on the back of your computer.
- Plug the power cord of your computer and your display into a nearby outlet.
- Turn on your computer and display. If your monitor displays an image, installation is complete. If it does not display an image, please refer Troubleshooting. To protect equipment, always turn off the PC and LCD monitor before connecting.
Wall Mounting
Preparing to Install An Optional Wall Mounting Arm.
This monitor can be attached to a wall mounting arm you purchase separately. Disconnect power before this procedure. Follow these steps:
- Remove the base.
- Follow the manufacturer’s instructions to assemble the wall mounting arm.
- Place the wall mounting arm onto the back of the monitor. Line up the holes of the arm with the holes in the back of the monitor.
- Reconnect the cables. Refer to the user’s manual that came with the optional wall mounting arm for instructions on attaching it to the wall.
Noted: VESA mounting screw holes are not available for all models, please check with the dealer or official department of AOC.
- Display design may differ from those illustrated.
Warning
- To avoid potential screen damage, such as panel peeling, ensure that the monitor does not tilt downward by more than -5 degrees.
- Do not press the screen while adjusting the angle of the monitor. Grasp only the bezel.
Adaptive-Sync function (Available for selective models)
- Adaptive-Sync function is working with DP/HDMI
- Compatible Graphics Card: Recommend list is as the below, also could be checked by visiting www.AMD.com Graphics Cards
- Radeonâ„¢ RX Vega series
- Radeonâ„¢ RX 500 series
- Radeonâ„¢ RX 400 series
- Radeon™ R9/R7 300 series (R9 370/X, R7 370/X, R7 265 except)
- Radeonâ„¢ Pro Duo (2016)
- Radeonâ„¢ R9 Nano series
- Radeonâ„¢ R9 Fury series
- Radeonâ„¢ R9/R7 200 series (R9 270/X, R9 280/X except)
Processors
- AMD Ryzenâ„¢ 7 2700U
- AMD Ryzenâ„¢ 5 2500U
- AMD Ryzenâ„¢ 5 2400G
- AMD Ryzenâ„¢ 3 2300U
- AMD Ryzenâ„¢ 3 2200G
- AMD PRO A12-9800
- AMD PRO A12-9800E
- AMD PRO A10-9700
- AMD PRO A10-9700E
- AMD PRO A8-9600
- AMD PRO A6-9500
- AMD PRO A6-9500E
- AMD PRO A12-8870
- AMD PRO A12-8870E
- AMD PRO A10-8770
- AMD PRO A10-8770E
- AMD PRO A10-8750B
- AMD PRO A8-8650B
- AMD PRO A6-8570
- AMD PRO A6-8570E
- AMD PRO A4-8350B
- AMD A10-7890K
- AMD A10-7870K
- AMD A10-7850K
- AMD A10-7800
- AMD A10-7700K
- AMD A8-7670K
- AMD A8-7650K
- AMD A8-7600
- AMD A6-7400K
AMD FreeSync function (Available for selective models)
- AMD FreeSync function is working with DP/HDMI
- Compatible Graphics Card: Recommend list is as the below, also could be checked by visiting www.AMD.com
Graphics Cards
- Radeon™ RX Vega series
- Radeon™ RX 500 series
- Radeon™ RX 400 series
- Radeon™ R9/R7 300 series (R9 370/X, R7 370/X, R7 265 except)
- Radeon™ Pro Duo (2016)
- Radeon™ R9 Nano series
- Radeon™ R9 Fury series
- Radeon™ R9/R7 200 series (R9 270/X, R9 280/X except)
Processors
- AMD Ryzen™ 7 2700U
- AMD Ryzen™ 5 2500U
- AMD Ryzen™ 5 2400G
- AMD Ryzen™ 3 2300U
- AMD Ryzen™ 3 2200G
- AMD PRO A12-9800
- AMD PRO A12-9800E
- AMD PRO A10-9700
- AMD PRO A10-9700E
- AMD PRO A8-9600
- AMD PRO A6-9500
- AMD PRO A6-9500E
- AMD PRO A12-8870
- MD PRO A12-8870E
- AMD PRO A10-8770
- AMD PRO A10-8770E
- AMD PRO A10-8750B
- AMD PRO A8-8650B
- AMD PRO A6-8570
- AMD PRO A6-8570E
- AMD PRO A4-8350B
- AMD A10-7890K
- AMD A10-7870K
- AMD A10-7850K
- AMD A10-7800
- AMD A10-7700K
- AMD A8-7670K
- AMD A8-7650K
- AMD A8-7600
- AMD A6-7400K
AMD FreeSync Premium function (Available for selective models)
- AMD FreeSync Premium function is working with DP/HDMI
- Compatible Graphics Card: Recommend list is as the below, also could be checked by visiting www.AMD.com Graphics Cards
- Radeonâ„¢ RX Vega series
- Radeonâ„¢ RX 500 series
- Radeonâ„¢ RX 400 series
- Radeon™ R9/R7 300 series (R9 370/X, R7 370/X, R7 265 except)
- Radeonâ„¢ Pro Duo (2016)
- Radeonâ„¢ R9 Nano series
- Radeonâ„¢ R9 Fury series
- Radeonâ„¢ R9/R7 200 series (R9 270/X, R9 280/X except) Processors
- AMD Ryzenâ„¢ 7 2700U
- AMD Ryzenâ„¢ 5 2500U
- AMD Ryzenâ„¢ 5 2400G
- AMD Ryzenâ„¢ 3 2300U
- AMD Ryzenâ„¢ 3 2200G
- AMD PRO A12-9800
- AMD PRO A12-9800E
- AMD PRO A10-9700
- AMD PRO A10-9700E
- AMD PRO A8-9600
- AMD PRO A6-9500
- AMD PRO A6-9500E
- AMD PRO A12-8870
- AMD PRO A12-8870E
- AMD PRO A10-8770
- AMD PRO A10-8770E
- AMD PRO A10-8750B
- AMD PRO A8-8650B
- AMD PRO A6-8570
- AMD PRO A6-8570E
- AMD PRO A4-8350B
- AMD A10-7890K
- AMD A10-7870K
- AMD A10-7850K
- AMD A10-7800
- AMD A10-7700K
- AMD A8-7670K
- AMD A8-7650K
- AMD A8-7600
- AMD A6-7400K
AMD FreeSync Premium Pro function (Available for selective models)
- AMD FreeSync Premium Pro function is working with DP/HDMI
- Compatible Graphics Card: Recommend list is as the below, also could be checked by visiting www.AMD.com Graphics Cards
- Radeon™ RX Vega series
- Radeon™ RX 500 series
- Radeon™ RX 400 series
- Radeon™ R9/R7 300 series (R9 370/X, R7 370/X, R7 265 except)
- Radeon™ Pro Duo (2016)
- Radeon™ R9 Nano series
- Radeon™ R9 Fury series
- Radeon™ R9/R7 200 series (R9 270/X, R9 280/X except)
Processors
- AMD Ryzen™ 7 2700U
- AMD Ryzen™ 5 2500U
- AMD Ryzen™ 5 2400G
- AMD Ryzen™ 3 2300U
- AMD Ryzen™ 3 2200G
- AMD PRO A12-9800
- AMD PRO A12-9800E
- AMD PRO A10-9700
- AMD PRO A10-9700E
- AMD PRO A8-9600
- AMD PRO A6-9500
- AMD PRO A6-9500E
- AMD PRO A12-8870
- AMD PRO A12-8870E
- AMD PRO A10-8770
- AMD PRO A10-8770E
- AMD PRO A10-8750B
- AMD PRO A8-8650B
- AMD PRO A6-8570
- AMD PRO A6-8570E
- AMD PRO A4-8350B
- AMD A10-7890K
- AMD A10-7870K
- AMD A10-7850K
- AMD A10-7800
- AMD A10-7700K
- AMD A8-7670K
- AMD A8-7650K
- AMD A8-7600
- AMD A6-7400K
G-SYNC Compatible function(Available for selective models)
- G-SYNC Compatible function is working with DP/HDMI
- To enjoy the perfect gaming experience with G-SYNC, you need to purchase a Separate NVIDIA GPU card that supports G-SYNC.
G-sync system requirements
Desktop computer connected to G-SYNC monitor: Graphics cards supported: G-SYNC features require NVIDIA GeForce® GTX 650 Ti BOOST or higher graphics cards. Driver: R340.52 or later
Operating system:
- Windows 10
- Windows 8.1
- Windows 7
- System requirements: DisplayPort 1.2 of the GPU must be supported.
- Notebook computer connected to G-SYNC monitor:
- Supported graphics cards: NVIDIA GeForce® GTX 980M, GTX 970M, GTX 965M GPU or higher graphics cards Driver: R340.52 or higher
Operating system:
- Windows 10
- Windows 8.1
- Windows 7
System requirements: DisplayPort 1.2 driven directly from the GPU must be supported. For more information about NVIDIA G-SYNC, please visit: https://www.nvidia.cn/
HDR
It is compatible with input signals in HDR10 format. The display may automatically activate the HDR function if the player and content are compatible. Please contact the device manufacturer and the content provider for information on the compatibility of your device and content. Please select “OFF” for the HDR function when you have no need for automatical activation function.
Note:
- No special setting is needed for the DisplayPort/HDMI interface in WIN10 versions lower (older) than V1703.
- Only the HDMI interface is available and the DisplayPort interface cannot function in WIN10 version V1703.
- 3840×2160@50Hz/60Hz only suggest for Blu-ray Player, Xbox and PlayStation.
- The display resolution is set to 2560*1440, and HDR is preset to On.
- After entering an application, the best HDR effect can be achieved when the resolution is changed to 2560*1440 (if available).

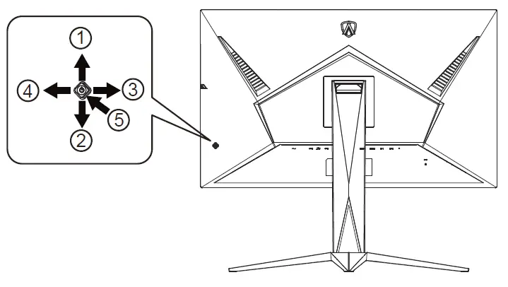
Adjusting
Hotkeys
Power/Menu/Enter
Press the Power button to turn on the monitor. When there is no OSD, Press to display the OSD or confirm the selection. Press about 2 seconds to turn off the monitor.
Dial Point/Down
When there is no OSD, press Dial Point button to show / hide Dial Point.
Game Mode/Left
When there is no OSD, press ”Left” key to open game mode function, then press ”Left” or “Right” key to select game mode (FPS, RTS, Racing, Gamer 1, Gamer 2 or Gamer 3) basing on the different game types.
Shadow Control/Right
When there is no OSD, press “Right” key to active Shadow Control function.
Source/Up
When the OSD is closed, press Source/Auto/Up button will be Source hot key function.
OSD Key Guide (Menu)

- Enter : Use Enter key to enter the next OSD level
- Move : Use Left / Up / Down key to move OSD selection
- Exit : Use Right key to exit OSD

- Enter : Use Enter key to enter the next OSD level
- Move : Use Right / Up / Down key to move OSD selection
- Exit : Use Left key to exit OSD

- Enter : Use Enter key to enter the next OSD level
- Move : Use Up / Down key to move OSD selection
- Exit : Use Left key to exit OSD

- Move : Use Left / Right / Up / Down Key to move OSD selection

- Exit : Use Left key to exit OSD to previous OSD level
- Enter : Use Right key to enter next OSD level
- Select : Use Up / Down key to move OSD selection

- Enter : Use Enter key to apply the OSD setting and back to previous OSD level
- Select : Use Down key to adjust OSD setting

- Select : Use Up / Down key to adjust OSD setting

- Enter : Use Enter key to exit OSD to the previous OSD level
- Select : Use Left / Right key to adjust the OSD setting
OSD Setting
Basic and simple instructions on the control keys.

- Press the MENU-button to activate the OSD window.
- Follow Key Guide to move or select (adjust) OSD settings
- OSD Lock/Unlock Function: To lock or unlock the OSD, press and hold the Down–button for 10s while OSD function is not active.
Notes:
- If the product has only one signal input, the item of “Input Select” is disabled to adjust.
- ECO modes (except Standard mode), DCR and DCB mode, for these three states only one state can exist.
Game Setting


Note:
- When “HDR Mode” under “Image Setup” is set to non-off, “Game Mode”, “Shadow Control” and “Game Color” can’t be adjusted.
- When “HDR” under “Image Setup” is set to non-off, “Game Mode”, “Shadow Control”, “Game Color”, “MBR” and “Boost” under “Overdrive” can’t be adjusted or selected.
- Some products may be different, please refer to the actual type prevail.
Luminance


Note:
- When “HDR Mode” under “Image Setup” is set to non-off, “Contrast”, “Eco Mode” and “Gamma” can’t be adjusted.
- When “HDR” under “Image Setup” is set to non-off, all items under “Luminance” can’t be adjusted.
Image Setup

Note:
When HDR is detected, the HDR option is displayed for adjustment; when HDR is not detected, the HDR Mode option is displayed for adjustment.
Color Setup


Note:
When “HDR Mode” or “HDR” under “Image Setup” is set to non-off, all items under “Color Setup” can’t be adjusted.
Extra


OSD Setup


Note:
If the DP video content supports DP1.2/DP1.4, please select DP1.2/DP1.4 for DP Capability; otherwise, please select DP1.1
LED Indicator
| Status | LED Color |
| Full Power Mode | White |
| Active-off Mode | Orange |
Troubleshoot
| Problem & Question | Possible Solutions |
| Power LED Is Not On | Make sure the power button is ON and the Power Cord is properly connected to a grounded power outlet and to the monitor. |
|
No Images On The Screen | Is the power cord connected properly? Check the power cord connection and power supply. Is the video cable connected correctly?? (Connected using the VGA cable) Check the VGA cable connection. (Connected using the HDMI cable) Check the HDMI cable connection. (Connected using the DP cable) Check the DP cable connection. * VGA/HDMI/DP input is not available on every model. If the power is on, reboot the computer to see the initial screen (the login screen.) If the initial screen (the login screen) appears, boot the computer in the applicable mode (the safe mode for Windows 7/8/10) and then change the frequency of the video card. (Refer to the Setting the Optimal Resolution) If the initial screen (the login screen) does not appear, contact the Service Center or your dealer. Can you see “Input Not Supported” on the screen? You can see this message when the signal from the video card exceeds the maximum resolution and frequency that the monitor can handle properly. Adjust the maximum resolution and frequency that the monitor can handle properly. Make sure the AOC Monitor Drivers are installed. |
| Picture Is Fuzzy & Has Ghosting Shadowing Problem | Adjust the Contrast and Brightness Controls. Press hot-key (AUTO) to auto-adjust. Make sure you are not using an extension cable or switch box. We recommend plugging the monitor directly to the video card output connector on the back. |
| Picture Bounces, Flickers Or Wave Pattern Appears In The Picture | Move electrical devices that may cause electrical interference as far away from the monitor as possible. Use the maximum refresh rate your monitor is capable of at the resolution you are using. |
|
Monitor Is Stuck In Active Off- Mode | The Computer Power Switch should be in the ON position. The Computer Video Card should be snugly fitted in its slot. Make sure the monitor’s video cable is properly connected to the computer. Inspect the monitor’s video cable and make sure no pin is bent. Make sure your computer is operational by hitting the CAPS LOCK key on the keyboard while observing the CAPS LOCK LED. The LED should either turn ON or OFF after hitting the CAPS LOCK key. |
| Missing One Of The Primary Colors (RED, GREEN, or BLUE) | Inspect the monitor’s video cable and make sure that no pin is damaged. Make sure the monitor’s video cable is properly connected to the computer. |
| Screen Image Is Not Centered Or Sized Properly | Adjust H-Position and V-Position or press hot-key (AUTO). |
| Picture Has Color Defects (White Does Not Look White) | Adjust RGB color or select desired color temperature. |
| Horizontal Or Vertical Disturbances On the screen | Use Windows 7/8/10 shut-down mode to adjust CLOCK and FOCUS. Press hot-key (AUTO) to auto-adjust. |
| Regulation & Service | Please refer to Regulation & Service Information which is in the CD manual or www.aoc.com (to find the model you purchase in your country and to find Regulation & Service Information in Support page.) |
Specification
General Specification
|
Panel | Model Name | AG325QZN | ||
| Driving System | TFT Color LCD | |||
| Viewable Image Size | 80.0 cm diagonal | |||
| Pixel Pitch | 0.2724mm(H) x 0.2724mm(V) | |||
| Display Color | 16.7M Colors [1] | |||
|
Others | Horizontal Scan Range | 30k~230kHz (HDMI) 30k~255kHz (DP) | ||
| Horizontal Scan Size(Maximum) | 697.344 mm | |||
| Vertical Scan Range | 48~144Hz (HDMI) 48~240Hz (DP) | |||
| Vertical Scan Size(Maximum) | 392.256 mm | |||
| Optimal Preset Resolution | 2560 x 1440@60Hz | |||
| Max Resolution | 2560 x 1440@144Hz (HDMI) 2560 x 1440@240Hz (DP) | |||
| Plug & Play | VESA DDC2B/CI | |||
| Power Source | 100-240V~ 50/60Hz 2.0A | |||
| Power Consumption | Typical (default brightness and contrast) | 39W | ||
| Max. (Brightness = 100, contrast =100) | ≤118W | |||
| Standby Mode | ≤0.5W | |||
| Physical Characteristics | Connector Type | HDMI / DP / USB / Earphone | ||
| Signal Cable Type | Detachable | |||
|
Environmental | Temperature | Operating | 0°C~ 40°C | |
| Non-Operating | -25°C~ 55°C | |||
| Humidity | Operating | 10% ~ 85% (non-condensing) | ||
| Non-Operating | 5% ~ 93% (non-condensing) | |||
| Altitude | Operating | 0~ 5000 m (0~ 16404ft ) | ||
| Non-Operating | 0~ 12192m (0~ 40000ft ) | |||

[1] Color Bit table:
| HDMI2.0 | DP1.4 | |||
| YCbCr422 YCbCr420 | YCbCr444 RGB | YCbCr422 YCbCr420 | YCbCr444 RGB | |
| QHD 240Hz 10 bit | NG | NG | OK | NG |
| QHD 240Hz 8 bit | NG | NG | OK | OK |
| QHD 200Hz 10 bit | NG | NG | OK | OK |
| QHD 200Hz 8 bit | NG | NG | OK | OK |
| QHD 165Hz 10 bit | NG | NG | OK | OK |
| QHD 144Hz 10 bit | OK | NG | OK | OK |
| FHD 60Hz 8 bit | OK | OK | OK | OK |
| low resolutions 8 bit/10 bit | OK | OK | OK | OK |
Preset Display Modes
| STANDARD | RESOLUTION | HORIZONTAL FREQUENCY(kHz) | VERTICAL FREQUENCY(Hz) |
| VGA | 640×480@60Hz | 31.469 | 59.94 |
| VGA | 640×480@67Hz | 35 | 66.667 |
| VGA | 640×480@72Hz | 37.861 | 72.809 |
| VGA | 640×480@75Hz | 37.5 | 75 |
| VGA | 640×480@100Hz | 51.08 | 99.769 |
| VGA | 640×480@120Hz | 61.91 | 119.518 |
| DOS MODE | 720×400@70Hz | 31.469 | 70.087 |
| DOS MODE | 720×480@60Hz | 29.855 | 59.710 |
| SD | 720×576@50Hz | 31.25 | 50 |
| SVGA | 800×600@56Hz | 35.156 | 56.25 |
| SVGA | 800×600@60Hz | 37.879 | 60.317 |
| SVGA | 800×600@72Hz | 48.077 | 72.188 |
| SVGA | 800×600@75Hz | 46.875 | 75 |
| SVGA | 800×600@100Hz | 63.684 | 99.662 |
| SVGA | 800×600@120Hz | 76.302 | 119.97 |
| SVGA | 832×624@75Hz | 49.725 | 74.551 |
| XGA | 1024×768@60Hz | 48.363 | 60.004 |
| XGA | 1024×768@70Hz | 56.476 | 70.069 |
| XGA | 1024×768@75Hz | 60.023 | 75.029 |
| XGA | 1024×768@100Hz | 81.577 | 99.972 |
| XGA | 1024×768@120Hz | 97.551 | 119.989 |
| SXGA | 1280×1024@60Hz | 63.981 | 60.02 |
| SXGA | 1280×1024@75Hz | 79.975 | 75.025 |
| Full HD | 1920×1080@60Hz | 67.5 | 60 |
| Full HD | 1920×1080@120Hz | 135 | 120 |
| QHD | 2560×1440@60Hz | 88.787 | 59.951 |
| QHD | 2560×1440@120Hz | 182.996 | 119.998 |
| QHD | 2560×1440@144Hz | 222.056 | 143.912 |
| QHD (for DP) | 2560×1440@165Hz | 242.551 | 165 |
| QHD (for DP) | 2560×1440@170Hz | 249.901 | 170.001 |
| QHD (for DP) | 2560×1440@200Hz | 294.000 | 200.000 |
| QHD (for DP) | 2560×1440@240Hz | 959.62 | 240 |
Pin Assignments
19-Pin Color Display Signal Cable
| Pin No. | Signal Name | Pin No. | Signal Name | Pin No. | Signal Name |
| 1. | TMDS Data 2+ | 9. | TMDS Data 0- | 17. | DDC/CEC Ground |
| 2. | TMDS Data 2 Shield | 10. | TMDS Clock + | 18. | +5V Power |
| 3. | TMDS Data 2- | 11. | TMDS Clock Shield | 19. | Hot Plug Detect |
| 4. | TMDS Data 1+ | 12. | TMDS Clock- | ||
| 5. | TMDS Data 1Shield | 13. | CEC | ||
| 6. | TMDS Data 1- | 14. | Reserved (N.C. on device) | ||
| 7. | TMDS Data 0+ | 15. | SCL | ||
| 8. | TMDS Data 0 Shield | 16. | SDA |

20-Pin Color Display Signal Cable
| Pin No. | Signal Name | Pin No. | Signal Name |
| 1 | ML_Lane 3 (n) | 11 | GND |
| 2 | GND | 12 | ML_Lane 0 (p) |
| 3 | ML_Lane 3 (p) | 13 | CONFIG1 |
| 4 | ML_Lane 2 (n) | 14 | CONFIG2 |
| 5 | GND | 15 | AUX_CH(p) |
| 6 | ML_Lane 2 (p) | 16 | GND |
| 7 | ML_Lane 1 (n) | 17 | AUX_CH(n) |
| 8 | GND | 18 | Hot Plug Detect |
| 9 | ML_Lane 1 (p) | 19 | Return DP_PWR |
| 10 | ML_Lane 0 (n) | 20 | DP_PWR |
Plug and Play
Plug & Play DDC2B Feature
This monitor is equipped with VESA DDC2B capabilities according to the VESA DDC STANDARD. It allows the monitor to inform the host system of its identity and, depending on the level of DDC used, communicate additional information about its display capabilities. The DDC2B is a bi-directional data channel based on the I2C protocol. The host can request EDID information over the DDC2B channel.


























