FIAMMA 02096-72 Carry Bike Vivaro Talent Traffic Instruction Manual
Package contents


Dimension


Installation instructions
Check that nothing has been damaged or deformed during transport. In the event of doubts or questions concerning the installation, use or limitations of the product, contact the dealer. We recommend that the installation is carried out by qualified personnel and in compliance with current local regulations.


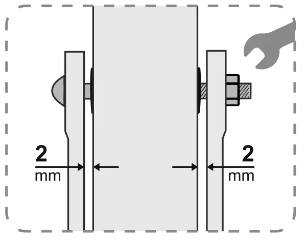
WARNING!
Do not fully tighten the fork to the tube, leave 2mm space.








To fi x the lower brackets, it is necessary to pull down the structure. Make sure that the fastening of the Carry-Bike is steady.



Instructions for use
In case of problems please contact your local dealer indicating the data on the nameplate. Consult our website for spare parts drawing.
Attention: keep the following labels and affix them to the Carry-Bike rails.
Safety instructions



Read the following instructions and warnings carefully; failure to observe these installation and usage instructions as well as the laws for driving in the relevant country may cause severe harm or damage for which the manufacturer declines all responsibility. Before installation, ensure compatibility with the vehicle on which the product must be installed.
In the event of an accident involving the vehicle and/or the product, ensure that the product has not been damaged. In the event of damage, contact your local retailer before moving the vehicle. Fiamma declines every responsibility for any modification of the product that may cause damage and/or injury to things and people.
Checking that the wall/rear door is sufficiently solid and suitable for guaranteeing the resistance of the anchoring points is always mandatory. If not, strength and compliance with the maximum load indicated in the instructions are not guaranteed and it will be necessary to reinforce these points.
After having positioned the Carry-Bike on the rear axle of the vehicle, the normal weight distribution on both axles would be modified. This variation must not exceed the maximum permissible axle load.
Never exceed the maximum permitted length and the total weight of the full-load vehicle.
Make sure that loading occurs following a correct weight distribution; it must be uniformly distributed (the heaviest bike must be placed near the wall of the vehicle) to ensure better stability.
Always give warnings about the presence of the Carry-Bike on your vehicle, using a clearly signal for leaning loads and, in case of limited rear visibiliy, use the additional rear-view mirrors.
Take into account the presence of the Carry-Bike, paying attention during driving and expecially during reversing manoeuvres, particularly if you have parking assist system. Always comply with speed limits and the Highway Code. The speed should always be suitable to traffic conditions and towed load. In case of use of the bike carrier with tow make sure that the tow hook is always accessible and the corner mobility of the tow is guaranteed (volume measuring DIN 74058).
Check periodically the bicycle rack to make sure it is fi rmly attached, especially during the fi rst kilometers of after long trips to avoid damages of the Carry-Bike/vehicle. Make sure the belts are not loose and that the holding brackets have not shifted. Replace worn components immediately.
Make sure that the support brackets are located where they cannot move or shift sideways. They also must not touch the roof of the vehicle, the hinges and the corresponding bolts or screws.
While assembling, pay attention not to close the rear door if screws and brackets of the Carry-Bike are not tightened.
Make sure that, during roar door opening, the Carry-Bike and/or the Bike-Block do not touch the roof of the vehicle (raised roof) and/or its opening systems (pop-up roofs).
During Carry-Bike installation, verify that there is enough distance between handlebars and/or pedals and the vehicle’s rear windows in order to avoid any damages of the window van; do not leave accessories attached (bay seats, baskets, etc) because vibrations could disengage bikes.
In some cases, the rear windscreen wiper may not work due to the presence of bicycles. Be aware of the brush radius before operating the windscreen wiper.
On this type of Carry-Bike, bike covers are not allowed (Bike Cover).
It is advisable to remove the batteries from bicycles, before loading them on the Carry-Bike while traveling.
Depending on the type of bicycles transported, check the correct visibility of the rear lights. If the visibility is missing, provide a light repeater bar.
You can open the tailgate with the Carry-Bike mounted without bikes.
It is recommended to rotate the handlebars of bicycles to avoid damage to the vehicle wall, for which Fiamma declines all responsibility.
Accessories
- RAIL PLUS
Item No. 98656M566
- RAIL PREMIUM
Item No. 98656M131
- RAIL PREMIUM S
Item No. 98656M133
- BIKE-BLOCK PRO S

- BIKE-BLOCK PRO S D

- BIKE FRAME ADAPTER
Item No. 06602-01-
- PLASTIC SIGNAL
Item No. 98782-005
- ALU SIGNAL
Item No. 98782-010
- CABLE-LOCK
Item No. 98656-338
- LICENCE PLATE CARRIER
Item No. 06146-01-
Warranty
Warranty Fiamma
In case of defects with regards to materials and manufacturing, the customer is entitled to the warranty in accordance with local laws and regulations of the country in which the product was purchased.
Costumer Support
All rights reserved.
Fiamma S.p.A.
reserves the right to modify at any time,
without notice, prices, materials,
specifi cations and models or to cease
production of any model.
Fiamma S.p.A. – Italy
Via San Rocco, 56
21010 Cardano al Campo (VA)



























