QL Model GC Series Lab Ovens Operating Manual

Carton Contents
(1) GC Series Oven
(2) Adjustable chrome wire shelf
(4) Shelf brackets
(1) Glass Thermometer (non-toxic)
(1) Rubber Thermometer grommet
Not For Use With Flammable Solvents or Gases.

Safety Precautions
Read Operating Instructions Thoroughly Prior to Operation
The GC series Lab Ovens are not designed for use with any flammable solvents or gases or in close proximity to any flammable solvents, gases, or materials. Operate oven in accordance with all state, local, and federal laws that may govern its usage for your specific application. Use only a grounded outlet that is rated for your model’s electrical requirement. Oven exterior walls and doors may become hot to the touch when operating at higher set temperatures. Do not leave the oven unattended during operation, especially when processing materials that may ignite at temperatures lower than the oven model’s maximum operating range. Do not modify the oven or factory control settings to operate the oven above the stated maximum operating temperature. Conduct periodic maintenance as required.
Set-up & Installation
Set-up unit in a clean and unobstructed operating location. Keep a minimum of 4 inches of airspace around the unit and a minimum of 18 inches above the unit. The three exhaust ports at the top of the unit will expel a small amount of heated air, fumes or moisture through natural convection. For best performance, these ports should remain open. These ports can also be used as an access for an external temperature probe to verify the chamber’s temperature or the chamber’s contents directly. (FIG 1)

Plug oven into a grounded outlet rated for your unit’s labeled voltage. A separate circuit or breaker should be dedicated for the oven.
Install adjustable shelves as required, by placing the ends of the wire shelf bracket into the corresponding holes located on the inner sides of the oven at the desired height. Push the ends of the bracket into the holes until the first bends in the bracket are against the wall, then rotate the bracket down. Place the shelf on the brackets. (FIG 2)

General Operation
All models are ready for your immediate use.
Remove the glass thermometer from its container and place bottom end through the rubber grommet. Insert the grommet into one of the ports on the top of the oven and adjust the thermometer so that it extends at least 2 inches into the oven chamber. For the 10GC series model: Switch the ON/OFF power switch to the ON position. Turn the thermostat control knob clockwise to around the number ‘8’. The light will come on indicating heater activity. Monitor the reading of the thermometer until it reaches the desired temperature. Next, rotate the control knob very slowly counter-clockwise until the heat-cycle light goes out. The thermostat will then cycle automatically maintaining the set temperature. Turn the oven off with the ON/OFF power switch, saving the temperature setting for the next use.
For 20GC, 30GC, and 40GC models: These models come equipped with a dual-range “quick-set” knob dial. This feature makes it easier to hit a target temperature range from a cold start, whether using the Fahrenheit or Centigrade scale. Switch on the ON/OFF power switch. Turn the thermostat knob to the desired temperature indicated on the knob (Fahrenheit), or the dial (Centigrade).
To set the temperature in degrees Fahrenheit, turn the knob in a clockwise direction until the desired number on the knob is directly under the white triangle with the ” oF” in the center. (FIG 3)

To set a temperature in degrees Centigrade, turn the knob in a clockwise direction until the white triangle with the ” C” marking is pointing toward the desired temperature printed on the face of the control panel. (FIG 4)

Rotate the thermostat dial to the desired temperature. The heat-cycle light will illuminate until the set temperature is reached. Once reached, the heat-cycle light will cycle on and off with the heaters maintaining set temperature. Typically, the oven will need to cycle at a set temperature for a minimum of 20 minutes before it will achieve equilibrium and become temperature stable.
NOTE: The temperatures printed on the “quick-set” dial are designed to help quickly set a temperature to within a close proximity of the indicated dial temperature. Small rotational adjustments to the dial will likely be required to set a more FIG. 4 precise temperature setting as measured against a reading from the glass thermometer (supplied), or other measuring device. Also, any degree of offset observed for a given temperature setting may be different for other temperature settings on the dial. The control dial is calibrated at the factory in the middle of the model’s temperature range and is therefore most accurate in these middle-range temperatures (some oven model’s knob/dial may have printed temperature markings that are higher than the model’s actual maximum range). Over time, continuous use at a single temperature setting may require periodic re-adjustment as the contacts wear or as ambient temperatures change seasonally, or from air conditioning or heating. See also: “Temperature Dial Calibration”.
Chamber Loading
Article or media processing times and temperature uniformity are largely dependent on load density and positioning. Load the oven so that the air circulation within the oven is not impaired. Here are some general guidelines:
Leave a space between multiple articles on a shelf. Stagger articles from those on lower shelves in a “V” formation. (FIG 5)

Avoid placing articles or media against or in close proximity to walls, especially on the lower shelf, allowing unrestricted air flow around articles and contributing to even and consistent heating.
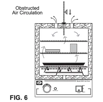
Use of large solid trays, or foil on shelves severely limits heat to the shelves and articles placed above. (FIG 6) Since not enough heat rises within the chamber, thermometer readings at the top of the chamber give false indication that temperature setting is too low. Higher temperature adjustments made as a result of these readings could overheat the lower-placed articles or media.

Don’t overload the unit with large (in quantity OR size), or high-density loads. This will restrict air flow and result in non-uniform processing and long or impossible “heat-through” times. To help determine a large load’s suitability, use the set point recovery time (the time it takes for the temperature to recover to the original set temperature once load is placed), as a guide. To reduce recovery time, reduce load proportionally.
NOTE: The set point of the thermostat or chamber temperature stability can be affected by changes in ambient (room) temperature and/or equipment running on the same electrical circuit. Take time to see how unit location or changes in room temperature from seasonal heating or air conditioning may influence the oven’s set temperature. Isolate the oven on a separate circuit when possible.
The unit’s minimum operating temperature is largely determined by ambient temperature. The unit can operate 25 degrees F (15 degrees C) above room temperature but temperature stability will be degraded. Stability improves appreciably for settings that exceed ambient by 40 degrees F (20 degrees C) or better.
Periodic Oven Maintenance
The GC series Lab Ovens are designed to be virtually maintenance free. But operational safety requires periodic cleaning and chamber temperature accuracy verification. Periodically check the rear air intake vents for dirt or dust build-up. Keep the intake & exit ports clear of obstruction, dust and dirt. Once a year, check the actual oven chamber temperature against a known accurate temperature measurement device. Maintain temperature dial accuracy to within +/-15 degrees F of the control setting. Calibrate the control as necessary. To clean exterior and interior surfaces, use a damp cloth or an all-purpose cleaner. Avoid commercially available oven cleaners.
Temperature Dial Calibration
Calibrating the actual chamber temperature to the temperature printed on the knob/dial, should only be done if the chamber temperature, as measured by a known accurate device, is off by more than +/- 15oF (8oC) from any indicated dial setting. The most accurate calibration possible for any analog-type control is at a single temperature setting. Therefore, calibrate the control at the most frequently used temperature.
To calibrate: Set dial temperature to a frequently used temperature then remove knob (allen screw). Be careful not to move the position of the shaft when removing the knob. Allow oven to achieve a stable temperature. Remove compression pin (newer models only) to access the trim-screw recessed in shaft center. Using a small blade driver, turn the trim-screw clockwise (CW) to adjust temperature down and (CCW) to adjust the temperature upward. Make only small 1/16th adjustments at a time. Allow the temperature to settle before making any subsequent adjustments. NOTE: Use pliers to keep outer shaft from turning when making trim-screw adjustments.
Do not adjust control to operate above the oven’s stated maximum operating temperature.

Technical Support
If you have any questions or need technical assistance, please contact Quincy Lab Tech Support at
Email: [email protected]
Voice: 800-482-HEAT (4328)
Fax: 773-622-2282
Quincy Lab, Inc.
1925 N Leamington Ave
Chicago, Illinois 60639
Limited Warranty
Quincy Lab, Inc. warrants to the original purchaser that this product will be free from defects in material and workmanship under normal use throughout the warranty period. The standard warranty period for this instrument is eighteen months from date of shipment. The instrument warranty is supplemented with a three year warranty on the heating element. Please refer to your invoice or shipping documents to determine the active warranty period. This warranty covers parts & labor (labor at factory only) and shipping cost for replacement parts.
















