IX-ENG-482/TD7-V1 / 202112
VIDEO INTERCOM SYSTEM
IX482
7” IPS FULL VIEW ANGLE TFT MONITOR

- Please read this manual carefully before using the product you purchase, and keep it well for future use.
- Please note that images and sketch maps in this manual may be different from the actual product.
1. Parts and Functions

- Talk/Mon Button
- Power/No Disturb Indicator
- LCD Screen
- Microphone
- Unlock Button
- Terminal connector
- Alarm zone
- Lan connector
Key functions
| Power/No Disturb indicator | Show the power status of the system. Show the no disturb status. |
| Talk/Mon button | Press to communicate hands free with visitor; Press to view the outdoor condition in standby mode. |
| LCD screen | Display the visitors’ image. |
| Microphone | Transmit audio from one station to other stations. |
| Unlock button | Press to release the door. |
| Terminal connector | SW+,SW-: Extra door bell call button connection port. P+,P-: Use to connect 24V local power supply (HDR-30- 24). |
| Alarm zone | |
| Lan connector | Use to connect the indoor station to the network. |
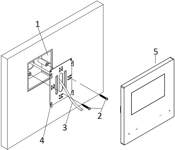
2. Mounting


- Mounting box
- Mounting screw x 2(included)
- Cat-5e/Cat-6 cable
- Mounting bracket
- The unit
The installation height is suggested to 145~160cm.
- Use screws to fasten the mounting bracket to the wall with mounting box.
- Connect the cat-5e or cat-6 cables to the unit.
- Mount the unit to the mounting bracket, make sure the unit is absolutely attached to the mounting bracket.
The Main menu is your starting point for using all the applications on your monitor.
Touch Unlock button, or touch anywhere of the screen on monitor in standby mode, the Main menu will appear as follow:

1 Intercom icon
Allows you to call other indoor station.
2 Call Record icon
Allows you to view the call record.
3 Monitor icon
Allows you to monitor the door stations, cameras.
4 Setting icon
Use to change the indoor station’s settings.
5 Call Scene icon
Allows you to activate the functions of No disturb, Divert.
6 Close icon
Touch to turn off the screen.
7 About icon
Allows you to view the information about device.
8 Status bar
Displays icons that indicate the indoor station’s status(see 4. Status bar icons).
9 Logo
Shows “2EASY-IX” by default. Means the brand of indoor station. Can be customized.
10 Shortcut windows
Touch to enter the corresponding items directly.
4. Status Bar Icons
| Icon | Description | |
| Missed call | Display when there is missed call unread. Touch to review the missed call in shortcut. | |
| No disturb | Indicates the device is in “No disturb” mode. | |
| Divert call | Indicates the device is in “Divert call” mode. | |
| Device online | Indicates device online, but not connect to internet. | |
| Cloud server worked | Indicates the device is connceted to the cloud server. | |
| No cloud server | Indicates the device is not connceted to the cloud server. | |
| Cloud server anomaly | Indicates the device cloud server connection is abnormal. | |
| mute | Indicates the device is in “Mute” mode. | |
Other status icons
| Icon | Description | |
| Recording | Indicates the device is recording | |
| Talking | Indicates the device is in “talking” status. | |
| Unlock | Indicates open the corresponding door. | |
5. Answering a Call
When you receive a call, the indoor station rings. Image will be displayed on the screen.
1. Touch
icon or press
TALK/MON button.
- Speak within about 50 cm of the microphone.
- Begin communicating hands free with the visitor for 90 seconds.
2. When finished, Touch
icon or press
TALK/MON button again.
Available functions while talking on a call
- Door release
- Manual recording
Notes:
1.Receiving a call while talking with a door station
- Other door stations calling is forbidden
- Conclude current talking to answer the new call-in
2.Receiving a call while talking with other monitors
- The talking will stop immediately, call tone sounds in normal.
- The video image from the door station is displayed on the screen, talking, unlock, capture images/videos are available.
6. Monitoring
This section can be used to monitor your home by enabling one of the cameras inside the apartment, the common areas (e.g. garages, garden), and at the entrance.
- From the main menu, tap “Monitor” icon.
- Select the desired tap.
– Allows you to select door station camera or IP camera( if the system installs multi door station or IP camera) . - Select the desired camera.
- When finished, tap
button on panel.
* During monitoring, images can be viewed, but audio cannot be heard.
Available functions during monitoring:
- Door release
- Manual recording
Note: Tap monitor quick actions to monitor corresponding camera directly(If the monitor quick actions is set on the shortcut windows).
7. Favoriate Setting
This section can be used to set your favoriate.
- From the main menu, tap “Monitor” icon.
– A list of available setting categories is displayed. - Select “Monitor” item.
- Click the upper left corner of the item you need to select, and then the “
” icon will appear. - If you need to cancel, click the upper left corner again.

8. PIP View
Precondition: this function requires the system to access the cameras or set the camera proxy settings.
The picture-in-picture display allows the user to see two images from different sources at the same time during the call, which is convenient for the user to see the visitor intuitively and concretely.
Press call button on door station

Feature of PIP view:
– in call mode
– Picture in picture to avoid dead corner
– Able to watch both view from door station and IP camera
– Swap the two images by a simple touch
9. Quad View
Precondition: this function requires the system to access the cameras or set the camera proxy settings.
The Quad display allows the user to quickly and simultaneously view four images from different video resource, and to quickly switch & zoom in on a screen by one click.

Feature of quad view:
– In monitor mode
– Able to display four images at a screen
– switch seamlessly between One-view and Quad-view
– free to zoom in any views
10. Making Calls
You can call other residences, common area phones or facility staff office, and even other rooms in your own residence. whichever monitor answers the call, you can use many of the features described in feature available while talking on a call.
Namelist call by using the namelist
- From the main menu, tap “Intercom” icon.
– A list of available items is displayed. - Select “Namelist”.
– A list of name is displayed if the system allows. - Select the desired name.
– Calling the target directly.
Innercall
If you have monitors installed in different rooms in your residence, you can call those rooms and use the system as an intercom.
- From the main menu, tap “Intercom” icon.
– A list of available items is displayed. - Select “Inner call”.
– A list of M/S is displayed. - Select the desired target.
– Calling the target directly.
Calling guard station
- From the main menu, tap “Intercom” icon.
– A list of available items is displayed. - Select “Guard station”.
– Calling the target directly.
11. View Call Record
The monitor records information about calls you have answered, missed, and made, and saves it in the call record. See the following steps to view the call record.
- From the main menu, tap “Call record” icon.
- Select the desired tap.
– Missed: Displays calls you received but did not answer.
– Incoming: Displays calls you answered.
– Outgoing: Displays calls you made.
– Playback: Displays pictures/videos you received / made. - Browse the call record as needed.
- When finished, tap ←, return to previous menu.(or tap
return to home page)
Play videos
you can record camera video manually while talking to a visitor or monitoring camera video. See the following steps to play the video.
- From the main menu, tap “Call record” icon.
- Select the desired tap.
- Tap the desired call record.
– Displays the images/videos - When finished, tap ←.
Controlling video playback
The following controls are available by tapping the screen while playing a image/ video.
Plays the video.
Plays the next video.
Plays the previous video.
Delete video.
Delete confirm.
Note
- If without SD card, video recording time is 3 seconds. Up to 10 videos can be saved, Subsequent records will overwrite the oldest items.
If with SD card, video recording time is 10 seconds by default (Max 600 seconds could be set or customized). - Support 512G SD card.
12. No Disturb Mode
During a certain period, if you don’t want to be disturbed, you can go to set DND mode.
- From the main menu, tap “Call scene” icon.
- Select the desired tap.
– No disturb 8H: Set to no disturb mode 8 hours.
– No disturb always: Set to no disturb mode always.
Note:
* The no disturb indicator turns from green to red, to indicate that the no disturb function has been activated.
* This function will perform immediately if selected, and the status bar on main menu interface will show “
” icon.
13. Divert Calls
The calling from door station can be diverted to your smart phone. please note that this function should be supported by SIP network.
- From the main menu, tap “Call scene” icon.
- Select the desired tap.
– Divert call if no answer: If nobody answers the call in 30s when receives call from door station, diverts the call to the smart phone.At this mode,the monitor will always open the screen and show image from door station during diverted, if the monitor answers the call at this time,diverted will conclude at once.
– Divert call always: When receives call from door station, diverts the call to smart phone directly. At this mode, the monitor will shut off the screen after diverting successfully, but you can still use it in normal.
Note:
* If divert the call to smart phone via Sip sever, need to choose one.
* This function will perform immediately if selected, and the status bar on main menu interface will show “
” icon.
14. Change the Monitor’s Settings
- From the main menu, tap “Setting” icon.
– A list of available setting categories is displayed. - Select the desired tap.
- Select the desired setting category.
- Change the settings as desired.
- Tap ←/
to save the new setting.
List of settings
| Ring volume – Ring timing – DS ring – CDS ring – OS ring – Message ring – Doorbell ring – Intercom ring – Innercall ring – Alarm ring | |
| Date and time – Language – Monitor timing – Shortcut setting – SD card – Auto close after unlock – Auto unclock – Name | |
| | IP address – Call_Nbr – Parameter – Upgrade – Onsite tools |
| Sip config – Private unlock code – Common unlock code – Card manager – Back and restore | |
| Auto setup wizard – IM extensions – Outdoor Stations – IPC camera – Enter OS binding – WLAN IPC camera |
Example: “DS ring”setting
- From the main menu, tap “Setting” icon.
– A list of available setting categories is displayed. - Select “Call Tune”, and then tap “DS ring” item.
– A list of available tune is displayed. - Select the tune as desired, and tap.
- Tap ←/
to save the new setting.
Ring volume: adjust the ringtone volume.
Ring timing: adjust the ringtone time.
DS ring: call tone from door entrance panel.
CDS ring: call tone from common door entrance panel.
OS ring: call tone from out door entrance panel.
Message ring: call tone when received message.
DoorBell ring: call tone from doorbell.
Intercom ring: call tone from an intercom of another apartment.
InnerCall ring: call tone from an intercom in your apartment.
Alarm ring: call tone when alarm.
Example: “Date and time”setting
- From the main menu, tap “Setting” icon.
– A list of available setting categories is displayed. - Select “General”, and then tap “Date and time” item.
– Date and time setting interface is displayed. - Select and change the settings as desired.
- Tap ←/
to save the new setting.
Date mode: 2 display mode: month/date/year and date/month/year
Time mode: 2 display mode: HOUR_12 and HOUR_24.
Date: touch it to set the date.
Time: touch it to set the time.
Internet time: touch it can synchronize the system time.
Example: “Language”setting
- From the main menu, tap “Setting” icon.
– A list of available setting categories is displayed. - Select “General”, and then tap “Language” item.
– Language interface is displayed. - Select and change the settings as desired.
- Tap ←/
to save the new setting.
Example: “Shortcut setting”
- From the main menu, tap “Setting” icon.
– A list of available setting categories is displayed. - Select “General”, and then tap “Shortcut setting” item.
– Shortcut setting interface is displayed. - Select the type of function for which you want to add/remove a quick action.
- Tap ←/
to save the new setting.
Note: Other settings are related to the system type. Please make settings according to the functions provided by your system.
15. Address Setup
- From the main menu, tap “Setting” icon.
– A list of available setting categories is displayed. - Select “Installer”, and then tap “Call_Nbr” item.
- Input password if required (66666666 by default).

Device_Addr:
“(VS)Single Family”: For villa single one-to-one installation, no need to input room number.
“(SS)Standalone Apartment”: for standalone building, tap to input room number ( 1-digit, 2-digit, 3-digit, 4 digit as you defined).
Ex: Tap “(SS)” and input 0001 for room standalone building.
“(NS)Networked System”: for standalone building, input 8digits number(must 8-digit input), first 4digits for building/block number, last 4digits for room number.
EX: 00010003 1st building 3rd monitor; 00030005 3rd building 5th monitor “Restore/Update from RES”: Reserve for configurations database file (RES file) update and backup.
MS_NBR:
Master and slave number, 01 is master monitor, 02~32 is slave monitor.
Name:
The “Name” input here will sync to door station’s calling list automatically.
Global_Nbr:
Extra call number for common door station calling to this monitor.
Local_Nbr:
Extra call number for door station in same building calling to this monitor
16. Upgrade
- From the main menu, tap “Setting” icon.
– A list of available setting categories is displayed. - Select “Installer”, and then tap “Upgrade” item.
- Input installer password (66666666 by default, or password free when door station into installer mode and eable it)

Tap “Server” to select firmware source, update firmware could come from as below, tap on the source:
- Cloud Server
Cloud server reqiures internet.
Server1[47.91.88.33]
Server2[47.106.104.38] - Local LAN server (IX -Builder)
Use IX-Builder PC software to creat a tempory local server for update.
Server3[192.168.2.60] #IX-Builder default IP
[Input IP address] - SD card
Copy upgrade firmware before upgrade.
SD card
After tap “Download code” and input code, the code could get from v-tec support team when device needed to update. After all, tap “Check” to load upgrade information from source.
With tips on the screen as below:
Please insert SD card. #Some upgrade is oversize, reqiure SD card to storage firmware.
Mismatched. #Update firmware was founded, but is not suitalbe for this device.
Connect Erro. #Check networks.
No file. #Source has been inspected but there is no firmware need to upgrade.
Otherwise the device will go into upgrade automatically, please do not power off during upgrade.
17. How to add IP camera to IP monitor
Preparation
Select the appropriate IP camera to access the system on demand. And set parameters for the IP camera.
Video Codec
An Onvif IP camera could be added to IP monitor IX471S, as long as this IPC could support following video codec: H264B/H264/H264H/H265/H265+
* 1. MJEPG decoding is not supported.
2. Some IPC can support both audio and video streams, please select video stream.
Preset the IP Camera before establishing a connection to the IX monitor
The setting interface of each IP camera brand are different.
Please set the following items according to the actual situation.
Network
Choose to set DHCP or STATIC depending on the system.
Video
Each stream type need to do setting separately.
| Main Stream (Full screen) | Sub Stream ( Quad-view) | Tri-Stream ( App view) | |
| Encoding | H264 or H265, MJPEG is not support | ||
| Resolution | 1280*720 | 640*480 | 320*240 |
| FPS( Frames per second) | acceptable setting range: 15 ~ 18, 15 is the Best recommendation | ||
| Bit Rate | 700~1024kbs | 512kbs~640kbs | 512kbs~640kbs |
| BitRate Control | CBR is the Best recommendation | ||
Add IP Camera to IX471S on site
1. Select the correct menu according to the actual situation

It depends on how the monitor is connected to the router where the IPC is located.
If it is wireless connected to PoE or Router which IPC attached , select WLAN IPC camera to add.
If it is wired connected to PoE or Router which IPC attached , select IPC camera to add.
see below samples:


2. Add by search or manual.
3. Login
4. Save
Delete IP camera
main menu →Settings→Ext.Unit→IPC camera / Wlan IPC camera→chose→Delete
18. Download Setup VDP Connect APP
1. Scan and download VDP Connect APP, or search “VDP Connect” on APP store.
IOS Android

2. Permit “VDP Connect” with permissons, tap screen of IP monitor→Settings→Manager→SIP config→
.
3. After login SIP account on VDP Connect APP, check on status bar, or tap on the “Connected” area to manually register, until VDP Connect display:

19. Surveillance door station via VDP Connect APP
On VDP CONNECT APP, press on the icon and wait for a few second. If the system have multiple door stations, you can switch to view the door station you want. And push PTT icon to talk, or push unlock icon to open the door.

20. Specification
- Power Source: Power-over-Ethernet (IEEE 802.3af Class 0)
- LAN Interface: 10 BASE-T / 100 BASE-TX Ethernet (RJ-45)
- Monitor screen: 7” IPS full view angle TFT
- Display Resolutions: 1024*600 resolution
- Wire Type: Cat-5e or Cat-6
- Wiring Distance: 100m (Approx. 330′)
- Operating temperature: -10 to +50 (oC)
- Dimension: 159(H)×185(W)×18.5(D)mm
21. Precautions
1) All components should be protected from violence vibration. And not allow to be impacted, knocked and dropped.
2) Please do the cleanness with soft cotton cloth, please do not use the organic impregnant or chemical clean agent. If necessary, please use a little pure water or dilute soap water to clean the dust.
3) Image distortion may occur if the video monitor is mounted too close to magnetic field e. g. Microwaves, TV, computer etc.
4) Please keep away the monitor from wet, high temperature, dust, caustic and oxidation gas in order to avoid any unpredictable damage.
5) Must use the right adaptor which is supplied by the manufacturer or approved by the manufacturer.
6) Pay attention to the high voltage inside the products, please refer service only to a trained and qualified professional.
FCC STATEMENT :
This device complies with Part 15 of the FCC Rules. Operation is subject to the following two conditions:
(1) This device may not cause harmful interference, and
(2) This device must accept any interference received, including interference that may cause undesired operation.
Warning: Changes or modifications not expressly approved by the party responsible for compliance could void the user’s authority to operate the equipment.
NOTE: This equipment has been tested and found to comply with the limits for a Class B digital device, pursuant to Part 15 of the FCC Rules. These limits are designed to provide reasonable protection against harmful interference in a residential installation. This equipment generates uses and can radiate radio frequency energy and, if not installed and used in accordance with the instructions, may cause harmful interference to radio communications. However, there is no guarantee that interference will not occur in a particular installation. If this equipment does cause harmful interference to radio or television reception, which can be determined by turning the equipment off and on, the user is encouraged to try to correct the interference by one or more of the following measures:
Reorient or relocate the receiving antenna.
Increase the separation between the equipment and receiver.
Connect the equipment into an outlet on a circuit different from that to which the receiver is connected.
Consult the dealer or an experienced radio/TV technician for help.
FCC Radiation Exposure Statement:
This equipment complies with FCC radiation exposure limits set forth for an uncontrolled environment. This equipment should be installed and operated with minimum distance 20cm between the radiator & your body.
IX-ENG-482/TD7-V1
The design and specifications can be changed without notice to the user. Right to interpret and copyright of this manual are preserved.

















