CENTRAL MACHINERY 59117 5 Inch Swivel Vise

Product Information
The product is a vise with a jaw opening of 5 inches and an anvil size of 3 x 3 inches. It is designed to securely hold a workpiece in place during various tasks such as drilling, sawing, and filing. The vise comes with mounting instructions, operation instructions, and maintenance guidelines for safe and proper usage.
Important Safety Information
- Mount before use according to instructions. Improper mounting can create hazards.
- Wear ANSI-approved safety goggles and heavy-duty work gloves during mounting and use.
- Keep work area clean and well-lit.
- Keep bystanders out of the area during use.
- Verify that the installation surface has no hidden utility lines before drilling or driving bolts.
- Do not use when tired or when under the influence of alcohol, drugs or medication.
- This product is not a toy. Do not allow children to play with or near this item.
- Use as intended only.
- Inspect before every use; do not use if parts are loose or damaged.
- Maintain product labels and nameplates. These carry important safety information. If unreadable or missing, contact Harbor Freight Tools for a replacement.
- When working with the Anvil, do not strike with a hardened tool. It could chip the Anvil and/or the tool.
- Damage could occur to your vise and/or workpiece if you overtighten the Handle.
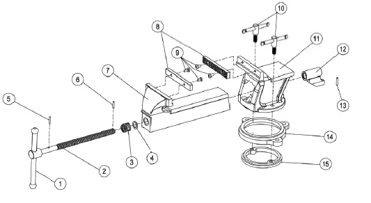
Parts List and Diagram
A parts list and diagram are provided in the manual for reference.
| Part | Description | Qty |
| 1 | Handle | 1 |
| 2 | Spindle | 1 |
| 3 | Spindle Spring | 1 |
| 4 | Washer | 1 |
| 5 | Roll Pin, M3X24 | 1 |
| 6 | Roll Pin, M4X20 | 1 |
| 7 | Moving Body | 1 |
| 8 | Jawplate | 2 |
| 9 | Jaw Screw | 4 |
| 10 | Cap Nut | 2 |
| 11 | Stationary Body | 1 |
| 12 | Spindle Nut | 1 |
| 13 | Cylindrical Pin, M5X25 | 1 |
| 14 | Base Plate | 1 |
| 15 | Sliding Plate | 1 |
Product Usage Instructions
Mounting Instructions
- Verify that the installation surface has no hidden utility lines before drilling or driving bolts.
- Place the vise on a flat, solid surface capable of supporting the weight of the vise and workpiece.
- Using the vise as a template, mark three mounting holes.
- Drill appropriate size holes for bolts (sold separately).
- Secure the vise with appropriate bolts, washers, and nuts (sold separately).
Operation Instructions
- Loosen the two base handles to allow the base to pivot. Tighten the base handles before working.
- Turn the handle counterclockwise to open the jaws.
- Place the workpiece inside the jaws.
- Turn the handle clockwise to tighten the jaws against the workpiece until it is held securely. Do not overtighten.
- Keep fingers away from jaws while tightening them.
Specifications
- Jaw Opening: 5 inches
- Anvil Size: 3 x 3 inches
Maintenance
- Keep moving parts lubricated. Wipe off excess lubricant on handle and jaws.
- Keep jaws clean. Remove jaws for cleaning by removing screws.
- Periodically, check and tighten mounting hardware.
PLEASE READ THE FOLLOWING CAREFULLY
THE MANUFACTURER AND/OR DISTRIBUTOR HAS PROVIDED THE PARTS LIST AND ASSEMBLY DIAGRAM IN THIS DOCUMENT AS A REFERENCE TOOL ONLY. NEITHER THE MANUFACTURER OR DISTRIBUTOR MAKES ANY REPRESENTATION OR WARRANTY OF ANY KIND TO THE BUYER THAT HE OR SHE IS QUALIFIED TO MAKE ANY REPAIRS TO THE PRODUCT, OR
THAT HE OR SHE IS QUALIFIED TO REPLACE ANY PARTS OF THE PRODUCT. IN FACT, THE MANUFACTURER AND/OR DISTRIBUTOR EXPRESSLY STATES THAT ALL REPAIRS AND PARTS REPLACEMENTS SHOULD BE UNDERTAKEN BY CERTIFIED AND LICENSED TECHNICIANS, AND NOT BY THE BUYER. THE BUYER ASSUMES ALL RISK AND LIABILITY ARISING OUT OF HIS OR HER REPAIRS TO THE ORIGINAL PRODUCT OR REPLACEMENT PARTS THERETO, OR ARISING OUT OF HIS OR HER INSTALLATION OF REPLACEMENT PARTS THERETO.
Limited 90-Day Warranty
Harbor Freight Tools Co. makes every effort to assure that its products meet high quality and durability standards, and warrants to the original purchaser that this product is free from defects in materials and workmanship for the period of 90 days from the date of purchase. This warranty does not apply to damage due directly or indirectly, to misuse, abuse, negligence or accidents, repairs or alterations outside our facilities, criminal activity, improper installation, normal wear and tear, or to lack of maintenance. We shall in no event be liable for death, injuries to persons or property, or for incidental, contingent, special or consequential damages arising from the use of
our product. Some states do not allow the exclusion or limitation of incidental or consequential damages, so the above limitation of exclusion may not apply to you. THIS WARRANTY IS EXPRESSLY IN LIEU OF ALL OTHER WARRANTIES, EXPRESS OR IMPLIED, INCLUDING THE WARRANTIES OF MERCHANTABILITY AND FITNESS.
To take advantage of this warranty, the product or part must be returned to us with transportation charges prepaid. Proof of purchase date and an explanation of the complaint must accompany the merchandise.
If our inspection verifies the defect, we will either repair or replace the product at our election or we may elect to refund the purchase price if we cannot readily and quickly provide you with a replacement.
We will return repaired products at our expense, but if we determine there is no defect, or that the defect resulted from causes not within the scope of our warranty, then you must bear the cost of returning the product.
This warranty gives you specific legal rights and you may also have other rights which vary from state to state.
Visit our website at: http://www.harborfreight.com
Email our technical support at: [email protected]
When unpacking, make sure that the product is intact and undamaged. If any parts are missing or broken, please call 1-888-866-5797 as soon as possible.



















