
46462
6″ VISE
OPERATOR’S MANUAL

CAUTION: To reduce the risk of injury, users must read and understand this operator’s manual. Save these instructions for future reference.
SAVE THIS MANUAL
You will need the manual for the safety and warnings and precautions, operating and maintenance procedures, parts, and list diagram. Keep your invoice for this manual. Write the invoice number on the inside of the front cover. Keep the manual and invoice in a safe and dry place for future reference.
WARNING: Be sure to read and understand all safety instructions in this manual, including
all safety alert symbols such as “danger”, “warning”, and “caution” before using this product. Failure to follow all instructions listed below may result in serious personal injury.
SAFETY AND WARNINGS
NOTE: The following safety warnings and precautions.
- Mount only according to these instructions. Improper mounting can create hazards.
- Keep work area clean and well-lit.
- Keep bystanders out of the area during use.
- This product is not a toy. Do not allow children to play with or near this item.
- Use for intended purposes only.
- Inspect before use; do not use if parts are loose or damaged.
- Maintain product labels and nameplates. These carry important safety information. If unreadable or missing, contact 1-800-255-7011 for a replacement.
- Before drilling vise mount holes, check for hidden electrical wires or cords in the drilling path.
- Do not use this product if under the influence of drugs or alcohol. Read safety warning labels on prescriptions to determine if your judgment or reflexes are impaired while taking drugs. If there is any doubt, do not use this product.
- Use eye and hand protection. Wear ANSI-approved safety impact goggles and heavy-duty work gloves during use.
- DRESS SAFELY. Do not wear loose clothing or jewelry as they can become caught in moving parts. Wear a protective hair covering to prevent long hair from becoming caught in the moving parts.
- When working with the anvil, do not strike with a hardened tool. It could chip the anvil and/or the tool.
- Do not overreach. Keep proper footing and balance at all times.
- Stay alert. Watch what you are doing at all times. Use common sense. Do not operate this product when you are tired or distracted from the job at hand.
- Damage could occur to your vise and/or workpiece if you overtighten the handle.
- Check for damaged parts. Before using this product, carefully check that it will operate properly and perform its intended function. Check for damaged parts and any other conditions that may affect its operation. Replace or repair damaged or worn parts immediately.
- Replacement parts and accessories. When servicing, use only identical replacement parts.
- Maintain product with care. Keep this product clean and dry, and all moving parts lightly lubricated for better performance. Keep the handle dry, clean, and free from oil, grease, and other solvents.
- Use the right product for the right job. Do not attempt to force a small tool or attachment to do the work of a larger industrial tool. There are certain applications for which this tool was designed. It will do the job better and more safely at the rate for which it was intended. Do not modify this tool and do not use this tool for any purpose other than which it was intended.
OPERATION
- Adjusting the vise base plate, loosen the adjustable base screw (part / adjustable base screw) until loose. Rotate the vise to the desired position and tighten the before-mentioned adjustable base screws.
- Clamping turns the adjustable screw (part/adj screw) to the desired clamping force. At no point should you use an extended pole and/or tube to increase the amount of force applied to the adjustable screw, as it will damage the vise.
- Anvil (if your vise includes one) when using the anvil (part/anvil) be sure to exercise caution. Never hit with a hardened striking tool as it may cause chipping of the tool and/or the anvil and/or personal injury.
STEPS TO MOUNT A VISE
- Place the vise on the surface you intend to mount it to.
- With a marker, trace the inside of the bolt mounting holes.
- Remove the vise and pre-drill holes for mounting hardware.
- Place the vise back in place and align the bolt pattern of the base with pre-drilled mounting holes.
- Place screws (not included) through the vise base and into the pre-drilled mounting surface.
- Install screws, being sure not to over-tighten.

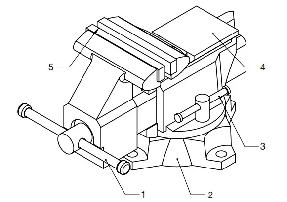
PARTS LISTS
| # | DESCRIPTION |
| 1 | Adjustable Screw |
| 2 | Base Plate |
| 3 | Adjustable Base Screw |
| 4 | Anvil |
| 5 | Clamp Jaws |
MAINTENANCE
- Avoid using solvents when cleaning.
- Most items are susceptible to damage from various types of commercial solvents.
- Use clean cloths to remove dirt, dust, oil, grease, etc.
- Lubricate regularly.
WARRANTY

1 YEAR LIMITED WARRANTY
This STEELMAN® product is backed by a 1 Year Limited Warranty. This warranty covers manufacturer defects and workmanship. The warranty excludes misuse or abuse and normal wear and tear. Exclusion is not allowed in some states and may not apply. This warranty gives you specific legal rights, and you may have other rights, which vary from state to state.
For questions/comments, technical assistance or repair parts, please call toll-free at: 1-855-706-1550 (M-F 6 am – 4:30 pm PST) Before sending a unit back for repair, an RMA (return materials authorization) number must be obtained and written on the outer shipping box.
Please submit a ticket online at http://www.steelmantools.com/contacts to receive an RMA number. We will determine if the unit needs to come in for repairs or replacement. Warranty claims that cannot be processed through the point of purchase and any other product-related questions should be addressed directly to JS Products.
NOTES———–
JS PRODUCTS · 6445 MONTESSORI STREET · LAS VEGAS, NV 89113
CUSTOMER SERVICE: 1-855-706-1550 · WWW.STEELMANTOOLS.COM
















