HARBOR FREIGHT 63775 5 Inch Rugged Cast Iron Swivel Vise with Anvil Owner’s Manual

HARBOR FREIGHT 63775 5 Inch Rugged Cast Iron Swivel Vise with Anvil
Visit our website at: http://www.harborfreight.com
Email our technical support at: [email protected]
When unpacking, make sure that the product is intact and undamaged. If any parts are missing or broken, please call 1-888-866-5797 as soon as possible.
Copyright© 2020 by Harbor Freight Tools®. All rights reserved. No portion of this manual or any artwork contained herein may be reproduced in
any shape or form without the express written consent of Harbor Freight Tools. Diagrams within this manual may not be drawn proportionally. Due to continuing improvements, actual product may differ slightly from the product described herein. Tools required for assembly and service may not be included.
![]()
Read this material before using this product. Failure to do so can result in serious injury.
SAVE THIS MANUAL.
Specifications
| Jaw Opening | 5″ Maximum |
| Anvil Size | 3″ x 3″ |
Important Safety Information
- Mount before use according to these instructions. Improper mounting can create hazards.
- Wear ANSI-approved safety goggles and heavy-duty work gloves during mounting and use.
- Keep work area clean and well lit.
- Keep bystanders out of the area during use.
- Before drilling holes, check for hidden utility lines in drilling path.
- Do not use when tired or when under the influence of alcohol, drugs or medication.
- This product is not a toy. Do not allow children to play with or near this item.
- Use as intended only.
- Inspect before every use; do not use if parts are loose or damaged.
- Do not exceed listed weight capacity. Be aware of dynamic loading! Sudden load movement may briefly create excess load causing product failure.
- Maintain product labels and nameplates. These carry important safety information. If unreadable or missing, contact Harbor Freight Tools for a replacement.
- When working with the Anvil, do not strike with a hardened tool. It could chip the Anvil and/or the tool.
- Damage could occur to your vise and/or workpiece if you overtighten the Handle.
SAVE THESE INSTRUCTIONS
Mounting Instructions
- Use the mounting holes on the Base as a template to mark drill points. Set the Vise flat on the workbench so that the mounting holes are positioned as desired. With a pencil, mark the
points at which to fasten the Vise onto the workbench. Set the Vise aside - Drill holes of the appropriate size (where previously marked with a pencil) through the top of the workbench.
- Carefully set the Base with the
Mounting Holes corresponding to the holes previously drilled through the top of the workbench.
Note: Mounting bolt diameter should fit mounting holes. Mounting bolt length is based on workbench thickness. - Insert hardened steel bolts (not provided), of the appropriate diameter and length, downward through the Base and the workbench. Secure the mounting bolts with the appropriate washers and nuts
WARNING! TO PREVENT SERIOUS INJURY: Before drilling holes, check for hidden electrical wires or cords in drilling path.
Operation Instructions
- Loosen the two Base Handles to allow the Base to pivot. Tighten the Base Handles before working.
- Turn the Handle counterclockwise to open the Jaws of the Vise.
- Place the workpiece inside the Jaws.
- Tighten Jaws against the workpiece by turning the Handle clockwise until it is held securely inside the Jaws.
Maintenance
- Keep the moving parts lubricated. Wipe off any lubricant on the Handles and Jaws.
- Keep the Jaws clean.
- The jaws can be removed for cleaning and are replaceable. Each is held on by two cap screws.
- Check and tighten the mounting screws/bolts to be sure the vise has not loosened from its mounting.
PLEASE READ THE FOLLOWING CAREFULLY
THE MANUFACTURER AND/OR DISTRIBUTOR HAS PROVIDED THE PARTS LIST AND ASSEMBLY DIAGRAM IN THIS DOCUMENT AS A REFERENCE TOOL ONLY. NEITHER THE MANUFACTURER OR DISTRIBUTOR MAKES ANY REPRESENTATION OR WARRANTY OF ANY KIND TO THE BUYER THAT HE OR SHE IS QUALIFIED TO MAKE ANY REPAIRS TO THE PRODUCT, OR THAT HE OR SHE IS QUALIFIED TO REPLACE ANY PARTS OF THE PRODUCT. IN FACT, THE MANUFACTURER AND/OR DISTRIBUTOR EXPRESSLY STATES THAT ALL REPAIRS AND PARTS REPLACEMENTS SHOULD BE UNDERTAKEN BY CERTIFIED AND LICENSED TECHNICIANS, AND NOT BY THE BUYER. THE BUYER ASSUMES ALL RISK AND LIABILITY ARISING OUT OF HIS OR HER REPAIRS TO THE ORIGINAL PRODUCT OR REPLACEMENT PARTS THERETO, OR ARISING OUT OF HIS OR HER INSTALLATION OF REPLACEMENT PARTS THERETO..
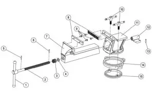
Parts List and Diagram

| Part | Description | Qty |
| 1 | Handle | 1 |
| 2 | Spindle | 1 |
| 3 | Spindle Spring | 1 |
| 4 | Washer | 1 |
| 5 | Roll Pin, M3X24 | 1 |
| 6 | Roll Pin, M4X20 | 1 |
| 7 | Moving Body | 1 |
| 8 | Jawplate | 2 |
| 9 | Jaw Screw | 4 |
| 10 | Cap Nut | 2 |
| 11 | Stationary Body | 1 |
| 12 | Spindle Nut | 1 |
| 13 | Cylindrical Pin, M5X25 | 1 |
| 14 | Base Plate | 1 |
| 15 | Sliding Plate | 1 |
Record Serial Number Here:
Note: If product has no serial number, record month and year of purchase instead.
Note: Some parts are listed and shown for illustration purposes only, and are not available individually as replacement parts. Specify number when ordering.193175411617.
Limited 90 Day Warranty
Harbor Freight Tools Co. makes every effort to assure that its products meet high quality and durability standards, and warrants to the original purchaser that this product is free from defects in materials and workmanship for the period of 90 days from the date of purchase. This warranty does not apply to damage due directly or indirectly,
to misuse, abuse, negligence or accidents, repairs or alterations outside our facilities, criminal activity, improper installation, normal wear and tear, or to lack of maintenance. We shall in no event be liable for death, injuries to persons or property, or for incidental, contingent, special or consequential damages arising from the use of our product. Some states do not allow the exclusion or limitation of incidental or consequential damages, so the above limitation of exclusion may not apply to you. THIS WARRANTY IS EXPRESSLY IN LIEU OF ALL OTHER
WARRANTIES, EXPRESS OR IMPLIED, INCLUDING THE WARRANTIES OF MERCHANTABILITY AND FITNESS.
To take advantage of this warranty, the product or part must be returned to us with transportation charges prepaid. Proof of purchase date and an explanation of the complaint must accompany the merchandise. If our inspection verifies the defect, we will either repair or replace the product at our election or we may elect to refund the purchase price if we cannot readily and quickly provide you with a replacement.
We will return repaired products at our expense, but if we determine there is no defect, or that the defect resulted from causes not within the scope of our warranty, then you must bear the cost of returning the product. This warranty gives you specific legal rights and you may also have other rights which vary from state to state.

SAVE THESE INSTRUCTIONS


















