CONRAD 2633084 Electronic Stick Lighter Instruction Manual

Intended use
The product is a USB-C® rechargeable electronic arc lighter. It has a retractable tip and the arc discharge is wind resistant.
If you use the product for purposes other than those described, the product may be damaged.
Improper use can result in short circuits, fires, electric shocks or other hazards.
The product complies with the statutory national and European requirements.
For safety and approval purposes, you must not rebuild and/or modify the product.
Read the operating instructions carefully and store them in a safe place. Make this product available to third parties only together with the operating instructions.
All company names and product names are trademarks of their respective owners. All rights reserved.
USB4®, USB Type-C® and USB-C® are registered trademarks of USB Implementers Forum.
Delivery contents
- Product
- USB-C® to USB-A charging cable
- Operating instructions
Latest product information
Download the latest product information at www.conrad.com/downloads or scan the QR code shown. Follow the instructions on the website.
Description of symbols

Safety instructions
Read the operating instructions carefully and especially observe the safety information. If you do not follow the safety instructions and information on proper handling, we assume no liability for any resulting personal injury or damage to property. Such cases will invalidate the warranty/guarantee.
5.1 General
- The product is not a toy. Keep it out of the reach of children and pets.
- Do not leave packaging material lying around carelessly. This may become dangerous playing material for children.
- If you have questions which remain unanswered by this information product, contact our technical support service or other technical personnel.
- Maintenance, modifications and repairs must only be completed by a technician or an authorised repair centre.
5.2 Handling
- Handle the product carefully. Jolts, impacts or a fall even from a low height can damage the product.
5.3 Operating environment
- Do not place the product under any mechanical stress.
- Protect the appliance from extreme temperatures, strong jolts, flammable gases, steam and solvents.
- Protect the product from high humidity and moisture.
- Protect the product from direct sunlight.
5.4 Operation
- Consult an expert when in doubt about the operation, safety or connection of the product.
- If it is no longer possible to operate the product safely, take it out of operation and protect it from any accidental use. DO NOT attempt to repair the product yourself. Safe operation can no longer be guaranteed if the product:
– is visibly damaged,
– is no longer working properly,
– has been stored for extended periods in poor ambient conditions or
– has been subjected to any serious transport-related stresses.
5.5 Product
Important:
Prevent accidental ignition! Always retract the arc tip and switch the main power OFF when the product is not in use.
- Do not allow product to make contact with flames or sparks.
- Risk of short circuit! Do not allow the arc to come in contact with conductive materials.
- Risk of burns and/or fire!
– Check the electric arc is fully extinguished after use.
– Arc tip can become extremely hot after use, allow to cool down before storing away.
– Always discharge the arc away from face, body, and clothing.
– Do not touch the electric arc.
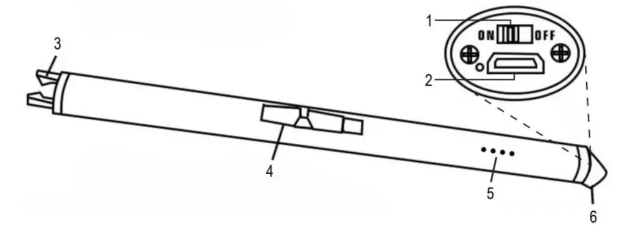
Product overview

- Main power switch: ON/OFF
- USB-C® charging port
- Arc discharge tip
- Slider switch
- Battery status indicators
- Hanger
Charging the battery
- Connect one end of the charging cable to the charging input on the product.
- Connect the other end of the charging cable to a suitable power supply
Operation
Important:
Prevent accidental ignition! Always retract the arc tip and switch the main power OFF when the product is not in use.
- Switch the power ON.
- Use the slide switch to protract and then discharge the arc.
- Fully retract the arc and switch the main power OFF after use.
Cleaning and care
Important:
– Do not use aggressive cleaning agents, rubbing alcohol or other chemical solutions. They damage the housing and can cause the product to malfunction.
– Do not immerse the product in water.
– Do not touch the part where the arc forms.
- Switch the main power OFF and allow the product to completely cool down.
- Clean the product with a dry, fibre-free cloth
Disposal
This symbol must appear on any electrical and electronic equipment placed on the EU market. This symbol indicates that this device should not be disposed of as unsorted municipal waste at the end of its service life.
Owners of WEEE (Waste from Electrical and Electronic Equipment) shall dispose of it separately from unsorted municipal waste. Spent batteries and accumulators, which are not enclosed by the WEEE, as well as lamps that can be removed from the WEEE in a non-destructive manner, must be removed by end users from the WEEE in a non-destructive manner before it is handed over to a collection point.
Distributors of electrical and electronic equipment are legally obliged to provide free take-back of waste.
Conrad provides the following return options free of charge (more details on our website)
- in our Conrad offices
- at the Conrad collection points
- at the collection points of public waste management authorities or the collection points set up by manufacturers or distributors within the meaning of the ElektroG
End users are responsible for deleting personal data from the WEEE to be disposed of.
It should be noted that different obligations about the return or recycling of WEEE may apply in countries outside of Germany
Technical data

This is a publication by Conrad Electronic SE, Klaus-Conrad-Str. 1, D-92240 Hirschau (www.conrad.com).
All rights including translation reserved. Reproduction by any method (e.g. photocopying, microfilming or the capture in electronic data processing systems) requires prior written approval from the editor. Reprinting, also in part, is prohibited.
This publication reflects the technical status at the time of printing.
Copyright by Conrad Electronic SE.
*2633084_V2_0223_dh_mh_en 9007200028149387-2 I2/O2

















