PERMA STEEL PG-40C10 Permasteel Square Portable Charcoal Grill

Thank you for purchasing your new charcoal grill from Permasteel. We hope you enjoy your product.
WARNING
- This unit is designed for outdoor use only.
- For safety reasons, this unit may not be operated using liquid fuel.
- Always wear gloves when adjusting the height of the grilling rack as the handles of the rack can become very hot during grilling.
DANGER
Risk of explosion:
- This charcoal grill becomes very hot and may not be moved when in use.
- Do not use spirit, petrol or similar liquids to light or re-light the charcoal grill.
- Only use lighters in accordance with EN 1860-3.
- Keep away from children and animals.
Important Safety Information
Thank you for your purchase of our outdoor Portable Square Charcoal Grill. We sincerely wish you will enjoy using our fine products.
- Please read this User’s Manual in its entirety before using the grill.
- Please contact our customer service at 1-888-287-0735 if you have any questions.
- Please read this User’s Manual carefully. Failure to follow the provided instruction can result in seriously bodily injury and/or property damage.
- Some parts of this grill may have sharp edges. Please wear suitable protective gloves.
- IMPORTANT: This charcoal grill is intended for outdoor use only and is not intended to be installed in or on recreational vehicles or boats.
- NOTE TO INSTALLER: Leave this User’s Manual with the customer after delivery and/or installation.
- NOTE TO CONSUMER: Leave this User’s Manual in a convenient place for future reference.
Safety Symbols
The symbols listed here are being used throughout this User’s Manual. Please pay special attention to them. The meaning of each of the symbols is listed here:
DANGER:
this symbol indicates an imminently hazardous situation which will result in death or serious bodily injury if not properly followed.
WARNING:
this symbol indicates a warning of potential serious bodily injury if the instructions are not strictly followed. Please be sure to read and follow all these messages carefully.
CAUTION:
this symbol indicates a potentially hazardous situation which may result in minor or moderate bodily injury if the instructions are not properly followed.
Installation / Safety Precautions
WARNING
READ THIS SECTION FIRST BEFORE INSTALLING THE CHARCOAL GRILL
- This charcoal grill is designed for outdoor use only.
- RISK OF CUTS: Every care has been taken at the factory to ensure that there are no sharp edges on this unit. Be careful when handling the individual components to prevent accidents and injuries when assembling and starting up the unit.
- BEFORE USE: Always select a secure, even surface and a suitable place for charcoal grilling. The unit may not be transported when warm. For safety reasons, the unit may not be operated using liquid fuel.
- RECOMMENDATION: Heat the charcoal grill before you use it for the first time and allow fuel to glow for at least 30 minutes.
- This grill is safety certified for use in the United States and Canada only. Never modify to use in other places. Modification may cause serious bodily injury or property damage. PermaSteel is not responsible for any modifications, and all warranties will be void.
- WARNING: This product can expose you to chemicals including lead, which is known to the State of California to cause cancer and birth defects or other reproductive harm. For more information go to www.P65Warnings.ca.gov.
Barbeque Safety Warning
WARNING
FOR YOUR SAFETY, PLEASE READ THIS SECTION FIRST
- Use only on hard, horizontal, non-flammable, stable surfaces (concrete, ground, etc.) that can support weight. Do not use it on wood or other surfaces that may burn.
- A proper distance of 10 feet shall be maintained between the charcoal grill in use and flammable materials such as shrubs, trees, wood decks, fences, buildings, etc.
Notes with regard to lighting:
- Arrange the charcoal pieces in the fire basin in pyramid form.
- The fire basin can accommodate a maximum of around 3 lbs (1.5 kg) of ordinary charcoal.
- Evenly space dry charcoal lighters around the pyramid. The pyramid is best lit using a match.
- Only start to cook when the fuel is covered with a sheet of ash.
- Grease the grilling rack with a little vegetable oil and start grilling.
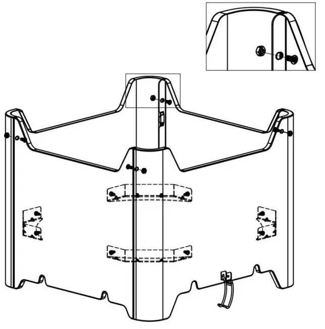
Exploded View
Parts List
| Key | Description | Qty |
| 1 | Handle | 1 |
| 2 | Lid | 1 |
| 3 | Cooking Grate | 1 |
| 4 | Charcoal Pan | 1 |
| 5 | Inner Bracket | 4 |
| 6 | Side Panel | 2 |
| 7 | Back Panel | 1 |
| 8 | Front Panel | 1 |
| 9 | M4 x 10mm Bolt | 12 |
| 10 | M6 Nut | 6 |
If you are missing any parts or have damaged parts, please call 1-888-287-0735 M-F 8:00-5:00 Pacific Time. For replacement, visit us at www.permasteel.life
Assemble Steps
Step 1
- Insert the left and right panels into the card slot of the front and back panels.

Step 2:
- Use (8) M4 x 10mm bolts to attach the 4 brackets inside the grill.

Step 3
- Turn over the grill and use the (4) M4 x 10mm bolts and (4) M4 nuts to attach the panels together.

Step 4
- Turn over the grill, place the charcoal pan and then the cooking grate inside the grill.

Step 5
- Insert the handle into the holes on the lid, screw (2) M6 nuts into the handle.

Step 6
- Place the lid on the grill, secure the lid with 2 latches on the side of the grill.

We hope you enjoy your product and we are always here for you:
Visit us at: www.permasteel.life
Customer Service: 1-888-287-0735
Email: [email protected]
Distributed by
Permasteel Inc.
100 Exchange Place
Pomona,
CA 91768
Designed in California, Made in China






















