S3 TWS
True wireless Bluetooth headset
Instructions Manual
Summary
Thank you for choosing our product, the design of our Bluetooth headset. Stylish, powerful, and compatible, let you really experience wireless.
Le Shang, who calls and listens to music! You work, go out and drive. Best choice!
Wireless technology
With Bluetooth wireless technology, you can connect headphones without using cables. Connect the compatible communication equipment. Bluetooth wireless connection does not require holding hands. It is opposite to the headset, but the maximum distance between them should not exceed. After 10 meters (about 30 feet), the Bluetooth wireless connection may be blocked by walls and other obstacles. Or other electronic devices.
In some areas, the use of Bluetooth wireless technology may be limited, Please consult local authorities or service providers.
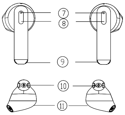
Product schematic diagram
![]() | ![]() |
| 1. Left earphone 2. Right earphone 3. Charging bin 4. Electric quantity display lamp 5. TYPE-C charging port 6. Charging bin button | 7. Headset lamp/noise reduction microphone 8. Multifunctional touch position 9. Headphone charging piece 10. Microphone hole 11. telephone receiver |
Product parameter
| Bluetooth version | V5.3 |
| Transmission distance | 10 meters |
| Frequency response | 20~20KHz |
| Output sensitivity | 105dB |
| Microphone sensitivity | -42dB |
| Battery capacities | 400mAh |
| Impedance | 32Ω |
| Rated power | 10mW |
| Driving unit | Ø13mm |
| Charging voltage | 5V |
| Playback time | About 7 hours |
| Standby time | About 40 hours |
| Charging time | About 1.5 hours |
| Net weight of the product | 35.8g |
Charging headphones
- Before using the Bluetooth headset for the first time, the battery must be fully charged.
- When charging, the white light is always on, accompanied by a white light flashing.
- The headset is fully charged, which takes about 1 hour.
- When it is fully charged, the white light will turn on.
Basic operation
Open:
Open the charging compartment cover, and turn on the white light of the headphones for about 1 second.
Search equipment:
After the headset is turned on, it flashes slowly and turns off the light.
Bluetooth pairing:
Please make sure the phone supports Bluetooth and turn on Bluetooth. Switch, and select “Budi S3” from the Bluetooth list of the mobile phone. Pairing, pairing is successful, and the earphone light goes out.
Close:
Put the left and right headphones into the charging compartment, and cover the box, or Disconnect the Bluetooth device and turn it off automatically for 180 seconds.
Answer a call:
Press the touch buttons of the headphones on either side. Figure 8 Position.
End the call:
Press the touch buttons of the headphones on either side. Figure 8 Position.
Refuse to answer the phone:
Press the touch of headphones on either side for 1-2 seconds.
Voice assistant:
In the standby/music mode, press 3 times on either side. Touch the button of the headset to activate (example: Siri of Apple’s mobile phone.
Clear pairing information:
When there is no Bluetooth connection, press and hold either side.8 seconds until the white light flashes.
Play/pause music:
Press the headset touch button on either side to play, Press again to pause.
Last song:
Press and hold the touch button of the left earphone for 2 seconds.
Next song:
Press and hold the touch button of the right earphone for 2 seconds.
Note:
(When using one-sided headphones, press and hold the touch buttons of the left and right headphones.
All are the next operation).
Electric quantity display function:
Display the headset power on the IOS system, so that Consider whether to charge the headphones.
Low alert:
The headset will give a reminder tone every 5 minutes.
There are three times in total.
Headset charging:
- When the power of the headset is insufficient, the headset will sound prompt.
- Put the headphones back into the charging compartment and close the cover to charge them. When the headset is charged, the white light is always on, and the full-charge white light goes out.
Charger and battery:
Before using any charger to charge this charging bin, please check the charging first.
Whether the specification of the electrical appliance meets the requirements (suggested charger specificationDC 5V /1A), too high a charging voltage is likely to damage Bluetooth.Headphones.
Matters needing attention:
- Please follow the instructions of this manual.
- Do not use the charger whose output specification exceeds 5V/1A for this product. Charge the product, otherwise, it will easily damage the battery of the product.
- Do not use this product near the heat source, such as the radiator or hot air conditioner. Section, stove, or other instruments that generate heat.
- When using headphones, be sure to turn them to a moderate volume. Avoid damage Hurt your hearing.
If this product is damaged for any reason, it must be branded with me in time. After-sales contact and handling. - Please use and store this product at room temperature.
Warm tip:
The effective warranty period of this product is one year from the date of sale, and it is under warranty.
Under the condition of normal use and maintenance within the repair period, the machine itself
Material and function problems, failure, the investigation is true, this public.
The division will provide free repair and replacement parts.
FCC Warning
This device complies with part 15 of the FCC Rules.
Operation is subject to the following two conditions:
- This device may not cause harmful interference,and
- this device must accept any interference received, including interference that may cause undesired operation.
Any Changes or modifications not expressly approved by the party responsible for compliance could void the user’s authority to operate the equipment. This equipment has been tested and found to comply with the limits for a ClassB digital device, pursuant to part 15 of the FCC Rules.
These limits are designed to provide reasonable protection against harmful interference in a residential installation. This equipment generates uses and can radiate radio frequency energy and, if not installed and used in accordance with the instructions, may cause harmful interference to radio communications. However, there is no guarantee that interference will not occur in a particular installation.
If this equipment does cause harmful interference to radio or television reception, which can be determined by turning the equipment off and on, the user is encouraged to try to correct the interference by one or more of the following measures:
- Reorient or relocate the receiving antenna.
- Increase the separation between the equipment and receiver.
- Connect the equipment into an outlet on a circuit different from that to which the receiver is connected.
- Consult the dealer or an experienced radio/TV technician for help. The device has been evaluated to meet general RF exposure requirements.
The device can be used in portable exposure condition without restriction.
FCC ID:2A2GO-S3
The warranty of this headset does not apply to:
A. The headset has expired the warranty period;
B. The user fails to follow the requirements of the instruction guide, resulting in broken headphones and a broken shell;
C. Disassemble, repair, and change the structure without the authorization of our company;
D. Unable to provide warranty card and consumption voucher;
E. product failure or damage caused by natural disasters and other force majeure (such as earthquakes and fire);
Note: the warranty service does not include the transportation cost of the product and does not provide on-site repair service.
The right to interpret this warranty belongs to BUDI.
Warranty feedback form (check):
A.Headphones have no sound.
B.Deterioration of sound quality
C.Keys cannot be operated.
D.Unable to align the device.
E.Unable to charge.
F.Other_________________
User purchase time:______________________________________
Purchase dealer:________________________________________
Time of problem occurrence:_______________________________
User contact information:__________________________________




















