Avanti DWF18V0W 18-Inch Built-In Full Console Dishwasher Installation Guide
INTRODUCTION
When using the dishwasher, follow carefully precautions in this instruction, especially the safety instructions. These are provided in order to save you, your time and effort and help to ensure optimum dishwasher performance. Be sure to observe all listed warnings and cautions. Look particularly for the icons with exclamation marks inside. The information icon will also provide important references.
WARNING
Indicates a potentially hazardous situation which, if not avoided, could result in death or serious injury.
CAUTION
Indicates a potentially hazardous situation which, if not avoided, may result in injury. It may also be used to alert against unsafe practices.
Notice
Indicates a potentially hazardous situation which, if not avoided, may result in damage to the dishwasher, the table-ware, the equipment or the environment.
IMPORTANT SAFETY INSTRUCTIONS
In addition to these instructions, the dishwasher shall be installed:
- In accordance with all local codes or, in absence of a local code,
- In the United States, with the National Electric Code,
- In Canada, with the Canadian Electric Code C22.1-latest edition/Provincial and Municipal codes and/or local codes.
Notice:
Read these installation instructions completely before installing and follow them carefully. Save these installation instructions and pass them on to any future user.
Warning:
When installing the dishwasher, follow basic precautions, including the following:
- The dishwasher could only be converted from cord connected to permanently connected by an authorized service representative. (If needed contact your dealer to schedule an authorized service agent for conversion with an appropriate conversion kit)
- Installation and repair should be performed by a qualified installer. Work by unqualified persons could be dangerous and may void the warranty.
Notice:
The dishwasher should be installed by an insured licensed plumber, contractor or trained installer. Installation performed by persons other than this could result in improper installation and property damage.
- Do not operate the appliance if damaged, malfunctioning, partially disassembled or if it has missing or broken parts.
- Also follow the safety instructions of the user manual.
- To reduce the risk of electric shock, fire, or injury to persons, the installer must ensure that the dishwasher is completely enclosed at the time of installation.
- Only connect the dishwasher to the power supply when all installation and plumbing work is complete
- If the dishwasher is installed in a location that experiences freezing temperatures (e.g. in a vacation home, cabin, etc.), you must drain all the water from the dishwasher’s interior. Water system ruptures that occur as a result of freezing are not covered by warranty
- Dishwasher must be secured to adjacent cabinetry using the brackets provided. Failure to do this may cause damage to property or bodily injury
Connect to a properly rated, protected and sized power supply circuit to avoid electrical overload. The dishwasher is designed for an electrical supply of 120 V (volts), 60 Hz (hertz), AC, connected to a dishwasher dedicated, properly grounded electrical circuit with a fuse or breakers rated for 15 amperes. Electrical supply conductors shall be a minimum of # 16 AWG copper wire rated at 75 °C (167 °F) or higher. These requirements must be met to prevent injury and machine damage. Consult a qualified electrician if in doubt.
- Do not use any extension cord or portable outlet device to connect the dishwasher to a power supply.
- Ensure that any plastic wrappings, bags, small pieces etc. are disposed of safely and kept out of the reach of children. Danger of suffocation!
- Remove the door to the washing compartment when removing an old dishwasher from service or discarding it. Ensure that the appliance presents no danger to children while being stored for disposal.
- Old appliances may contain materials that can be recycled. Please contact your local recycling authority about the possibility of recycling these materials.
Notice:
- The dishwasher drain hose must be installed with a drain loop at least 28” (710mm) off the cabinet floor; otherwise the dishwasher may not drain properly.
- This dishwasher is intended for residential use only, and should not be used in commercial establishments.
- New installation – If the dishwasher is a new installation, most of the work must be done before the dishwasher is moved into place.
- Replacement – If the dishwasher is replacing another dishwasher, check the existing dishwasher connections for compatibility with the new dishwasher, and replace parts as necessary.
TOOLS WHICH MAY BE NEEDED

MATERIALS WHICH MAY BE NEEDED
(Additional materials may be required to comply with local codes)
![]() | Hot Water Supply Line – Minimum 3/4” O.D. copper tubing or metal braided dishwasher supply line. |
![]() | UL listed conduit connector or strain relief. |
![]() | Teflon tape or other pipe thread compound to seal plumbing connections |
![]() | Shut-off valve and fittings appropriate for hot water supply line (copper tubing/compression fitting, or braided hose) |
![]() | Silicone Glue |
![]() | Silicone Glue |
MATERIALS SUPPLIED
PARTS SUPPLIED
The parts required for positioning the dishwasher are in plastic bags. Check that all of the following parts are contained in the plastic bags.
MANUAL BAG
The dishwasher comes with a manual bag containing: User manual, Installation manual
DISHWASHER PARTS BAG 1
This dishwasher bag comes with the following parts:
- a. Test Strip
- b. Hose Clamp

DISHWASHER PARTS BAG 2
- c. Mounted Plan
- d. Steam Protection Foil
- e. Side Trim Strips (Left)
- f. Side Trim Strips (Right)
- g. Wooden Door Fixing Strips
- h. Hole Covers

DISHWASHER PARTS BAG 3
- j. Screws Ø 5/32” x 53/32” (Ø 4mm x 42,5mm)
- k. Screws Ø 5/32” x 19/32” (Ø 4mm x 15mm)
- l. Mounting Bracket Left
- m. Mounting Bracket Right
- n. Screws Ø 5/32” x 27/32” (Ø 4mm x 21,5mm)

DISHWASHER PARTS BAG 4
(MODEL DEPENDING)
- o. Toe Kick Bracket
- p. Screws Ø 5/32” x 7/32” (Ø 4mm x 6mm)
- r. Plinth Fixing Metal
- s. Adjustable Plinth
- t. Adjustable Plinth Metal (130mm)
- v. Adjustable Plinth Metal (80mm)
- y. Plinth Locking Pins

DISHWASHER PARTS BAG 5
(MODEL DEPENDING)
- z. Long Legs

DISHWASHER SPECIFICATIONS

TECHNICAL FEATURES
| Load capacity | 10 place settings |
| Permissible water pressure | 43.5 – 145 psi (0.3 – 10 bars) |
| Electrical connection | 120 V (volts), 12 A (amps), 60Hz (hertz) |
| Total power | 1400 W (watts) |
| Heater power | 1100 W (watts) |
Notice:
Because we continually strive to improve our products, we may change our specifications and design without prior notice. This device corresponds to the following standards: UL 749 Household Dishwasher Standard.
ENCLOSURE PREPARATION
ELECTRICAL PREPARATION
WARNING
The dishwasher is designed for an electrical supply of 120 V, 60 Hz, AC, connected to a dishwasher dedicated, properly grounded electrical circuit with a fuse or breaker rated for 15 amperes.
PREPARATION FOR INSTALLING MOUNTING BRACKETS
Warning:
The mounting brackets in the plastic bag should be used when the dishwasher is installed in the cabinetry. Use of any parts other than mounting brackets may result in damage to property or bodily injury.

If material of countertop board is wooden etc.;

If material of countertop board ceramic etc.;
\
- Place the two mounting brackets into the top corners of the dishwasher.
- If necessary (according to counter top board material), bend sides of mounting brackets. Depending on your cabinet, you can either bend the bracket and screw it to the attached walls or you can screw it to the bottom of your counter without bending it.
ADJUSTING HEIGHT
Caution:
First Step: Before the dishwasher is placed in the cabinetry, the front feet are closed until the end and the dishwasher is placed in the cabinetry
Second Step: Adjust the forefoot level with a flat screwdriver to stabilize the dishwasher and raise it to the enclosure height.
Third Step: Adjust the rear foot level by placing a Philips screwdriver into (c) point balance and raise the dishwasher to the enclosure height.
Notice:
- Make sure the dishwasher is plumb and notice dishwasher can be placed with a small clearance under the counter top.
- For front feet; turning the feet in the direction of the black arrows with the flat screwdriver allows the dishwasher to move downwards.
- For rear feet; Turning the Philips screwdriver in the direction of the black arrows will take the dishwasher feet down.

If the height of the enclosure is 33 7/8″ to 35 7/8″ (860mm 910mm) use short supports as shown in the figure.
If the height of the enclosure is above 32 9/32″ (870mm) use long supports as shown in the figure.
WATER SUPPLY CONNECTION
Water supply may be connected to the dishwasher in one of two ways:
- With metal braided hose.
- With copper tubing BRAIDED
HOSE/COPPER TUBING
After connections are made turn on the water supply to check for leaks.
Caution:
Hot water supply line: Use minimum 3/4” O.D. copper tubing or metal braided dishwasher supply line.
- Water Inlet valve of dishwasher has 3/4″-11.5NH inlet coupling thread dimension according to ASME B1.20.7-1991.
- When you are buying water inlet hose for your dishwasher, please choose the thread dimension of the inlet hose as compatible with indicated water inlet valve inlet coupling thread dimension (3/4″- 11.5NH) of your dishwasher.
- Temperatures required for soldering and sweating will damage the dishwasher’s water inlet valve so if any such operation is needed, keep the heat source min. 77/8” (200mm) away from the dishwasher’s water inlet valve.
- There should not be any sharp bends in the water line that may restrict the water flow.
- Teflon tape or pipe tread compound must be used for sealing the connection. Before connecting the copper water supply line to the dishwasher, flush it with hot water to clear any foreign material.

STEAM PROTECTION FOIL
Steam will be released when the dishwasher door is opened during the operation of the dishwasher and after completion of the working cycle. In order to prevent the resulting steam from collecting and damaging at the underside of the counter top, use a steam protection foil inside the plastic bag.


Caution:
Steam protection foil must be applied where the steam escapes when door is first opened. Failure to install the steam protection foil during installation can lead to damage to the cabinets and countertop.
PLACEMENT OF DISHWASHER INTO THE OPENING
Now place the dishwasher into the opening and get ready to connect all hoses and electrical connections according to UL 749 CLAUSE 8.3.3 The installation instructions provided with a cord-connected undercounter appliance shall include the following instructions or equivalent information:
- The power-supply receptacle for the appliance shall be installed in a cabinet or on a wall adjacent to the undercounter space in which the appliance is to be installed;
- There shall be an opening through the partition between the compartments specified in (a)that is large enough for the attachment plug to pass through. The longest dimension of the opening shall not be more than 38 mm (1.5 in);
- The edges of the opening specified in (b) shall, if the partition is wood, be smooth and rounded, or, if the partition is metal, be covered with an edge protector provided for this purpose by the manufacturer; and d) Care shall be exercised, when the appliance is installed or removed, to reduce the likelihood of damage to the power-supply cord.

CAUTION
Make sure all hoses are pulled through the side opening of the cabinet, no hoses are kinked and all slack is taken out as shown in the figure.
DRAIN HOSE CONNECTION, WATER SUPPLY & ELECTRICAL CONNECTIONS
DRAIN HOSE CONNECTION
- Check the parts on the sink to which the drain hose will be connected.
- There are several ways to insert the drain hose into the drain hose connector of the sink, as shown in the following figures. You must connect the drain hose in accordance with the water pipe installation regulations in your region.


- Check the size of the sink’s drain hose connector. If needed, cut the drain hose so its end fits onto the sink connector (5/8 in., 3/4 in. or 1 in. – as shown in C below). If the end of the drain hose does not fit onto the drain hose connector of the sink, use an adaptor purchasable at a plumbing/hardware supply store.
- Slide a hose clamp over the end of the drain hose. Attach the drain hose to the sink connector, slide the hose clamp to the end of the hose, and then tighten the hose clamp. Note : You must use a hose clamp. Failure to do so may cause water leakage.
- If there is no air gap, make sure to hang. the middle of the drain hose well above the sink cabinet base to prevent backflow (see Figure E below).
- When drilling a hole for the drain hose on the cabinet wall, take caution not to damage the drain hose by sharp edges of the hole. On wooden walls, use sanding to soften the edges. On metal walls, use insulation tape or duct tape to cover the sharp edges around the hole.
- Take caution not the damage the drain hose when installing the dishwasher on the floor, wall, or cabinet. To prevent leaks or drainage problems, make sure the drain hose is not damaged, kinked, or twisted.
- Do not cut the wrinkled area of the drain hose to fit the size. When arranging the drain hose, take caution not to contact on sharp edges of the cabinet or under-sink.
- Be careful when cutting off the end of the drain hose as there is a risk of injury. Clean around the sink’s drain connection so that it does not damage the hose. Check for any foreign items in the drain hose and remove them.
- When arranging the drain hose, make sure the drain hose is not cut, torn, or broken by any sharp edges of the floor, the product itself, or the cabinet. A damaged drain hose causes a leak.

Use hose clamp that shown at the Figure 4. for drain hose assembly to the sink.

ADJUSTING THE MOVABLE TOE KICK (MODEL DEPENDING)
Now that you have successfully installed the dishwasher, you need to attach the toe kick to the dishwasher. The two piece toe kick can be adjusted to the height and depth needed for your kitchen.
- If the height is 33 7/8″ to 35 7/8″ (860mm-910mm) and use short supports; adjustable plinth metal with 80 mm length (v), toe kick brackets(o) are installed. Mounting is done using Screws Ø 5/32” x 7/32” (Ø 4mm x 6mm) with a Philips Screwdriver.
- If the height is above 35 7/8″ (910mm) and use short supports; adjustable plinth metal with 130 mm length (v), toe kick brackets(o) are installed. Mounting is done using Screws Ø 5/32” x 7/32” (Ø 4mm x 6mm) with a Philips Screwdriver.

- The adjustable plinth number is determined according to the required distance and assembled to each other.
- As shown in the Figure, the cylindrical feet of the adjustable plinth are attached to the plinth fixing metal parts and shifted through the cavity of the part.

- Depending on the desired depth, plinth locking(y) is attached to the toe kick bracket(o).
- In order to place the plinth into the machine, the loose edges shall be pressed firmly towards each other.
- Finally, Toe kick brackets(o) are attached to the gaps under the machine and the installation is completed.

INSTALLER CHECKLIST
Your installer must have completed and checked the following:
- The dishwasher is square and level.
- The dishwasher is fastened securely to the cabinetry.
- The dishwasher door opens and closes freely. The dishwasher door must close without hitting any cabinetry or counter top. The inlet water supply is turned on and checked for leaks.
- The drain hose has been connected and checked for leaks. There must be no kinks or obstructions in the drain hose.
- The drain hose must be installed with a 28″ (710mm) high drain loop for drain hook-ups without any air removed.
- If the dishwasher drain is hooked up to a garbage disposal, the drain hopper plug must be removed.
- The spray arms are free and rotate freely. The rinse cycle has been run.
- The water level will be below the filter screen after the end of the wash program.
- It is normal to find some water in the drain filter area.
- Set the water softener to the correct water hardness for your area. If the dishwasher drain is connected to a garbage disposal, make sure that the drain/hopper plug has been removed.
FINAL INSTRUCTIONS
- Press the On/Off button to turn the dishwasher on.
- Power indicator light comes on.
- Use the Program Select button to choose a washing program.
- Start the program with the Start/Pause/ Cancel button.
- Run the dishwasher through one complete cycle. When the wash cycle is completed, use the On/Off button to turn the dishwasher off.
SELF HELP HINTS:
The screen does not come on:
Check to make sure the circuit breaker to the dishwasher is in the on position. Check to make sure that the Supply cord is plugged.
No Water is coming into the dishwasher: Check to make sure the hot water shut- off is in the ON position.
Water does not drain:
Make sure drain hose is not kinked or comes out of air gap next to the sink. Remove drain hose from disposal making sure plug is removed.
Notice:
If your dishwasher is not operating properly after following these steps: Contact your dealer to schedule an authorized service agent to inspect your new dishwasher for any function related failure.
The manufacturer warranty does not cover installation, conversion or customer education service visits.
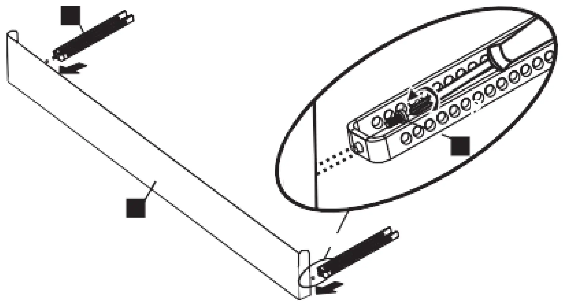
You will find the model and serial number information on the label located on the right-hand side of the inner door of your dishwasher, as shown above.
Notice:
Please make a copy of your invoice and keep it with this manual and register your dishwasher.
Notice:
If the dishwasher does not operate properly, refer to the self-help hints.





































