
Ranger

PLEASE READ ME FIRST
www.magnumbikes.com
General Introduction
1.1 Welcome
Thank you for purchasing a Magnum electric bike and welcome to the Magnum Bikes family of e-bike enthusiasts. We encourage you to join our Facebook group “Magnum Bikes Community” which you can find at the following link: https://www.facebook.com/groups/389290978573773 Our Facebook group is a place for Magnum riders to ask questions, have discussions, share recommendations and experiences and connect with other Magnum Bike enthusiasts.
1.2 Use of the Manual
We encourage you to read this manual thoroughly before you take your new E-bike for a ride. It is important not to overlook the safety instructions and explanations of both traditional and non-traditional bike parts, as this will offer you a general understanding of your new E-bike. This manual is designed to help you get the most out of your E-bike, and so we have attempted to answer as many of your potential questions as possible. Please take a moment to read through the various sections before you get in the saddle.
1.3 Service and Technical Support
This manual is intended as a general overview of your new E-bike, and is therefore not an extensive reference. For technical support, including information about service, maintenance and repairs, please consult your dealer. You can visit our website (www.magnumbikes.com) for more information about our products and technology, or to find a dealer close to you.
1.4 Bike Components
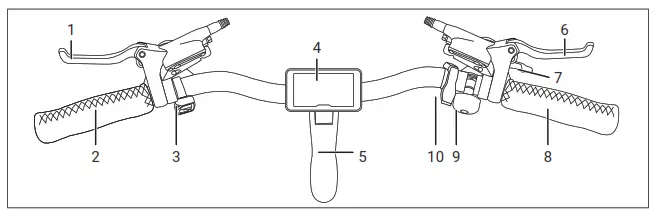
1.4.1 Handlebar

| 1. Left Brake Lever | 6. Right Brake Lever |
| 2. Left Grip | 7. Rear Shift Lever |
| 3. Display Controller | 8. Right Lever |
| 4. Display | 9. Bell |
| 5. Adjustable Stem | 10. Throttle |
1.4.2 E-bike
| 1. Rear Light | 8. Saddle | 15. Front Disc Brake |
| 2. Motor | 9. Saddle Quick Release | 16. Adjustable Stem |
| 3. Freewheel | 10. Chain | 17. Frame Number |
| 4. Rear Derailleur Protector | 11. Pedal | 18. Front Light |
| 5. Rear Derailleur | 12. Crankset | 19. Mudguard |
| 6. Rear Disc Brake | 13. Controller | 20. Front Fork |
| 7. Carrier | 14. Battery | 21. Tire |
1.5 Technical Data
Component | Ranger 26″ 48V |
| Motor | Das-Kit, X15-fat rear drive motor, 48V 750W |
| Battery | I5-4813, 48V 13Ah, 768Wh, with USB port |
| Display | Das-Kit, C7, LCD, 6 levels |
| Throttle | T6-20 |
| Front Fork | RST, GUIDE 26″ |
| Crankset | Prowheel, 48T |
| Brake Lever | Tektro, Hydraulic brake lever with Front/Rear brake sensors |
| Brake | Front/Rear: Tektro hydraulic disc brake |
| Derailleur | Shimano, Acera, 8-speed |
| Freewheel | 8-speed, 11-32T |
| tire | CST, 26*4.0″ |
| Front Light | Spanninga, Swingo-F |
| Rear Light | Spanninga, Solo |
| Max Loading (including bike) | 308lbs |
| Max Speed | 20mph throttle, up to 25mph with pedal assist |
INSTALLATION AND ADJUSTMENT
2.1 Handlebar and Stem Assembly

1. Open the top cover, align the stem with the head tube and slide it on. Tighten the screw at the top of the stem.

2. Align the handlebar to be perpendicular to the wheel, then insert and tighten the two side-facing screws as shown below.

3. Move the handlebar up or down to adjust to the desired angle, then tighten the rear-facing screw at the top of the stem to lock the handlebar in place.

4. Close the cover to complete installation and adjustment.
INSTALLATION AND ADJUSTMENT
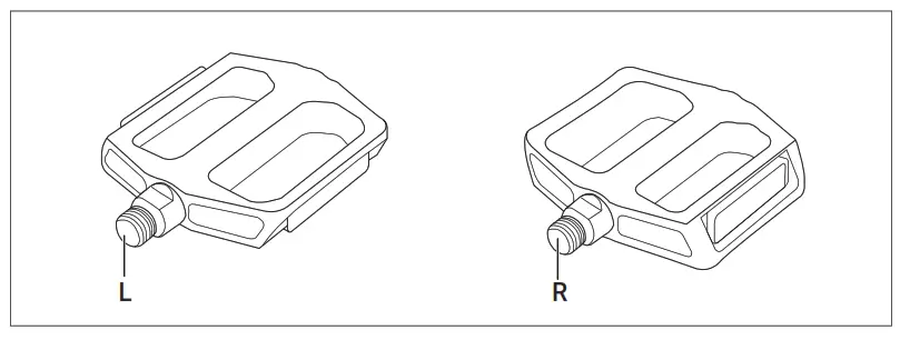
2.2 Assembly of the Pedals
– Identify your pedals: check the letters on the pedals, “L” or “R”.
– The “R” marked pedal is for the right (when facing the forward direction). For attachment to the crank, tighten clockwise.
– The “L” marked pedal is for the left. For attachment, tighten counterclockwise when facing directly.
WARNING:
First screw on the pedals by hand, then tighten with the wrench provided.


2.3 Seat Position

To enable comfortable, fatigue-free, and safe riding, the saddle and handlebar height should be adjusted to the body size of the rider.
The saddle height is correct if the leg is near full extension while the foot is resting flat on the pedal in the bottom position of the crank cycle. The toes must still be able to touch the ground comfortably.

2.4 Saddle Height
The quick-release lever must require noticeable effort to put into fully closed position to prevent any undesired movement while riding.
WARNING:
An improperly closed quick release lever can open again or have limited ability to keep the saddle in place. This may cause the saddle to suddenly drop into the seat tube, potentially leading to serious falls and injury.

There is a minimum insertion line marked on the seat post (failure to observe the minimum insertion line can result in serious injury); please ensure the seat post is always inserted into the seat tube beyond this line (the line must be inside the seat tube).
-Loosen the quick-release lever at the top of the seat tube, determine the appropriate saddle height and tighten the clamp. -The clamping force can be adjusted by adjusting the bolt on the quick-release lever.
-The quick-release lever must be closed with considerable counter pressure.
2.5 Saddle Adjustment

The saddle can also be tilted and adjusted in the forward/back direction.
– Loosen the bolt at the bottom (4).
– Adjust the saddle tilt by pressing down on the front or rear of the saddle
– Move the saddle forward or backward to adjust for arm/torso length and desired to ride position.
– Tighten the bolt (4) to secure the saddle.
Battery & Charger

3.1 Overview
A Battery
B Charging Socket
C Battery Handlebar
D Capacity Level Light
E Power Button
F USB Port (output: 5V 700mA)
WARNING: (Sticker on the battery)
Please ensure that the battery is locked in place before use.

A AC Plug (type will vary)
B Charger
C Charging Indicator
D Battery Plug
3.2 General Remarks
- Stop charging the battery immediately if you notice anything unusual, such as smoke or a strange smell; take out the battery and store it outside of the house, then take the battery to an authorized dealer or experienced technician for service or replacement.
- In the unlikely case that the battery catches fire, do NOT attempt to put it out with water. Use sand or another fire retardant instead and call emergency services immediately.
3.3 Installing and Removing the Battery
The battery (1) is secured with a lock.
-Unlock the battery and pull it out with the handle (2).
-Insert the battery (1) into the frame until it stops.
-Remove the key from the lock (3). Ensure that the battery is well secured.

3.4 Charging
- Charging at temperatures below 32°F (0°C) or above 140°F (60°C)can cause the battery to charge insufficiently and can
be harmful to the life of the battery. - During charging, the charger’s LED light will be continuously red.
- Charging is completed when the charger’s LED turns green.
Display
Instruction Manual

4.1 APPEARANCE
A Better Display. A Smart Display.
Easy View 4″ Display Panel.
Superior Anodizing Aluminum Alloy Frame.
PMMA Waterproof Cable Housing.
Easy Control with Large Buttons.
4.2 NORMAL OPERATION

FULL VIEW AREA

NORMAL VIEW AREA
With the display on, the default indicators are riding mode, trip 2, speed, PAS level, and battery indicator as shown in the figure below.
Press SET to change the display information.

Section 1: ON/OFF
Press ON/OFF to activate the display. With the display on, press ON/OFF for 2 seconds to turn off power. With the display off, there is no battery power consumption.
The panel will power off automatically when speed is 0 mph for 5 minutes.
Section 2: CURRENT INDICATOR
The current indicator shows the present discharging current of the controller: each segment is 2A, six segments are ≥ 12A.
(The bar graph shows the power output of the motor in real time. 1 bar indicates low power, full bars maximum power.)

Section 3:
3.1 BACKLIGHT
Press ON/OFF to turn on the backlight. Press it again to turn off the backlight.

3.2 SPEED INDICATOR
The central area displays the current riding speed of the E-bike. The speed display is as below.

3.3 KM/H and MPH
Selecting KM/H or MPH for the speed and mileage will switch all indicators to the selected unit of measurement.
Section 4: OPERATION
4.1 PAS LEVEL SELECTION
Press UP (+) or DOWN (-) to change the PAS level and thus change the power output of the motor. The default mode is
PAS 1 and assistance ranges from level 0 to level 6. Level 0 provides no assistance from the motor.

4.2 ERROR CODE INDICATOR
If there is something wrong with the electronic control system, the display will flash at 1Hz and show the error code automatically. Different error codes represent different faults in the system, consult the error code table on the last page for details(4.3).

The display cannot return to normal status until the problem is solved, the E-bike’s electric components will not operate if there is an error in the system. However, the bike can still be operated conventionally (without electric assistance).
Hold ON/OFF and SET at the same time to show the error code.
4.3 WALK MODE
Hold DOWN (-) for 2 seconds to enter the power-assisted walk mode. When the 6KM icon is lit, the E-bike will travel at 3.7 mph without the need for the rider to pedal. Assisted walk mode will end when the DOWN (-) button is no longer being held.
4.4 SET OPERATION

4.4.1 KM/H and MPH
Hold UP (+) for 8 seconds to enter the unit of speed selection mode, then press UP (+) or DOWN (-) to switch between KM/H and MPH and press SET to confirm and exit.
4.4.2 Trip 1 Distance
On the Trip 1 display, press the SET button for 2 seconds and the display icon will flash at 1 Hz, and keep holding SET for 2 more seconds to clear Trip 1.
Section 5:
5.1 DISTANCE INDICATOR
With the display on, press SET to select between ODO, time, trip 1 and trip 2.
5.1.1 ODO
The ODO (odometer) records the riding mileage from the very start of the display’s usage;
5.1.2 Time
The riding Time indicator is automatically reset when the display is shut off.
5.1.3 Trip1
Shows the riding distance of this time.
5.1.4 Trip2
Trip 2 shows the previous riding distance for 30s after tthe display is turned on; it can be reset automatically to start to
record the current session’s mileage.
Section 6:
6.1 BATTERY INDICATOR

6.1.1 Battery Residual Capacity Indicator
The battery capacity indicator has five segments, each segment representing 20% of battery capacity. When the battery is full, the five segments are all lit. If the battery is low, the battery display area will flash, indicating that pedal assistance will soon cease and that the battery needs to be recharged.

6.1.2 Battery Voltage
The present voltage of the battery is displayed above the battery capacity indicator.
6.2 POWER SAVING
When the riding speed is 0 mph for 5minutes, the system will power off automatically to save battery.
4.3 ERROR CODE TABLE
Each error code corresponds to a specific fault in the system. Take the E-bike to your dealer to have the error resolved.
| Error code | Definition |
| 0 | Normal |
| 1 | Current error or MOS (semiconductor) damaged |
| 2 | Throttle error (detection after turning on) |
| 3 | Motor missing phase (losing power) |
| 4 | Hall signal error (electromagnet in incorrect position) |
| 5 | Brake error (detection after turning on) |
| 6 | Under voltage |
| 7 | Motor stalling |
| 8 | Error in communication with controller |
| 9 | Error in communication with display |
If you still some questions about the display, please contact your Magnum dealer.
Recommendations and Maintenance
5.1 General Requirements
E-bikes use metal shells to cover the electric components, so we strongly advise against the use of excessive water to wash the shells and parts around them. Use a soft cloth with a neutral solution to wipe the dirt off the shells. Afterward, wipe everything dry with a clean soft cloth.
Do not use high-pressure water or air hoses for cleaning; this can force water into electrical components, which may cause malfunctioning.
Do not wash plastic components with excessive water. When the internal electrical parts are affected by water the insulator may corrode, leading to power drain or other problems.
Do not use soap solutions to wash the metal components. Non-neutral solutions may cause discoloration, distortion,
scratching, etc.
Avoid leaving the bike outdoors
When not riding, keep the bike in a location where it will be protected from snow, rain, sun, etc. Snow and rain can cause the bike to corrode. ultraviolet rays from the sun can cause unnecessary fading of paint or crack any rubber or plastic on the bike.
| Front Wheel Nuts | 22-27 Newton Meters | 16.2- 19.8 ft.-lb. |
| Rear Wheel Nuts | 24-29 Newton Meters | 17.5- 21.3 ft.-lb. |
| Seat Binder Bolt | 12- 17 Newton Meters | 8.8- 12.5 ft.-lb. |
| Seat Post Clamp Nut | 15- 19 Newton Meters | 11.0-14.0 ft.-lb. |
| Brake Anchor Nut | 7- 11 Newton Meters | 5.1- 8.1 ft.-lb. |
| Handlebar Clamp Nut | 17- 19 Newton Meters | 12.5- 14.0 ft.-lb. |
| Headset Expander Nut | 17-19 Newton Meters | 12.5- 14.0 ft.-lb. |
| Crank Cotter Pin Nuts | 9-14 Newton Meters | 6.6- 10.3 ft.-lb. |
| Brake Centre Bolt | 2-17 Newton Meters | 1.5- 12.5 ft.-lb. |
5.2 Maintenance Schedule
To keep your E-bike in optimal condition and your riding experience at its most enjoyable, we strongly recommend following the suggested maintenance schedule. You should study it and allow it to become second nature to your riding.
RECOMMENDATIONS AND MAINTENANCE
| Maintenance Schedule | Each ride | Weekly | Monthly | 6 Monthly | Yearly |
| Tire pressure | × | ||||
| Tire condition | × | ||||
| Visual inspection | × | ||||
| Brake lever pressure | × | ||||
| Quick releases | × | ||||
| Handlebar alignment | × | ||||
| Saddle alignment | × | ||||
| Battery pack locked | × | ||||
| Wheel check | × | ||||
| Inspect frame condition (include welds for fissures) | × | ||||
| Clean and lubricate chain | × | ||||
| Check brake pads | × | ||||
| Lubricate forks | × | ||||
| Lubricate brakes & cables | × | ||||
| Lubricate folding mechanism | × | ||||
| Check all bolts and torque settings | × | ||||
| Clean bicycle | × | ||||
| Charge battery | × | ||||
| Check wheel spokes | × | ||||
| Inspect rim condition | × | ||||
| Inspect saddle, rails and clamp | × | ||||
| Grease pedal bearings | × | ||||
| Check hub bearings | × | ||||
| Check headset bearings | × | ||||
| Check bottom bracket bearings | × | ||||
| Replace brake pads | × | ||||
| Replace brake cables (depends on use) | × | ||||
| Replace tires (depends on use) | × |
WARNING:
—As with all mechanical components, electrically power-assisted cycles (EPAC) are subjected to wear and high stresses. Different materials and components may react to wear or stress fatigue in different ways. If the design life of a component has been exceeded, it may suddenly fail, possibly causing injuries to the rider. Any form of crack, scratches or change of coloring in highly stressed areas indicates that the life of the component has been reached and it should be replaced.
5.3 Definition of Tampering and Recommendations
| Category 1 | Category 2 | Category 3 | Category 4 |
| Components that can only be replaced after approval from the bicycle manufacturer/ electronic system provider | Components that can only be replaced after approval from the bicycle manufacturer | Components that can only be replaced after approval from the bicycle or component manufacturer | Components that can be replaced without the approval |
| Motor Sensors Controller Electric cables Controls on the handlebar Display Battery Battery charger | Frame Fork(including suspension) Hubmotor wheel Brake system Brake shoe Luggage carrier Bottom bracket | Cranks Wheel without hub motor Chain or belt (at original width) Rim tape Tires (at orginal ETRTO specifications only) Mechanical/hydraulic brake cables Brake system (for drum, disc and roller brakes) Handlebar and stem (without alterations to the handlebar and stem) Saddle and seat post (maximum variation from original should not exceed 20mm) Headlight | Headset Pedals (at the same width as the originals) Derailleurs Shifters Shifting inner/outer cables Chainring/belt drive ring Cassette/freewheel or cogs (when the cogs are the same as the originals) Chaincase Mudguards (only the same size as the originals and mounted at least 10 mm distance from the tire) Spokes Inner tubes Dynamo Front light / front reflector Rear light / rear reflector Wheel reflectors Kickstand Grips (with a screw clamp only) |
WARNING:
Modifications to any part of your bike, such as the fork or frame, may make that part or the entire bike unsafe. A poorly installed or modified component can increase the stress on all other parts, greatly increasing their chance of failure. Modifications can also adversely affect the handling of your bike, resulting in loss of control, falls and serious injury. Please do not add, remove, or modify parts of your bike in any way before consulting with a trained bike technician. We recommend you consult with us at before you make modifications or add parts, in order to confirm their safety and compatibility with your bike.
Warranty
Your MAGNUM E-bike comes with a limited warranty. Please visit www.magnumbikes.com or your local magnum dealer for details.
Bike must be registered at www.magnumbikes.com/warranty in order to be covered by the one yeat warranty.
| @magnumbikes | |
| @magnumbikes | |
| www.magnumbikes.com | |
| [email protected] | |
| 323-375-2666 |
![]()

















