
Heybike Ranger
ELECTRIC BIKE
USER MANUAL
Congratulations on your purchase
This user manual will help you assemble and operate your new electric bike. Be sure to read all of the information in this manual before riding.
NOTE TO ALL RIDERS UNDER 18 YEARS OF AGE: It’s very important that you get parental permission before riding your electric bike.
Product Safety Notice
Don’t Ride Until You Read This:
![]() | Always wear a helmet when riding your electric bike. |
| Keep the two keys properly. If the unique keys are lost, you will not be able to turn on the bike or replace the battery. If necessary, you should get more spare keys (We don’t have a backup key). | |
| Make sure your electric bike has a full battery before taking it out to ride. | |
| Always be aware of local road laws, and follow them. | |
| Do not ride the bike under the influence of drugs or alcohol. | |
| Always respect pedestrians. | |
| Do not ride under wet conditions. The electric bike may slide from under your feet causing injury. Wet conditions may damage the electronics and void the warranty. |
Warning Message
- Avoid water – The electric bike is not waterproof. The electronics may be damaged due to water and water damage is not covered by our warranty. Riding in wet conditions is also very dangerous and may result in injury
- Avoid prolonged exposure to sun or rain and avoid storage in places with high temperatures or corrosive gas.
- Abuse – We do not cover physical damage due to negligent care and extreme riding.
- Whenever you ride the heybike Electric Bike, you risk severe injury or even death from loss of control, collisions, and falls. Use caution and ride at your own risk.
- Do not modify the product from the manufacturer’s original design.
- Do not exceed the posted speed limit and obey all traffic laws.
- Avoid touching the charging port directly and do not let it make contact with a metal object.
- Keep hands and all body parts away from moving parts while operating the electric bike.
- Before riding – be sure to check the electric bike over and make sure the electric bike is operating correctly before each use.
- Before riding – be sure to check that the braking system is functioning properly; also be sure to check that all safety labels are in place and you understand the safety warnings.
- Before riding – be sure that any and all axle guards, chain guards, or other covers or guards supplied by the manufacturer are in place and in serviceable condition.
- Before riding – be sure to check that the res is in good condition, inflated properly, and has sufficient tread remaining.
- Never exceed the 330 lbs (150 kg) maximum load range.
- The electric bike should never be used by children under the age of 18.
- Maximum Speed – Your electric bike goes at a maximum speed of 25 mph.
- Make note that additional insurance may be required to cover situations you encounter while riding an electric bike. It is recommended that you contact an insurance company or broker for advice and consultation.
- To conserve electricity, use assist mode and avoid zero starting, frequent braking, driving against the wind, carrying heavy loads including other people, and riding with insufficient air pressure.
Package Contents
Carefully check package contents, if anything is missing or damaged, please contact Heybike customer service for support: [email protected]
Unpack the bike. Open the bike box and remove the small box inside. With the help of another person capable of safely living with a heavy object, remove the bike from the bike box. Carefully remove the packaging material protecting the bike frame and components. Please recycle packaging materials especially cardboard and foam whenever possible. Open the small box and carefully set out all contents. 
Product Overview

Assembly
Visit www.heybike.com for additional help with assembly, including a step-by-step video walk-through.
If you do not feel comfortable assembling the bike yourself, we recommend taking your new bike to a bike shop for assembly and inspection. If you are willing to assemble the bike yourself, be sure to follow all instructions, properly adjust gears and brakes, and set tire pressure.

- Be careful not to position your fingers between the latch and the frame. Doing so may result in injury.

- Unfold the rear wheel/ section and hold your e-bike upright with the kickstand. Push the latch closed so that it’s parallel with the bike’s frame then turn the latch lockdown towards the latch to lock it in place.

- Open the kickstand and place the entire bike.
![]() | ![]() |
| Firstly, you should put the cylindrical spacer, the front fork, and the safety hook on the wheel shaft orderly. | Secondly, hook the front fork with the safety hook. And then, place the thin pad and nut on the wheel shaft. |
![]() | ![]() |
| 3. Now you can check that the parts from the axle to the outside in sequence are the cylindrical spacer, the front fork, the safety hook, the thin pad, and the nut. After making sure the positions of the parts are correct, tighten the nut onto the fork with a 14mm wrench. | Install the front fork cover. |
Note: When properly installed, the front wheel should be fully seated and centered in the dropouts of the front fork, the brake rotor should be in between the brake pads of the brake caliper, and the front fork nuts should be fully and properly secured. Please ensure the front wheel is properly secured before moving on to the next step.
![]() | ![]() |
| Take out the fender, remove the nut, and washers, and bolt at the top and bottom of the front fork. | Slide the fender through the fork. Reach the bolt, washers, and nut (in that order). Reattach the lower fender screws. |
![]() | ![]() |
| Put the front lamp bracket into the screw and align. | Locking the screw with Allen key and wrench. |
![]() | ||
| 1. Take out the stem and insert it into the front frame. | 2. Make sure the stem is aligned with the direction of the tire. | 3. Unlock the latch pull-up on the folding mechanism. |
![]() | ||
| 4. Fold the handlebar perpendicular to the ground. | 5. Tighten the screws to fix the handlebar in place. | 6. After adjusting the handle, lock the folder and finish the installation. |
For better pedaling, safety, and overall riding comfort, positioning the seat at the right height is important. The rider’s leg length is used to determine the seat’s position. When you pedal, your hips should remain level and your legs should be almost fully extended at the bottom of the pedal stroke, but not over-extended.
To determine the right seat height, sit on the E-bike with one pedal at its lowest point and place the ball of your foot on the pedal. Your leg should be almost fully extended(not locked out) with a slight bend at the knee.
![]() | |
| Open the quick-release lever by swinging the lever open and outward fully. | Move the seat up and down by sliding the seat post in or out of the seat tube. DO NOT raise the Seatpost beyond the minimum insertion marking etched into the seat post tube. |
![]() | |
| Adjust the seat and the head of the seat is parallel with the top tube. | Close the quick-release lever using your palm or finger. |
(1) NOTICE: Ensure the seat post and seat are properly adjusted before riding. DO NOT raise the Seatpost beyond the minimum insertion of the marking etched into the seatpost tube (as shown on the right). If the Seatpost projects from the frame beyond these markings (shown far right), the seat post or frame may break, which could cause a rider to lose control and fall. Ensure the minimum insertion markings on the Seatpost are inside the seat tube of the frame.
(2) Before using the bike, always check to ensure all latches, levers, and quick releases are properly secured and undamaged. Check that they are correctly secured before every ride and after every time the bike is left unsupervised, even for a short time. Otherwise, the handlebar stem and/or Seatpost may come loose and can result in loss of control, damage to the bike, property, serious injury, and/or death.
Adjusting the Suspension Fork
The suspension fork can move up and down up to 80mm to cushion bumps in the riding surface, which can make riding on a rough road or trail smoother and more comfortable. Depending on a rider’s preference, the suspension fork can be locked out as a rigid fork, which will typically yield higher efficiency while pedaling.
The lockout lever (1), located on top of the right side of the suspension fork, can be turned counterclockwise until it stops to completely lock out the suspension fork’s travel. To unlock the lockout lever, turn the knob clockwise until it stops. When the lockout lever is unlocked, resistance can be adjusted by turning.
The preload adjustment knob (2), is located on the top of the left side of the suspension fork. To soften the ride, subtract resistance by turning the preload adjustment knob counterclockwise, in the direction of the small “-” on the knob. To make the suspension stiffer when going over bumps, add resistance by turning the preload adjustment knob clockwise, in the direction of the small “+” on the knob.
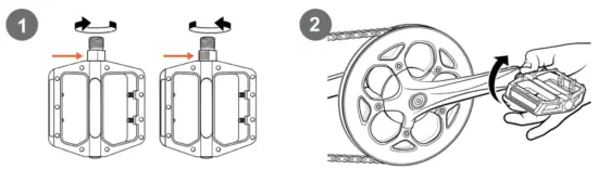
![]() | |
| Locate the right-side/ left side pedal, which is marked “R,” “L,” and should have an “R” L,” sticker arched. | Thread the right pedal onto the right crank gently by hand, turning clockwise. Then tighten the pedal with Allen’s wrench. |
![]() | |
| Thread the left pedal onto the left crank gently by hand, turning counter-clockwise. Then tighten the pedal with an Allen wrench. | Check the chain alignment. Rotate the right pedal and crank toward the back of the bike as though pedaling backward. Watch the chain and ensure the chain runs through the drivetrain (the rear cog, chain tensioner, and around the front chainring) smoothly. |
Note: If the pedal/ chain doesn’t run smoothly or something seems misaligned, please contact Heybike Support.
Battery Key Positions
Familiarize yourself with the key port and key positons before riding the bike. The photo below shows the key port aligned in key position 1, in line with the ON icon. In key position 1, the battery is in the “on” position, with the battery locked to the frame, and the key can’t be removed.
| Key Position/Icon | Directions |
| 1 | ON, Locked to Frame |
| 2 | OFF, Locked to Frame |
| 3 | OFF, Unlocked from Frame (for battery removal) |

- Any time the battery is in key position 1, (on, locked to the frame) the display power button will turn the bike on and off, but the battery cannot be removed.
- If the battery is in key position 2, (off, locked to the frame) no buttons or controls can be activated, the bike will remain off, and the battery cannot be removed.
- Any time the battery is in key position 3, (off, unlocked from the frame) the battery must be removed from the bike before moving or riding the bike. The key can be removed from the battery.
NOTICE: You have to press the key then you can switch to unlock position
Start-up procedure
After the bike has been properly assembled according to the assembly video, all components are secured correctly, a certified, reputable mechanic has checked the assembly, and you have read this entire manual, turn on the bike and select a pedal-assist level following the steps below:
- Test the battery lock security. Ensure the key port is aligned with the OFF icon, which indicates the battery is off and locked onto the frame mount. Carefully use both hands to pull up on the battery to test that the lock is secure.
- Ensure proper handlebar and seat adjustment. Note that lowering the seat so the rider can put one or both feet flat on the ground without dismounting from the seat may offer a safer and more comfortable introduction to operating the bike. Ensure the handlebar faceplate bolts and Seatpost quick release are fully and properly secured.
- Turn the bike on. Insert the key and turn clockwise to the ON position. Locate the LCD Display (near the left handlebar grip). Hold down the center power button for approximately 2 seconds until power is delivered to the LCD Display.
- Turn on the headlight and taillight if needed or desired. Once the LCD Display is on, press
the buttons (located on the light remote). - Select the desired level of pedal assistance (PAS) between levels 0 through 3 using the + and- on the display remote. Level 1 corresponds to the lowest level of pedal-assistance, and level 3 corresponds to the highest level of pedal assistance. Level 0 indicates pedal assistance is inactive. Start in PAS level 0 or 1 and adjust from there.
- Begin riding carefully. With the proper safety gear and rider knowledge, you may now operate your bike. On a flat surface, in a low gear (1 or 2), most riders should be able to begin pedaling the bike with pedal assist level 0 or 1. You may also use the throttle to accelerate and maintain your desired speed.
- The throttle is used by slowly and carefully rotating the throttle backward toward the rider. Do not use the throttle unless you are on the bike.
Do not use the throttle while dismounted. Avoid accidental application of the throttle while dismounted; anytime you are moving the bike while dismounted, ensure the bike is powered off to prevent the accidental application of the throttle.
Remove the battery
For your convenience, the heybike battery can be removed.
![]() | |
| Locate the seat quick release lever and turn over the saddle. | Press and rotate the key to the UNLOCK icon. |

Carefully slide the battery upwards and lift it off the frame.
To reinstall the battery, align the slot at the bottom of the battery and reinsert it into the frame. Turn the key to the locked position.
If you want to know the battery level without turning on the bike, long-press the button on the top of the battery to display the current capacity.
Charge Your E-Bike
Before using the electric bike, you must fully charge the battery.

- Ensure the battery is off, by rotating the key to aligning with the off icon.
- Remove the rubber cover on the charging port on the opposite side of the battery from the key switch.
- Plug the charger into the battery’s charging port. With the battery on or off the bike, place the charger in a flat, secure place, and connect the DC output plug from the charger to the charging port on the side of the battery.
- Plug the charger into a power outlet, charging should initiate and will be indicated by the LED charge status lights on the charger turning red. Once fully charged, the charging indicator light turns green. Unplug the charger from the wall outlet first and then remove the charger output plug from the battery charging port

The battery can be charged off the bike. To remove the battery, turn the key to the UNLOCK position.
(see the previous remove battery section for details),
Then carefully pull the battery up until the battery detaches from the receptacle.

Remove the rubber cover on the charging port on the opposite side of the battery from the key switch. Connect the DC output plug from the charger to the charging port on the side of the battery.

Plug the charger into a power outlet, charging should initiate and will be indicated by the LED charge status lights on the charger turning red. Once fully charged, the charging indicator light turns green. Unplug the charger from the wall outlet first and then remove the charger output plug from the battery charging port.
Display and Setting

TRIP: These numbers show distance data for a single trip. Data is automatically cleared when the bike is powered off
ODO: These numbers show odometer data(i.e., cumulative distance)
MAX: These numbers show maximum speed data for a single trip
AVG: These numbers show average speed data for a single trip
Battery Level: This icon indicates how much battery life you have left.
POWER ASSISTED MODE: 0,1,2,3: Displays the current power-assisted mode
LCD Display Controls
| Operation | Directions |
| Turn on bike | Press and hold |
| Turn off bike | Press once |
| Increase pedal assist (PAS) level | Press + button (1) |
| Decrease pedal assist (PAS) level | Press – button (2) |
| Toggle odometer, trip odometer | Press i button (4) |
| Decrease backlight | Press |
| Turn on walking mode | While dismounted, press and continue to hold – button (2) |
| Turn on headlight | Press once |
| Activate Electric Bell | Press once |

LCD Display Operations
Setting Mode: When the bike is on, press and hold and buttons at the same time to enter the setting mode. Press once i to confirm and enter the next set, press and hold i to quit the Setting Mode.
- TC MODE: After entering TC MODE, you can choose whether to clear the TRIP when the bike is off. Y mean need to clear the TRIP manually. ⨅ mean not clear the TRIP.
- BL MODE: After entering BL MODE, you can choose the backlight level.
- SPEED UNIT MODE: After entering SPEED UNIT MODE, you can choose the speed unit from MPH TO KPH.
Wheel diameter and Max Speed Setting
Press and hold on + and – to enter setting mode, then press and hold – and i enter Wheel diameter and Max Speed Setting mode.
Personalized Setting
Press and hold on+and- to enter setting mode, then press and hold – and i again to enter
Personalized Setting. Includes voltage, speed, and power sensor settings. For more detailed instructions, please visit Heybike Help Center
Personalized Setting
Press and hold on+ and – to enter seeing mode, then press and hold +and – again to enter Personalized Setting.
Select the settings via +/- and press i to enter the corresponding setup windows.
| Number | Set up the item | Specific | The screen appears |
| 1 | Battery voltage setting | Do not change | ![]() |
| 2 | Pedal-assist setting | The default mode is 0-3 | ![]() |
| 3 | Current limit setting | Do not change | ![]() |
| 4 | Power assist sensor setup | 1. Direction of assisted rotation, F means forward. | ![]() |
| 2. Power sensor sensitivity, 2 means most sensitive. | ![]() | ||
| 3. The number of magnets, does not change. | ![]() |
| 5 | Speed sensor settings | Do not change | ![]() |
| 6 | Throttle function settings | 1. Walking mode setting, Y means Yes. | ![]() |
| 2. Throttle speed limited (do not change) | ![]() | ||
| 7 | System settings | Do not change | ![]() |
| 8 | Start-on password | Not unavailable | ![]() |
Daily Care and Maintenance
Cleaning and Storage
If you see stains on the bike body, wipe them off with a damp cloth. If the stains won’t scrub off, put on some toothpaste, and brush them with a toothbrush, then wipe them off with a damp cloth.
Notes: do not clean the bike with alcohol, gasoline, kerosene, or other corrosive and volatile chemical solvents to prevent dire damage. Do not wash the bike with a high-pressure water spray. During cleaning, make sure that the bike is turned off, the charging cable is unplugged, and the rubber flap is closed as water leakage may result in electric shock or other major problems. When the bike is not in use, keep it indoors where it is dry and cool. Do not put it outdoors for a long time. Excessive sunlight, overheating and overcooling accelerate the battery pack’s life span.
Battery Maintenance
- Using original battery packs, and using other models or brands may bring about safety issues;
- Do not touch the contacts. Do not dismantle or puncture the casing. Keep the contacts away from metal objects to prevent short circuits which may result in battery damage or even injuries and deaths;
- Use original power adapter to avoid potential damage or fire;
- Mishandling of used batteries may do tremendous harm to the environment. To protect the natural environment, please follow local regulations to properly dispose of used batteries.
- After every use, fully charge the battery to prolong its life span.
Storage and Disposal
- Please try to store the bike in a cool and dry place between 506F — 77 °F (10 °C — 256C). In extremely humid environments the interior of the bike may suffer condensation or even water accumulation, which may damage the battery rapidly. Devices are not intended for use at elevations greater than 2000m above sea level prolonged exposure to UV rays, and rain, and the elements may damage the enclosure materials, store indoors when no tin use.
- In daily use, try to avoid recharging the bike after completely exhausting the battery. If the battery is low, charge it as soon as possible.
- Please charge the bike every other month to preserve the battery.
Recommended Service Intervals
Regular inspection and maintenance are key to ensuring bikes from heybike function as intended and to reducing wear and tear on their systems. Recommended service intervals are meant to be used as guidelines. Real-world wear and tear, and the need for service, will vary with conditions of use. We generally recommend inspections, services, and necessary replacements are performed at the theme or mileage interval that comes first in the following table.
| Interval | Inspect | Service | Replace |
| Weekly, 100-200 mi (160-321 km) | – Check the drivetrain for proper alignment and function (including the chain, freewheel, chainring, and derailleur). – Check wheel trueness and for quiet wheel operation (without spoke noise). – Check the condition of the frame for any damage. | – Clean the frame by wiping the frame down with a damp cloth. | – Replace any components confirmed by heybike Product Support or a certified, reputable bike mechanic to be damaged beyond repair or broken. |
| Monthly, 250-750 mi (402-1207 km) | – Check brake pad alignment and brake cable tension. – Check bike is shifting properly, and proper derailleur cable tension. – Check chain stretch. – Check brake and shifter cables for corrosion or fraying. – Check spoke tension. – Check accessory mounting (rack mounting bolts, fender hardware, and alignment). | – Clean and lubricate the drivetrain. – Check crankset and pedal torque. – Clean brake and shift cables. – True and tension wheels if any loose spokes are discovered. – Balance the battery. | – Replace brake and shift cables if necessary. – Replace brake pads if necessary. |
| Every 6 Months, 750-1250mi (1207-2011km) | – Inspect the drivetrain (chain, chainring, freewheel, and derailleur). – Inspect all cables and housings. | – Standard tune-up by certified, reputable bike mechanics is recommended. – Grease the bottom bracket. | – Replace brake pads. – Replace tires if necessary. – Replace cables and housings if necessary. |
Pre-Ride Safety Checklist
Notice: Before every ride, and after every 25-45 miles(40-72 km), we advise following the pre-ride safety checklist.
| Safety Check | |
| 1. Brakes | Ensure front and rear brakes work properly. Check brake pads for wear and ensure they are not overworn. Ensure brake pads are correctly positioned in relation to the rims. Ensure brake cables are lubricated, correctly adjusted, and display no obvious wear. Ensure brake levers are lubricated and tightly secured to the handlebar. Test that the brake levers are firm and that the brake and the brake light are functioning properly. |
| 2. Wheels and Tires | Ensure tires are inflated within the recommended limits posted on the tire sidewalls and hold air. Ensure tires have good tread, have no bulges or excessive wear, and are free from any other damage. Ensure rims run true and have no obvious wobbles, dents, or kinks. Ensure all wheel spokes are tight and not broken. Check axle nuts and front wheel quick release to ensure they are tight. Ensure the locking lever on the quick release skewer is correctly tensioned, fully closed, and secured. |
| 3. Steering | Ensure the handlebar and stem are correctly adjusted, tightened, and allow proper steering. Perform a handlebar twist test (see assembly step 4) to ensure the stem clamp bolt security. Ensure the handlebar is set correctly in relation to the fork and the direction of travel. |
| 4. Chain | Ensure the chain is clean, oiled, and runs smoothly. Extra care is required in wet, salty/otherwise corrosive, or dusty conditions. |
| 5. Bearings | Ensure all bearings are lubricated, run freely, and display no excess movement, grinding, or rattling. Check headset, wheel bearings, pedal bearings, and bottom bracket bearings. |
| 6. Cranks and Pedals | Ensure pedals are securely tightened to the cranks. Ensure the cranks are securely tightened and are not bent. |
| 7. Derailleur and Mechanical Cables | Check that the derailleur is adjusted and functioning properly. Ensure shifter and brake levers are attached to the handlebar securely. Ensure all shifter and brake cables are properly lubricated. |
| Safety Check | |
| 8. Frame, Fork, and Seat | Check that the frame and fork are not bent or broken. If either frame or fork is bent or broken, they should be replaced. Check that the seat is adjusted properly, and the Seatpost quick-release lever is securely tightened. |
| 9. Motor Drive Assembly and Throttle | Ensure the hub motor is spinning smoothly and motor bearings are in good working order. Ensure all power cables running to the hub motor are secured and undamaged. Make sure the hub motor axle bolts are secured and the torque arm, torque arm bolt, and torque washers are in place. |
| 10. Battery | Ensure the battery is charged before use. Ensure there is no damage to the battery. Lock battery to frame and ensure that it is secured. Charge and store the bike and battery in a dry location, between 50 °F – 77 °F (10 °C – 25 °C). Let the bike dry completely before using it again. |
| 11. Electrical Cables | Look over connectors to make sure they are fully seated and free from debris or moisture. Check cables and cable housing for obvious signs of damage. Ensure the headlight, taillight, and brake light are functioning, adjusted properly, and unobstructed. |
| 12. Accessories | Ensure all reflectors are properly fitted and not obscured. Ensure all other fittings on the bike are properly secured and functioning. Inspect helmet and other safety gear for signs of damage. Ensure the rider is wearing a helmet and other required riding safety gear. Ensure mounting hardware is properly secured if fitted with a front rack, rear rack, basket, etc. Ensure the taillight and taillight power wires are properly secured if fitted with a rear rack. Ensure the fender mounting hardware is properly secured if fitted with fenders. Ensure there are no cracks or holes in fenders. If installed, ensure the optional rear wheel lock is secured in the unlocked position and the key is removed before every ride. |
Your cables, spokes, and chain will stretch after an initial break-in period of 50-100 mi (80-160 km), and bolted connections can loosen. Always have a certified, reputable bike mechanic perform a tune-up on your bike after your initial break-in period of 50-100 mi (80-160 km) (depending on riding conditions such as total weight, riding characteristics, and terrain). Regular inspections and tune-ups are particularly important for ensuring that your bike remains safe and fun to ride.
Tire Inflation and Replacement
The Ranger employs 20″×4″ rubber tires with inner tubes. The tires are designed for durability and safety for regular cycling activities and need to be checked before each use for proper inflation and condition. Proper inflation, care, and timely replacement will help ensure that your bike’s operational characteristics will be maintained, and unsafe conditions avoided. heybike recommends 20 PSI for the stock tires on the heybike. Always stay within the manufacturer’s recommended air pressure range as listed on the tire sidewall.
It is critically important that proper air pressure is always maintained in pneumatic tires. Do not underinflate or overinflate your tires. Low pressure may result in loss of control, and overinflated tires may burst. Failure to always maintain the air pressure rating indicated on pneumatic tires may result in tire and/or wheel failure.
Inflate your tires from a regulated air source with an available pressure gauge. Inflating your tires from an unregulated air source
could overinflate them, resulting in a burst tire.
Even tires equipped with built-in, flat-preventative tire liners, like those that come with bikes from heybike, can and do get flats from punctures, pinches, impact, and other causes. When tire wear becomes evident or a flat tire is discovered, tires and/or tubes must be replaced before operating the bike, or injury to operators and/or damage to your bike from the heybike could occur.
When changing a tire or tube, ensure that all air pressure has been removed from the inner tube prior to removing the tire from the rim. Failure to remove all air pressure from the inner tube could result in serious injury.
Using aftermarket tires or inner tubes, not provided by heybike may void your warranty, create an unsafe riding condition, or damage your bike. If required by law, ensure replacement aftermarket tires have sufficient reflective sidewall striping.
For more information on tire or tube replacement procedures, or questions about tire inflation, visit heybike.com/pages/help-center or contact heybike Product Support.
Email: [email protected]
Troubleshooting
| Symptoms | Possible Causes | Most Common Solutions | |
| 1 | The bike does not work | 1. Insufficient battery power 2. Faulty connections 3. Battery not fully seated in the tray 4. Improper turn on sequence 5. Brakes are applied 6. Blown discharge fuse | 1. Charge the battery 2. Clean and repair connectors 3. Install battery correctly 4. Turn on a bike in proper sequence 5. Disengage brakes 6. Replace discharge fuse |
| 2 | Irregular acceleration and/or reduced top speed | 1. Insufficient battery power 2. Loose or damaged throttle 3. Misaligned or damaged magnet ring | 1. Charge or replace the battery 2. Replace the throttle 3. Align or replace magnet ring |
| 3 | The motor does not respond when the bike is powered on | 1. Loose wiring 2. Loose or damaged throttle 3. Loose or damaged motor plug wire 4. Damaged motor | 1. Repair and or reconnect 2. Tighten or replace 3. Secure or replace 4. Repair or replace |
| 4 | Reduced range | 1. Low tire pressure 2. Low or faulty battery 3. Driving with too many hills, headwind, braking, and/or excessive load 4. Battery discharged for a long period of time without regular charges, aged, damaged, or unbalanced 5. Brakes rubbing | 1. Adjust tire pressure 2. Check connections or charge battery 3. Assist with pedals or adjust the route 4. Balance the battery; contact tech support if range decline persists 5. Adjust the brakes |
| 5 | The battery will not charge | 1. Charger not well connected 2. Charger damaged 3. Battery damaged 4. Wiring damaged 5. Blown charge fuse | 1. Adjust the connections 2. Replace 3. Replace 4. Repair or replace 5. Replace the charge fuse |
| 6 | The wheel or motor makes strange noises | 1. Loose or damaged wheel spokes or rim 2. Loose or damaged motor wiring | 1. Tighten, repair, or replace 2. Reconnect or replace the motor. |
Specifications
| ITEM | SPECIFICATIONS |
| Model | Ranger |
| Product Dimensions | 174×63×128 (cm) |
| Package Dimensions | 145×28×75 (cm) |
| Max Load | 330 lbs (150kg) |
| Package Weight | 89 lbs (40.5kg) |
| E-Bike Weight | 70.5 lbs (32kg) |
| Max Speed | 25 mph (40km/h) |
| Battery/Charger | Input 100-240V 50/60HZ AC Plug; Output 54.6V 2.8A |
| Pedal-Assist Mode | 38-48 miles (60-77km) |
| Pure Electric Mode | 30-37 miles (48-60km) |
| Max Angle of Climb | 14 degrees |
| Charging Time | 5-6 hours |
| Tire Pressure | 20 PSI |
| Bell/Horn | Electric Horn Installed |
| Charging Port | Output Voltage 5V1A |
| Frame Material | Aluminum alloy |
| IP Level | lp×4 |
FAQS
Q1: What if the e-bike arrived missing an accessory or broken part?
A1 : Please take a photo and send it to the Heybike Support Team by sending an email: [email protected] and the Heybike Support Team will reply to you soon and send the correct accessory or part replacement.
Q2. Will my bike arrive assembled?
A2: Your bike will arrive mostly assembled. We ll also provide the tools and a comprehensive assembly video for the best part.
Q3. What can I do if something goes wrong with my e-bike during the warranty?
A3: We believe that communication is the best way to solve the problem. Please contact us in time. To help you solve the problem as quickly as possible, please describe the problem in detail and provide photos/videos with your order ID.
Error Code
| Error Code | |
| 21 | Current issue |
| 22 | Throttle issue |
| 23 | Power motor issue |
| 24 | Power motor signal issue |
| 25 | Braking handle issue |
| 30 | Communication issue |

Limited Warranty
30DAYS SATISFACTION GUARANTEED RETURN POLICY
If you are unsatisfied with your purchase, Heybike’s return policy allows you to return the product purchased on the authorization channel within 30 days counting from the date of receipt of shipment, and request funds from the authorization Channel.
Note: Express shipping cost is non-refundable.
To be eligible for a return, your item must be in the same condition that you received it, unworn, unused, and the bike must have less than ten (10) miles on the odometer, be free of any wear and tear, dirt, dust, fragrance, or any other signs of use and must include all items that were inside the box (charger, keys, hardware, etc.).
Over 30 days: Return is not acceptable; Accept exchange for a new product or partial refund.
We will deduct the shipping fee or restock $150/pc when we are making a refund for non-defective products and non-longer needed products.
For the return request, Heybike is not responsible for lost packages due to the carrier, or products received that can not be verified.
Received products that have damage determined to have been caused by the end-user may be subject to denial of the return request.
TO QUALIFY FORARE FUND, ALL THE FOLLOWING CONDITIONS MUST BE MET:
- A Return Merchandise Authorization(RMA) must be requested from Heybike within 30 days from the date of receipt of shipment. To request an RMA, contact Heybike Service Team at su000rt(hevbike.com
- The cost of return shipping will be paid by the customer.
- For warranty service, please keep your receipt and/or invoice to validate proof of purchase.
- Returned product must be in good physical condition(not physically broken or damaged).
- All accessories originally included with your purchase must be included with your return.
- If you return a product to Hey bike, (a) without an RMA from Heybike or (b) without all parts included in the original package, Heybike retains the right to refuse delivery of such return.
LIMITED PRODUCT WARRANTY
Heybike warrants the original purchaser that your Heybike product shall be free from defects in materials and workmanship under normal use for the period aforementioned. Heybike does not warrant the operation of the product will be uninterrupted or error-free.
- Only the original owner of an e-bike purchased from Heybike online or physical storefront is covered by this Limited Warranty. The Warranty Period begins upon your receipt of the bike and shall end immediately upon the earlier of the end of the Warranty Period or any sale or transfer of the bike to another person, and under no circumstances shall the Limited Warranty apply to any subsequent owner or another transferee of the bike.
- The Limited Warranty is expressly limited to the replacement of a defective lithium-ion battery (the “Battery”), frame, forks, stem, handlebar, headset, seat post, saddle, brakes, lights, bottom bracket, crankset, pedals, rims, wheel hub, freewheel, cassette, derailleur, shifter, motor, throttle, controller, wiring harness, LCD display, kickstand, reflectors, and hardware (each a “Covered Component”).
- The Covered Components are warranted to be free of defects in materials and/or workmanship during the Warranty Period.
Limited Warranty Does Not Cover: - Normal wear and tear of any Covered Component.
- Consumables or normal wear and tear parts (including without limitation tires, tubes, brake pads, cables, housing, grips, chain, and spokes).
- Any damage or defects to Covered Components resulting from failure to follow instructions in the bike owner’s manual, acts of God, accident, misuse, neglect abuse, commercial use, alterations, modification, improper assembly, installation of parts or accessories not originally intended or compatible with the bike as sold, operator error, water damage, extreme riding, stunt riding, or improper follow-up maintenance.
- For the avoidance of doubt, Heybike will not be liable and/or responsible for any damage, failure, or loss caused by any unauthorized service or use of unauthorized parts.
- The Battery is not warranted from damage resulting from power surges, use of an improper charger, improper maintenance, or another such as misuse, normal wear, or water damage.
- Any products sold by Heybike that are not an e-bike.
DETERMINING WHETHER DAMAGE OR DEFECT TO AN E-BIKE OR COVERED COMPONENT IS PROTECTED BY THIS LIMITED WARRANTY SHALL BE AT THE SOLE DISCRETION OF RPB.
Contact Us
Contact us if you experience issues relating to riding, maintenance, and safety, or errors/faults with your HEYBIKE.
HEYBIKE LTD
heybike.com
[email protected]
100N HOWARD ST STER, SPOKANE, WA, UNITED STATES.
COPYRIGHT © 2021 HEYBIKE. ALL RIGHTS RESERVED.
The manufacturer reserves the right to make changes to the product and manual at any time Visit www.heybike.com to download the latest use manuals


Package Contents
Product Overview
Assembly
















Display and Setting


























