Magnum Metro X Electric Bicycles 
General Introduction
Welcome
Thank you for purchasing a Magnum electric bike and welcome to the Magnum Bikes family of e-bike enthusiasts. We encourage you to join our Facebook group “Magnum Bikes Community” which you can find at the following link: https://www.facebook.com/groups/389290978573773 Our Facebook group is a place for Magnum riders to ask questions, have discussions, share recommendations and experiences and connect with other Magnum Bike enthusiasts.
Use of Manual
We encourage you to read this manual thoroughly before you take your new E-bike for a ride. It is important not to overlook the safety instructions and explanations of both traditional and non-traditional bike parts, as this will offer you a general understanding of your new E-bike. This manual is designed to help you get the most out of your E-bike, and so we have attempted to answer as many of your potential questions as possible. Please take a moment to read through the various sections before you get in the saddle.
Service and Technical Support
This manual is intended as a general overview of your new E-bike and is therefore not an extensive reference. For technical support, including information about service, maintenance and repairs, please consult your local Magnum dealer or our customer support team. You can visit our website (www.magnumbikes. com) for more information about our products and technology, or to find a dealer close to you.
Bike Components
Handlebar
- Left Brake Lever
- Left Grip
- Display Controller
- Display
- Adjustable Stem
- Right Brake Lever
- Right Grip
- Throttle
- Handlebar
- 8-Speed Thumb Shift
E-Bikes
- Rear Light
- Rear Fender
- Motor
- Freewheel
- Rear Derailleur Protector
- Rear Derailleur
- Carrier
- Bungee Cord
- Rear Disc Brake
- Saddle
- Seatpost
- Saddle Quick Release
- Battery
- Chain
- Kickstand
- Pedal
- Crankset
- Controller
- Front Disc Brake
- Adjustable Stem
- Front Light
- Front Fender
- Rim
- Front Fork
- Quick Release
- Tire
Technical Data
| Component | Metro X |
| Motor | 48V, 500W Bafang Rear Geared Hub Motor |
| Battery | 48V, 13Ah, 624Wh Li-ncm |
| Display | Magnum fixed, backlit, monochrome LCD |
| Throttle | Thumb Paddle Throttle |
| Front Fork | Front Suspension with Lockout |
| Crankset | Prowheel |
| Brake Levers | Left and Right |
| Brakes | Hydraulic Disc Brakes |
| Derailleur | Shimano, Acera, 7-speed |
| Freewheel | 7-speed |
| Tires | 26” x 2.4” |
| Front Light | Integrated and controlled from the display |
| Rear Light | Integrated and controlled from the display |
| Max Loading¹ | 265lbs |
| Max Speed² | Cadence sensing PAS up to 25mph, trigger throttle up to 20mph |
| ¹Max load includes the bike | |
| ²Can be configured to class 1, 2, or 3 e-bike | |
Installation and Adjustment
Handlebar and Stem Assembly
- Open the top cover, align the stem with the head tube and slide it on. Tighten the screw at the top of the stem.
- Align the handlebar to be perpendicular to the wheel, then insert and tighten the two side-facing screws as shown below.

- Move the handlebar up or down to adjust to the desired angle, then tighten the rear-facing screw at the top of the stem to lock the handlebar in place.
- Close the cover to complete installation and adjustment.
Installation and Adjustment
Assembly of the Pedals
Identify your pedals: check the letters on the pedals, “L” or “R”.
The “R” marked pedal is for the right (when facing the forward direction). For attachment to the crank, tighten clockwise.
The “L” marked pedal is for the left. For attachment, tighten counterclockwise when facing directly.
WARNING: First screw on the pedals by hand, then tighten with the wrench provided..
Seat Position
To enable comfortable, fatigue-free and safe riding, the saddle and handlebar height should be adjusted to the body size of the rider.
The saddle height is correct if the leg is near full extension while the foot is resting flat on the pedal in the bottom position of the crank cycle. The toes must still be able to touch the ground comfortably.
Saddle Height
The quick-release lever must require noticeable effort to put into fully closed position to prevent any unde-sired movement while riding
WARNING
An improperly closed quick release lever can open again or have limited ability to keep the saddle in place. This may cause the saddle to suddenly drop into the seat tube, potentially leading to serious falls and injury.
There is a minimum insertion line marked on the seat post (failure to observe the minimum insertion line can result
in serious injury); please ensure the seat post is always
inserted into the seat tube beyond this line (the line must be inside the seat tube). Loosen the quick release lever at the top of the seat tube,
determine the appropriate saddle height and tighten the clamp. The clamping force can be adjusted by adjusting the bolt on the quick release lever. The quick release lever must be closed with considerable counter pressure.
Installation and Adjustment
Saddle Adjustment
The saddle can also be tilted and adjusted in the forward/
back direction. Loosen the bolt at the bottom (4).
Adjust the saddle tilt by pressing down on the front or rear of the saddle Move the saddle forward or backward to adjust for arm/torso length and desired riding position. Tighten the bolt (4) to secure the saddle.
Battery and Charger
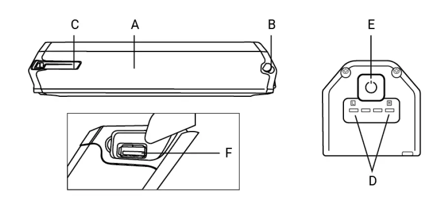
Overview
A. Battery
B. Charging Socket
C. Battery Handlebar
D. Capacity Level Light
E. Power Button
F. USB Port (on some batteries)
WARNING
Please ensure that the battery is locked in place before use
A AC Plug¹
B Charger
C Charging Indicator
D Battery Plug
¹Type will vary
General Remarks
Stop charging the battery immediately if you notice anything unusual, such as smoke or a strange smell; take out the battery and store it outside of the house, then take the battery to an authorized dealer or experienced technician for service or replacement.
In the unlikely case that the battery catches fire, do NOT attempt to put it out with water. Use sand or another fire retardant instead and call emergency services immediately.
Installing and Removing the Battery
The battery has a lever (1) and is secured with a lock (2) Unlock the battery and pull it out Insert the battery into the frame until it stops Remove the key from the lock (2). Ensure that the battery is well secured
Charging
Charging at temperatures below 32°F (0°C) or above 140°F (60°C) can cause the battery to charge insufficiently and can be harmful to the life of the battery During charging, the charger’s LED light will be continuously red Charging is completed when the charger’s LED turns green
Display
Appearance
Powering ON/OFF
Press and hold the power button to turn on the display. A start-up screen (see image below) will display for approximately 2 seconds before entering the main interface showing real-time information.
To turn the display off press and hold the power button until the screen goes blank. The display will turn off automatically if no operations are performed within the set sleep time, while the speed is 0, and current is less than 1A. The sleep time can be set by the user in the settings interface.
Indicators & Buttons

Button Functions
Power On: Turns the display on/off
Adjust Up/Down: Changes the level of pedal assist during riding and switches functions in display settings Mode Function: Switches interface functions and enters into the display settings
Pedal Assist Level
Short press the arrow buttons to adjust the pedal assist level up or down. There are 5 PAS levels: ECO, TOUR, SPORT, TURBO, BOOST, and BOOST+. BOOST+ is indicated by a blinking BOOST icon. When PAS level is empty it means pedal assist is off.
PAS levels do not switch in cycles. Meaning, after reaching the BOOST level pressing the up arrow will NOT cycle the levels back to the beginning. The user must use the down arrow button to switch back down to PAS off.
Trip, Odometer, & Range
Short press the M button to switch from TRIP, ODO, & RANGE on the display. The cycle order is TRIP/AVG, ODO/MAX, then RANGE/AVG. After 5 seconds with no operation preformed on the M button and the bike speed greater than 0 the display screen will switch back to the main interface. The symbols below will indicate which value is being shown.
Light Control
Long press the adjust-up button to turn the headlight on and off. While the headlight is on the display’s backlight is dimmed.
Speed Indication
The standard readout is real-time speed and can be switched to show average speed (AVG), and maximum speed (MAX).
How to change speed readout…
Battery Power
Battery power is shown by a battery bar indicator and percentage. The battery bar divides the power level into 5 bars. After battery capacity is lower than 5% the display enters low voltage mode. In this mode, the battery level shows 0 bars. The battery outline will start blinking after reaching 1Hz, and with no power output from the motor, the pedal-assist will be disabled. The PAS level is displayed as OFF or 0. To get out of low voltage mode the battery will need to be charged.
Walk Mode
When speed is below 3mph long press and continue to hold the adjust down (down arrow) button to enter walk mode. Upon entering walk mode the display will show a walk mode symbol and the real-time speed while the PAS level displays as off (see image below). Release the adjust down button to exit walk mode. The motor is turned off and the display returns to the main interface.
Display Settings
The following description explains how users can access the settings options in their display. Within 10 seconds of turning on the display, long press the M button to enter the settings interface. Short press the arrow buttons to switch between settings. Short press the M button to enter a specific setting. The selected setting will blink. Short press the arrow buttons to find the setting option you want then long press the M button to set the option. Long press the M button again to exit to the previous page. In settings short press the M button to enter the next level menu and long press the M button to exit and return to the previous level menu.
Descriptions of individuals settings to follow:


Data Clearance
Within 10 seconds of turning on the display, when the display shows the TRIP interface, long press the M button to show TRIP data. While the TRIP icon is blinking short press the M button to confirm data clearance. To exit long press the M button. After clearance the subtotal mileage TRIP is 0, average speed is 0, and max speed is 0. ODO information can not be cleared manually on the display.
Error Code Table
Each error code corresponds to a specific fault in the system. The table below is intended for the e-bike own-er to use as reference when working with Magnum Bikes technical support or a certified Magnum dealer.
| Error Code | Definition | Suggestion |
| “0x20” shown at speed | Failure of controller | Check controller |
| “0x22” shown at speed | Failure of throttle | Check throttle |
| “0x23” shown at speed | Failure of motor’s phase wire | Check motor |
| “0x24” shown at speed | Failure of the motor’s hall | Check controller |
| “0x30” shown at speed | Communication failure | Check connector to controller |
If you still some questions about the display, please contact your Magnum dealer.
Recommendations and Maintenance
General Requirements
E-bikes use metal shells to cover the electric components, so we strongly advise against the use of excessive water to wash the shells and parts around them. Use a soft cloth with a neutral solution to wipe the dirt off the shells. Afterward, wipe everything dry with a clean soft cloth.
- Do not use high-pressure water or air hoses for cleaning; this can force water into electrical components, which may cause malfunctioning.
- Do not wash plastic components with excessive water. When the internal electrical parts are affected by water the insulator may corrode, leading to power drain or other problems.
- Do not use soap solutions to wash the metal components. Non-neutral solutions may cause discoloration, distortion, scratching, etc.
Avoid leaving the bike outdoors
When not riding, keep the bike in a location where it will be protected from snow, rain, sun, etc. Snow and rain can cause the bike to corrode. Ultraviolet rays from the sun can cause unnecessary fading of paint or crack any rubber or plastic on the bike.
| Recommended Torque Values | ||
| Front Wheel Nuts | 22-27 Newton Meters | 16.2—19.8 ft·lb |
| Rear Wheel Nuts | 24-29 Newton Meters | 17.5—21.3 ft·lb |
| Seat Binder Bolt | 12-17 Newton Meters | 8.8—12.5 ft·lb |
| Seat Post Clamp Nut | 15-19 Newton Meters | 11.0—14.0 ft·lb |
| Brake Anchor Nut | 7-11 Newton Meters | 5.1—8.1 ft·lb |
| Handlebar Clamp Nut | 17-19 Newton Meters | 12.5—14.0 ft·lb |
| Headset Expander Nut | 17-19 Newton Meters | 12.5—14.0 ft·lb |
| Crank Cotter Pin Nuts | 9-14 Newton Meters | 6.6—10.3 ft·lb |
| Brake Centre | 2-17 Newton Meters | 1.5—12.5 ft·lb |
Maintenance Schedule
To keep your E-bike in optimal condition and your riding experience at its most enjoyable, we strongly recommend following the suggested maintenance schedule. You should study it and allow it to become second nature to your riding.
Warning
As with all mechanical components, electrically power assisted cycles (EPAC) are subjected to wear and high stresses. Different materials and components may react to wear or stress fatigue in different ways. If the design life of a component has been exceeded, it may suddenly fail, possibly causing injuries to the rider. Any form of crack, scratches or change of coloring in highly stressed areas indicate that the life of the component has been reached and it should be replaced.
Definition of Tampering and Recommendations
| Category 1 | |||
| Components that can only be replaced after approval from the bicycle manufacturer/ electronic system provider | |||
| Motor | Controller | Electric Cables | Battery |
| Sensors | Controls on the Handlebar | Display | Battery Charger |
| Category 2 | |||
| Components that can only be replaced after approval from the bicycle manufacturer | |||
| Frame | Hub motor Wheel | Brake Shoe | Bottom Bracket |
| Fork9 | Brake System | Luggage Carrier | |
| Category 3 | |||
| Components that can only be replaced after approval from the bicycle or component manufacturer | |||
| Cranks | Wheel without Hub Motor | Tires3 | Brake System4 |
| Chain | Belt¹ | Rim Tape | Mechanical Brake Cables | Handlebar5 |
| Seat Post Headlight² | Saddle Headlight² | Hydraulic Brake Cables | Stem5 |
| ¹at original width | |||
| ²maximum variation from the original should not exceed 20mm | |||
| 3at original ETRTO specifications only | |||
| 4for drum, disc, and roller brakes | |||
| 5without alterations to the handlebar and stem | |||
| Category 4 | |||
| Components which can be replaced without approval | |||
| Headset | Inner Tubes | Shifting Inner & Outer Cables | Kickstand |
| Pedals¹ | Chainring | Dynamo | Grips4 |
| Derailleurs | Front Light | Cassette | Freewheel | Cogs3 | Front Reflector |
| Shifters | Rear Light | Chaincase | Rear Reflector |
| Mudguards² | Spokes | Wheel Reflectors | Belt Drive Ring |
| ¹at the same width as the originals | |||
| ²only the same size as the originals and mounted at least 10 mm distance from the tire | |||
| 3when the cogs are the same as the originals | |||
| 4only with a screw clamp | |||
Warning
Modifications to any part of your bike, such as the fork or frame, may make that part of the entire bike unsafe. A poorly installed or modified component can increase the stress on all other parts, greatly increasing their chance of failure. Modifications can also adversely affect the handling of your bike, resulting in loss of control, falls, and serious injury. Please do not add, remove, or modify parts of your bike in any way before consulting with a trained bike technician. We recommend you consult with us before you make modifications or add parts, in order to confirm their safety and compatibility with your bike.
Warranty
Your Magnum E-bike comes with a limited warranty. Please visit www.magnumbikes.com or your local Mag-num dealer for details.
The bike must be registered at www.magnumbikes.com/warranty in order to be covered by the one-year warranty.
Stay Connected
- INSTAGRAM:@magnumbikes
- TIKTOK: @magnumbikes
- www.magnumbikes.com
- [email protected]
- FACEBOOK: @magnumbikes
- TWITTER: @magnumbikes
- YOUTUBE:@magnumbikes
- PHONE: 323.375.2666





















