SOLE SFI100 Incline Bench

Congratulations on your new SFI100 Flat Incline Bench and welcome to the Dyaco Canada family!
Thank you for your purchase of this SOLE SFI100 Flat Incline Bench from Dyaco Canada Inc. Your new SFI100 Flat Incline Bench was manufactured by one of the leading fitness manufacturers in the world and is backed by one of the most comprehensive warranties available. Through your dealer, Dyaco Canada Inc. will do all we can to make your ownership experience as pleasant as possible for many years to come. The local dealership where you purchased this Flat Incline Bench is your administrator for all Dyaco Canada Inc. warranty and service needs. Their responsibility is to provide you with the technical knowledge and service personnel to make your experience more informed and any difficulties easier to remedy.
Please take a moment at this time to record the name of the dealer, their telephone number, and the date of purchase below to make any future, needed contact easy. We appreciate your support and we will always remember that you are the reason that we are in business. Please complete and mail your registration card today and enjoy your new Flat Incline Bench.
Yours in Health, Dyaco Canada Inc.
Name of Dealer______________________________________
Telephone Number of Dealer___________________________
Purchase Date_______________________________________
Product Registration
RECORD YOUR SERIAL NUMBER
Please record the Serial Number of this fitness product in the space provided below.
Serial Number_______________________________________
REGISTER YOUR PURCHASE
The self-addressed product registration card must be completed in full and returned to Dyaco Canada Inc.
BEFORE YOU BEGIN
Thank you for choosing the SOLE SFI100 Flat Incline Bench. We take great pride in producing this quality product and hope it will provide many hours of quality exercise to make you feel better, look better, and enjoy life to its fullest. It’s a proven fact that a regular exercise program can improve your physical and mental health. Too often, our busy lifestyles limit our time and opportunity to exercise. The SOLE SFI100 Flat Incline Bench provides a convenient and simple method to begin your assault on getting your body in shape and achieving a happier and healthier lifestyle.
Read this manual carefully before using the SOLE SFI100 Flat Incline Bench. Although Dyaco Canada Inc. constructs its products with the finest materials and uses the highest standards of manufacturing and quality control, there can sometimes be missing parts or incorrectly sized parts. If you have any questions or problems with the parts included with your SOLE SFI100 Flat Incline Bench, please do not return the product. Contact us FIRST! If a part is missing or defective call us toll free at 1-888-707-1880. Our Customer Service Staff are available to assist you from 8:30 A.M. to 5:00 P.M. (Eastern Time) Monday through Friday. Be sure to have the name and model number of the product available when you contact us.
IMPORTANT SAFETY INSTRUCTIONS
WARNING
Serious injury could occur if these safety precautions are not observed
- Obtain a medical exam before beginning any exercise program.
- Stop exercising if feeling faint, dizzy or experiencing pain and consult your physician.
- Obtain instructions before using.
- Read and understand the owner’s manual and all warnings posted on the bench before using.
- Keep all children (12 and under) away. Teenagers (13 and over) and disabled must be supervised.
- Keep body and clothing free from and clear of all moving parts.
- Use the bench only for the intended use. DO NOT modify the bench.
- Inspect bench prior to use. DO NOT use if it appears damaged or inoperable.
- DO NOT use if any components are worn, frayed or damaged.
- DO NOT attempt to fix a broken or jammed bench. Notify floor staff.
- Report any malfunctions, damage or repairs to the facility. · Replace any warning labels if damaged, worn or illegible.
- DO NOT use this bench outdoors.
- Total Weight Limit: 1,000LBS.
User Weight Limit: 300LBS,
Lifting Weights: 700LBS
FACILITY SAFETY PRECAUTIONS
- Read the Owner’s Manual carefully before assembling, servicing or using the equipment.
- Make sure that each bench is set up and operated on a solid level surface. Do not install equipment on an uneven surface.
- Make sure that all users are properly trained on how to use the equipment.
- Make sure there is enough room for safe access and operation of the equipment.
- Perform regular maintenance checks on the equipment. Also pay close attention to all areas must susceptible to wear.
- Immediately replace worn or damaged components. If unable to immediately replace worn or damaged components, then remove from service until the repair is made.
- Use only Dyaco Canada supplied components to maintain/repair the equipment.
- Keep a repair log of all maintenance activities.
NOTE: It is the sole responsibility of the user/owner or the facility operator to ensure that regular maintenance is performed
SAFETY GUIDELINES AND PRACTICES
Dyaco Canada recommends that all fitness equipment be used in a supervised area. It is recommended that the equipment be located in an access-controlled area. Control is the responsibility of the owner. The extent of control is at the discretion of the owner. It is the responsibility of the purchaser/user of Dyaco Canada products to read and understand the owner’s manual, and warning labels; as well as instruct all individuals, whether end users or supervising personnel, on proper usage of the equipment. PROPER USAGE Use bench only as described in the manual. Failing to follow proper instructions may result in injury.
- Do not lean against or pull on the framework or any component, whether bench is at rest or in use. Inappropriate or improper use may result in injury to users or third parties (bystanders).
- Do not use bench if it is not located on a solid level surface or is improperly installed.
- Provide an adequate safety perimeter between the bench, walls and other equipment to ensure that the facility has the proper clearance for usage and training.
MAINTENANCE
Preventative maintenance allows proper equipment operation and reduces the risk of injury. Perform the maintenance requirements as specified in the manual (see table on page 10).
STANDARD COMPLIANCE
Dyaco Canada products meet or exceed applicable ASTM and EN Standards
WARNING/CAUTION DECALS
- Warning decals indicate a potentially hazardous situation, which, if not avoided, could result in death or serious injury.
- Caution decals indicate a potentially hazardous situation, which, if not avoided, could result in minor or moderate injury.
SAVE THESE INSTRUCTIONS – THINK SAFETY!
SFI100 ASSEMBLY INSTRUCTIONS
To avoid possible damage to this SFI100 Flat Incline Bench, please follow these assembly steps in the correct order. Be sure to read your Assembly/Owner’s Guide before using your new SFI100 Flat Incline Bench. Please use the various lists in this manual to account for all parts included in the assembly. If replacement parts are needed, use the part number and the description from the lists. Use only our replacements when servicing. Failure to do so will void your warranty and could result in personal injury After assembly, check all operations for ease of use. If any problems are experienced, first recheck the assembly instructions for possible errors made. If more help is needed, call your authorized dealer. Be sure to have your serial number ready. NOTE: During assembly, it is recommended to ensure that all bolts are in place and partially threaded before completely tightening any one bolt.
UNPACKING
Cut the straps, then pull the staples away from the bottom half and lift the top half of the carton off of the bottom. The hardware is located in the holes of the associated tubes/brackets
SFI100 TOOLS REQUIRED / HARDWARE GUIDE
|
|
|
|
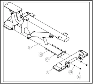
SFI100 STEP ONE
Attach the Rear Bracket (No.2) to the Base Bracket (No.1).
Secure with: 2 M10 x 130 Hex Head Bolts (No. 30), 2 Nylon Lock Nut M10 (No. 39) and 4 washers 11 x 20 x 2 (No. 43).
Note: Wrench Tighten the Bolts.
ST800FT STEP TWO
Attach the Seat Pad (No. 9) to the to the Seat Pad Bracket (No. 5) and the Back Pad (No.10) to the Back Pad Bracket (No.4). Secure with: 6 M10 x 30 Hex Head Bolts (No. 31), 6 Washers 11 x 20 x 2 (No. 43).
Note: Wrench Tighten the Bolts
ADJUSTING THE BENCH
The seat and back pad are both adjustable for a wide range of exercises. The Back pad angle is adjustable to six different settings as seen in the image. Simply pull the pop-pin adjustment knob and adjust the angle to your desired setting. Once selected, make sure the pop-pin is fully engaged in the selected hole before doing any exercise.
EXERCISE BANDS
Some users will benefit from using exercise bands with this bench. There are two hooks located at the rear of the bench near the transport wheels for use with exercise bands. Make sure any exercise bands used are in good working condition and properly secured to the bench before doing any exercise.
RESISTANCE TRAINING BENEFITS AND TIPS
Always consult a physician before starting an exercise program. To be successful in your exercise program, it is important to develop an understanding of the basic principles of resistance training. Now that you have assembled your Dyaco Canada bench, it is only natural that you want to get started immediately. First, determine a few realistic, short term goals and expectations for yourself. Choose an appropriate exercise routine that best suits your individual needs.
- Warm up properly before engaging in resistance training. Stretching, yoga, jogging, calisthenics, or other cardiovascular exercise can help prepare your body for the heavier workload of lifting weights.
- Learn how to perform the exercise correctly before using heavy weight. Correct form is important to avoid injury and ensure that you work the proper muscle groups.
- Know your limitations. If you are new to resistance training or are starting back, after an extended layoff, start slowly and build foundational strength over a longer period of time.
- Pay attention to your breathing. As a general rule of thumb inhale on the non-exertion part of the movement and exhale during the exertion portion. Never hold your breath.
- Keep in mind how important the recovery phase is in achieving your goals. The general rule is to allow a minimum of 48-72 hours before training the same muscles. If you still experience soreness after this period of time has elapsed, take a few additional days until the soreness has subsided.
- To achieve maximum results and avoid possible injury, consult a fitness professional to formulate a complete exercise program.
GENERAL MAINTENANCE
For best performance, Dyaco Canada Inc. recommends the following maintenance schedule. Check the integrity and function of the following parts. Replace all worn components immediately. Your equipment comes with a commercial schedule decal. For in home use, please follow the maintenance schedule listed below:
| ROUTINE | COMMERCIAL | HOME | LATEST DATE ENTRY |
| Clean: Upholstery | Daily | Weekly | |
| Inspect: All Decals | Weekly | 3 Months | |
| Inspect: All Nuts and Bolts, tighten if needed | Weekly | 3 Months | |
| Inspect: Anti-Skid Surface | Weekly | 3 Months | |
| Clean and Wax: All Glossy Finishes | 6 Months | Yearly |
Nuts and Bolts:
Inspect all nuts and bolts for any loosening and tightening if needed. Go through a re-tightening sequence periodically to ensure that all hardware is tensioned properly.
EXPLODED VIEW DIAGRAM

PARTS LIST
| KEY NO | PART NO | DESCRIPTION | Q’TY |
| 1 | 0910001 | Base Bracket | 1 |
| 2 | 0910002 | Rear Bracket | 1 |
| 3 | 0910003 | Front Adjustable Bracket (outer) | 1 |
| 4 | 0910004 | Back Pad Bracket | 1 |
| 5 | 0910005 | Seat Pad Bracket | 1 |
| 6 | 0910006 | Front Adjustable Bracket (Inner) | 1 |
| 7 | 0910007 | Back Adjustable Bracket (Inner) | 1 |
| 8 | 0910008 | Back Adjustable Bracket (Outer) | 1 |
| 9 | 0910009 | Seat Pad | 1 |
| 10 | 0910010 | Back Pad | 1 |
| 11 | 0910011 | Spring Pin | 2 |
| 12 | 0910012 | Shaft | 1 |
| 13 | 0910013 | Shaft | 1 |
| 14 | 0910014 | Bushing φ38 x φ25.4 x 18 | 2 |
| 15 | 0910015 | Bushing φ31 x φ19 x 20 | 2 |
| 16 | 0910016 | Bushing φ38 x φ25.4 x 7.5 | 2 |
| 17 | 0910017 | Bushing φ25 x φ12.2 x 13 | 6 |
| 18 | 0910018 | Aluminum Cap φ25 | 1 |
| 19 | 0910019 | Aluminum Ring φ25 | 1 |
| 20 | 0910020 | Plastic Tube Guide | 4 |
| 21 | 0910021 | Foot Cove | 3 |
| 22 | 0910022 | Plug PT50 x 100 | 2 |
| 23 | 0910023 | Wheel | 2 |
| 24 | 0910024 | Sleeve | 1 |
| 25 | 0910025 | Rubber Bumper | 1 |
| 26 | 0910026 | Plug | 2 |
| 27 | 0910027 | Hex Bolts M12 x 160 | 1 |
| 28 | 0910028 | Hex Bolts M12 x 140 | 2 |
| 29 | 0910029 | Hex Bolts M12 x 110 | 2 |
| 30 | 0910030 | Hex Bolts M10 x 130 | 2 |
| 31 | 0910031 | Hex Bolts M10 x 30 | 6 |
| 32 | 0910032 | Socket Head Cap Bolts M8 x 30 | 2 |
| 33 | 0910033 | Button Head Cap Screw M8 x 45 | 2 |
| 34 | 0910034 | Button Head Cap Screw M6 x 12 | 4 |
| 35 | 0910035 | Flat Head Cap Screw M6 x 15 | 1 |
| 36 | 0910036 | Socket Set Screw M6 x 15 | 2 |
| 37 | 0910037 | Socket Set Screw M5 x 3 | 2 |
| 38 | 0910038 | Nylon Lock Nut M12 | 5 |
| 39 | 0910039 | Nylon Lock Nut M10 | 2 |
| 40 | 0910040 | Nylon Lock Nut M8 | 2 |
| 41 | 0910041 | Hex Thin Nut M6 | 4 |
| 42 | 0910042 | Washer φ13 x φ24 x 1.5 | 10 |
| 43 | 0910043 | Washer φ11 x 20 x 2 | 10 |
| 44 | 0910044 | Washer φ9 x φ16 x 1.5 | 4 |
MANUFACTURER’S LIMITED WARRANTY
Dyaco Canada Inc. warrants all its Flat Incline Bench parts for a period of time listed below, from the date of retail sale, as determined by a sales receipt. Dyaco Canada Inc.’s responsibilities include providing new or remanufactured parts, at Dyaco Canada Inc.’s option, and technical support to our independent dealers and servicing organizations. In the absence of a dealer or service organization, these warranties will be administered by Dyaco Canada Inc. directly to a consumer. The warranty period applies to the following components:
Commercial Warranty:
(5 hours use or less in a non-dues paying facility)
Frame: 10 Years
Parts: 5 Years
Upholstery/Grips: 6 Months
Residential Warranty:
Lifetime on Everything, applies to vendor defects only
NORMAL RESPONSIBILITIES OF THE FACILITY
The facility is responsible for the items listed below:
- The warranty registration card must be completed and returned to the address listed on the card within 10 days of the original purchase.
- Proper use of the Flat Incline Bench in accordance with the instructions provided in this manual.
- Expenses for making the fitness equipment accessible for servicing, including any item that was not part of the fitness equipment at the time it was shipped from the factory.
- Damages to the fitness equipment finish during shipping, installation or following installation.
- Routine maintenance of this unit as specified in this manual.
EXCLUSIONS
This warranty does not cover the following:
- CONSEQUENTIAL, COLLATERAL, OR INCIDENTAL DAMAGES SUCH AS PROPERTY DAMAGE AND INCIDENTAL EXPENSES RESULTING FROM ANY BREACH OF THIS WRITTEN OR ANY IMPLIED WARRANTY. Note: Some areas do not allow the exclusion or limitation of incidental or consequential damages, so this limitation or exclusion may not apply to you.
- Service call reimbursement to the facility. Service call reimbursement to the dealer that does not involve malfunction or defects in workmanship or material, for units that are beyond the warranty period, for units that are beyond the service call reimbursement period, for fitness equipment not requiring component replacement, or fitness equipment not in non-dues paying facility or household use.
- Damages caused by services performed by persons other than authorized Dyaco Canada service companies; use of parts other than original Dyaco Canada parts; or external causes such as corrosion, discoloration of paint or plastic, alterations, modifications, abuse, misuse, accident, improper maintenance, inadequate power supply, or acts of God.
- Products with original serial numbers that have been removed or altered.
- Products that have been sold, transferred, bartered, or given to a third party.
- Products that do not have a warranty registration card on file at Dyaco Canada Inc. Dyaco Canada Inc. reserves the right to request proof of purchase if no warranty record exists for the product.
- THIS WARRANTY IS EXPRESSLY IN LIEU OF ALL OTHER WARRANTIES EXPRESSED OR IMPLIED, INCLUDING THE WARRANTIES OF MERCHANTABILITY AND/OR FITNESS FOR A PARTICULAR PURPOSE.
- Product used in prisons and correctional facilities.
Warranties outside of the Canada may vary. Please contact your local dealer for details
SERVICE
The sales receipt establishes the labour warranty period should service be required. If service is performed, it is in your best interest to obtain and keep all receipts. This written warranty gives you specific legal rights. Service under this warranty must be obtained by following these steps, in order:
- Contact your selling authorized dealer or Dyaco Canada Inc.
- If you have any questions about your new product or questions about the warranty contact Dyaco Canada Inc. at 1-888-707-1880.
- Dyaco Canada’s obligation under this warranty is limited to repairing or replacing, at Dyaco Canada’s option, the product through one of our authorized service centers. All repairs must be preauthorized by Dyaco Canada Inc.
- All transportation costs, both to our factory and upon return to the facility, are the responsibility of the facility. The facility is responsible for adequate packaging upon return to Dyaco Canada Inc. Dyaco Canada Inc. is not responsible for damages that occur during shipping. Make all freight damage claims with the appropriate freight carrier. DO NOT SHIP ANY UNIT TO OUR FACTORY WITHOUT A RETURN AUTHORIZATION NUMBER. All units arriving without a return authorization number will be refused.
- For any further information, or to contact our service department by mail, send your correspondence to: Dyaco Canada Inc. 5955 Don Murie Street Niagara Falls, ON L2G 0A9
Product features or specifications as described or illustrated are subject to change without notice. All warranties are made by Dyaco Canada Inc.
Please visit us online for information about our other brands and products manufactured and distributed by Dyaco Canada Inc.

RATCHET WRENCH AND SOCKET
ADJUSTABLE WRENCH
RUBBER MALLET
RUBBER MALLET

















