ST800FI Flat or Incline Bench
Owner’s Manual
ST800FI FLAT INCLINE BENCH
OWNER’S MANUAL
Thank you for purchasing our product, please save these instructions. Please do not perform or attempt any customizing, adjustments, repair or maintenance that is not described in this manual.
Congratulations on your new ST800FI Flat Incline Bench and welcome to the Spirit Fitness family! Thank you for your purchase of this quality ST800FI Bench from Spirit Fitness. Your new ST800FI Bench was manufactured by one of the leading fitness manufacturers in the world and is backed by one of the most comprehensive warranties available. Through your dealer, Spirit Fitness will do all we can to make your ownership experience as pleasant as possible for many years to come. If not purchased direct from Spirit Fitness, the local dealership where you purchased this bench is your administrator for all Spirit Fitness warranty and service needs. Their responsibility is to provide you with the technical knowledge and service personnel to make your experience more informed and any difficulties easier to remedy.
Please take a moment at this time to record the name of the dealer, their telephone number, and the date of purchase below to make any future, needed contact easy. We appreciate your support and we will always remember that you are the reason that we are in business.
Yours in Health,
Spirit Fitness
NAME OF DEALER _________________
DEALER PHONE # __________________
PURCHASE DATE ____________________
RECORD YOUR SERIAL NUMBER
Please record the serial number of this fitness product in the space provided below. The serial number is located at the base of the bench.
SERIAL NUMBER:…………………………………..
REGISTER YOUR PURCHASE
The self-addressed product registration card must be completed in full and returned to Spirit Fitness. You can also go to www.spiritfitness.com/warranty under the Support tab to register online.
WARNING
This product can expose you to chemicals including Toluene and Acrylamide which are known to the State of California to cause Cancer and birth defects or other reproductive harm. For more information, go to www.P65Warnings.ca.gov
IMPORTANT SAFETY INSTRUCTIONS
Read the owner’s manual carefully before assembling, servicing or using the equipment. It is the responsibility of the facility owner and/or owner of the equipment to instruct users on proper operation of the equipment and review all labels.
WARNING: Serious injury could occur if these safety precautions are not observed.
USER SAFETY PRECAUTIONS
- Obtain a medical exam before beginning any exercise program.
- Stop exercising if feeling faint, dizzy or experiencing pain and consult your physician.
- Obtain instructions before using.
- Read and understand the owner’s manual and all warnings posted on the bench before using.
- Keep all children (12 and under) away. Teenagers (13 and over) and disabled must be supervised.
- Keep body and clothing free from and clear of all moving parts.
- Use the bench only for the intended use. DO NOT modify the bench.
- Inspect bench prior to use. DO NOT use if it appears damaged or inoperable.
- DO NOT use if any components are worn, frayed or damaged.
- DO NOT attempt to fix a broken bench. Notify floor staff.
- Report any malfunctions, damage or repairs to the facility.
- Replace any warning labels if damaged, worn or illegible.
- WEIGHT LIMITS: 1,000LBS TOTAL; USER – 300LBS; LIFTING WEIGHT – 700LBS
FACILITY SAFETY PRECAUTIONS
- Make sure that each bench is set up and operated on a solid level surface. Do not use equipment on an uneven surface.
- Make sure that all users are properly trained on how to use the equipment.
- Make sure there is enough room for safe access and operation.
- Perform regular maintenance checks on the equipment. Also pay close attention to all areas most susceptible to wear.
- Immediately replace worn or damaged components. If unable to immediately replace worn or damaged components then remove from service until the repair is made.
- Use only Spirit Fitness supplied components to maintain/repair the equipment.
- Keep a repair log of all maintenance activities.
NOTE: It is the sole responsibility of the user/owner or facility operator to ensure that regular maintenance is performed.
SAFETY GUIDELINES AND PRACTICES
Spirit Fitness recommends that all fitness equipment be used in a supervised area. It is recommended that the equipment be located in an access controlled area. Control is the responsibility of the owner. The extent of control is at the discretion of the owner.
It is the responsibility of the purchaser/user of Spirit Fitness products to read and understand the owner’s manual, and warning labels; as well as instruct all individuals, whether end users or supervising personnel, on proper usage of the equipment.
PROPER USAGE
Use bench only as described in the manual. Failing to follow proper instructions may result in injury.
- Do not lean against or pull on the framework or any component, whether bench is at rest or in use. Inappropriate or improper use may result in injury to users or third parties (bystanders).
- Do not use bench if it is not located on a solid level surface.
- Provide an adequate safety perimeter between the bench, walls and other equipment to ensure that the facility has the proper clearance for usage and training.
MAINTENANCE
Preventative maintenance allows proper equipment operation and reduces the risk of injury. Perform the maintenance requirements as specified in the manual (see table on page 16).
STANDARD COMPLIANCE
Spirit Fitness products meet or exceed applicable ASTM and EN Standards.
WARNING/CAUTION DECALS
- Warning decals indicate a potentially hazardous situation, which, if not avoided, could result in death or serious injury.
- Caution decals indicate a potentially hazardous situation, which, if not avoided, could result in minor or moderate injury.
SAVE THESE INSTRUCTIONS – THINK SAFETY!
ASSEMBLY INSTRUCTIONS
ST800FI PRE-ASSEMBLY
To avoid possible damage to this ST800FI Flat Incline Bench, please follow these assembly steps in the correct order. Be sure to read your Assembly/Owner’s Guide before using your new ST800FI Bench.
NOTE: During assembly, it is recommended to ensure that all bolts are in place and partially threaded before completely tightening any one bolt.
UNPACKING
- Cut the straps, then pull the staples away from the bottom half and lift the top half of the carton off of the bottom
- The hardware is located in the holes of the associated tubes/brackets
ST800FI TOOLS REQUIRED
![]() | RATCHET WRENCH AND SOCKET |
![]() | ADJUSTABLE WRENCH |
![]() | RUBBER MALLET |
![]() | HEX KEY WRENCH SET |
ST800FI PARTS LIST
| Item No. | Description | QTY |
| 1 | Base Bracket | 1 |
| 2 | Rear Bracket | 1 |
| 3 | Front Adjustable Bracket (outer) | 1 |
| 4 | Back Pad Bracket | 1 |
| 5 | Seat Pad Bracket | 1 |
| 6 | Front Adjustable Bracket (Inner) | 1 |
| 7 | Back Adjustable Bracket (Inner) | 1 |
| 8 | Back Adjustable Bracket (Outer) | 1 |
| 9 | Seat Pad | 1 |
| 10 | Back Pad | 1 |
| 11 | Spring Pin | 2 |
| 12 | Shaft | 1 |
| 13 | Shaft | 1 |
| 14 | Bushing φ38 x φ25.4 x 18 | 2 |
| 15 | Bushing φ31 x φ19 x 20 | 2 |
| 16 | Bushing φ38 x φ25.4 x 7.5 | 2 |
| 17 | Bushing φ25 x φ12.2 x 13 | 6 |
| 18 | Aluminum Cap φ25 | 1 |
| 19 | Aluminum Ring φ25 | 1 |
| 20 | Plastic Tube Guide | 4 |
| 21 | Foot Cove | 3 |
| 22 | Plug PT50 x 100 | 2 |
| 23 | Wheel | 2 |
| 24 | Gloves | 1 |
| 25 | Rubber Bumper | 1 |
| 26 | Plug | 2 |
| 27 | Hex Bolts M12 x 160 | 1 |
| 28 | Hex Bolts M12 x 140 | 2 |
| 29 | Hex Bolts M12 x 110 | 2 |
| 30 | Hex Bolts M10 x 130 | 2 |
| 31 | Hex Bolts M10 x 30 | 6 |
| 32 | Socket Head Cap Bolts M8 x 30 | 2 |
| 33 | Button Head Cap Screw M8 x 45 | 2 |
| 34 | Button Head Cap Screw M6 x 12 | 4 |
| 35 | Flat Head Cap Screw M6 x 15 | 1 |
| 36 | Socket Set Screw M6 x 15 | 2 |
| 37 | Socket Set Screw M5 x 3 | 2 |
| 38 | Nylon Lock Nut M12 | 5 |
| 39 | Nylon Lock Nut M10 | 2 |
| 40 | Nylon Lock Nut M8 | 2 |
| 41 | Hex Thin Nut M6 | 4 |
| 42 | Washer φ13 x φ24 x 1.5 | 10 |
| 43 | Washer φ11 x 20 x 2 | 10 |
| 44 | Washer φ9 x φ16 x 1.5 | 4 |
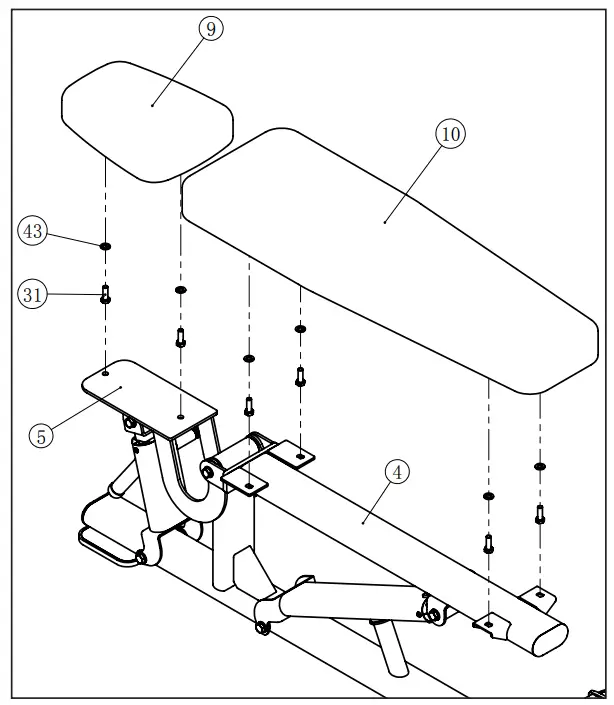
ST800FI EXPLODED VIEW
ST800FI STEP ONE
1. Attach the Rear Bracket (No. 2) to the Base Bracket (No. 1).
Secure with:
2 M10 x 130 Hex Head Bolts (No. 30)
2 Nylon Lock Nut M10 (No. 39)
4 Washers φ11 x φ20 x 2 (No. 43)
Note: Wrench Tighten the Bolts
ST800FI STEP TWO
1. Attach the Seat Pad (No. 9) to the Seat Pad Bracket (No. 5) and the Back Pad (No. 10) to the Back Pad Bracket (No. 4).
Secure with:
6 M10 x 30 Hex Head Bolts (No. 31)
6 Washer φ11 x φ20 x 2 (No. 43)
Note: Wrench Tighten the Bolts
ADJUSTING THE BENCH
The seat and back pad are both adjustable for a wide range of exercises. The Back Pad angle is adjustable to six different settings as seen in the image. Simply pull the pop-pin adjustment knob and adjust the angle to your desired setting. Once selected, make sure the pop-pin is fully engaged in the selected hole before doing any exercise.
EXERCISE BANDS
Some users will benefit from using exercise bands with this bench. There are two hooks located at the rear of the bench near the transport wheels for use with exercise bands. Make sure any exercise bands used are in good working condition and properly secured to the bench before doing any exercise.
RESISTANCE TRAINING BENEFITS AND TIPS
Always consult a physician before starting an exercise program. To be successful in your exercise program, it is important to develop an understanding of the basic principles of resistance training.
Now that you have assembled your Spirit Fitness bench, it is only natural that you want to get started immediately. First, determine a few realistic, short term goals and expectations for yourself. Choose an appropriate exercise routine that best suits your individual needs.
- Warm up properly before engaging in resistance training. Stretching, yoga, jogging, calisthenics, or other cardiovascular exercise can help prepare your body for the heavier workload of lifting weights.
- Learn how to perform the exercise correctly before using heavy weight. Correct form is important to avoid injury and ensure that you work the proper muscle groups.
- Know your limitations. If you are new to resistance training or are starting back, after an extended layoff, start slowly and build foundational strength over a longer period of time.
- Pay attention to your breathing. As a general rule of thumb: inhale on the non-exertion part of the movement and exhale during the exertion portion. Never hold your breath.
- Keep in mind how important the recovery phase is in achieving your goals. The general rule is to allow a minimum of 48-72 hours before training the same muscles. If you still experience soreness after this period of time has elapsed, take a few additional days until the soreness has subsided.
- To achieve maximum results and avoid possible injury, consult a fitness professional to formulate a complete exercise program.
GENERAL MAINTENANCE
Wipe down all areas in the sweat path with a damp cloth after each workout. If a squeak, thump, clicking or For best performance, Spirit recommends the following maintenance schedule. Check the integrity and function of the following parts. Replace all worn components immediately.
| ROUTINE | COMMERCIAL | HOME | LATEST DATE ENTRY |
| Clean: Upholstery | Daily | Weekly | |
| Inspect: All Decals | Weekly | 3 Months | |
| Inspect: All Nuts and Bolts, Tighten if needed | Weekly | 3 Months | |
| Inspect: Anti-Skid Surface | Weekly | 3 Months | |
| Clean and Wax: All Glossy Finishes | 6 Months | Yearly |
SANITIZING YOUR SPIRIT FITNESS EQUIPMENT
- Unupholstered high-contact surfaces (hard plastics) can be sanitized using a 75% isopropyl alcohol solution and a clean, dry cloth. Spray surfaces to be sanitized, and use the dry cloth to wipe clean. Allow surfaces to dry before using.
- For upholstered or soft-plastic surfaces, use a conditioner after sanitizing. Be sure to follow the instructions provided by the conditioner manufacturer to ensure proper use of the conditioner.
- Alternatively, you can make your own spray by mixing the proper ratio of isopropyl alcohol and distilled water to reach a 75% solution.
- For more details on sanitization, or to learn how to make your own spray solution, please visit https://support.spiritfitness.com/hc/en-us/articles/4406787148564 .
ST800FI FLAT INCLINE BENCH WARRANTY
EFFECTIVE NOVEMBER 24, 2021
Spirit Fitness warrants the ST800FI Flat Incline Bench for a period of time listed below from the date of sale, as determined by sale receipt, or in the absence of a sales receipt eighteen (18) months from the original factory shipping date. Spirit Fitness’ responsibilities include providing new or remanufactured parts, at Spirit Fitness’ option, and technical support to our independent dealers and servicing organizations. In the absence of a dealer or service organization, these warranties will be administered by Spirit Fitness directly. The warranty period applies to the following components:
| Residential (vendor defects only) | Frame Lifetime | Parts Lifetime | Upholstery/Grips Lifetime |
| Commercial (non-dues paying facilities) | 10 Years | 5 Years | 6 Months |
*Prisons and correctional facilities are excluded from warranty coverage.
NORMAL RESPONSIBILITIES OF THE FACILITY
The facility is responsible for the items listed below:
- The warranty registration card must be completed and returned to the address listed on the card within 10 days of the original purchase, or completed online to validate the manufacturer’s limited warranty.
- Proper use of the fitness equipment in accordance with the instructions provided in this manual.
- Expenses for making the fitness equipment accessible for servicing, including any item that was not part of the fitness equipment at the time it was shipped from the factory.
- Damages to the fitness equipment finish during shipping, installation or following installation.
- Routine maintenance of this unit as specified in this manual.
EXCLUSIONS
This warranty does not cover the following:
- CONSEQUENTIAL, COLLATERAL, OR INCIDENTAL DAMAGES SUCH AS PROPERTY DAMAGE AND INCIDENTAL EXPENSES RESULTING FROM ANY BREACH OF THIS WRITTEN OR ANY IMPLIED WARRANTY. NOTE: Some states do not allow the exclusion or limitation of incidental or consequential damages, so this limitation or exclusion may not apply to you.
- Service call reimbursement to the facility. Service call reimbursement to the dealer that does not involve malfunction or defects in workmanship or material, for units that are beyond the warranty period, for units that are beyond the service call reimbursement period, for fitness equipment not requiring component replacement, or fitness equipment not in nondues paying facility or household use.
- Damages caused by services performed by persons other than authorized Spirit Fitness service companies; use of parts other than original Spirit Fitness parts; or external causes such as corrosion, discoloration of paint or plastic, alterations, modifications, abuse, misuse, accident, improper maintenance, inadequate power supply, or acts of God.
- Products with original serial numbers that have been removed or altered.
- Products that have been: sold, transferred, bartered, or given to a third party.
- Products that do not have a warranty registration card on file at Spirit Fitness. Spirit Fitness reserves the right to request proof of purchase if no warranty record exists for the product.
- THIS WARRANTY IS EXPRESSLY IN LIEU OF ALL OTHER WARRANTIES EXPRESSED OR IMPLIED, INCLUDING THE WARRANTIES OF MERCHANTABILITY AND/OR FITNESS FOR A PARTICULAR PURPOSE.
- Product used in prisons and correctional facilities
Warranties outside of the United States may vary. Please contact your local dealer for details.
SERVICE
Keep your bill of sale. Twelve (12) months from the date on the bill of sale or eighteen (18) months from the date of factory shipping as determined by the serial number establishes the labor warranty period should service be required. If service is performed, it is in your best interest to obtain and keep all receipts. This written warranty gives you specific legal rights. You may also have other rights that vary from state to state. Service under this warranty must be obtained by following these steps, in order:
- Contact your selling authorized Spirit Fitness dealer. OR
- Contact your local authorized Spirit Fitness service organization.
- If there is a question as to where to obtain service, contact our service department at (870) 935-1107.
- Spirit Fitness’ obligation under this warranty is limited to repairing or replacing, at Spirit Fitness’ option, the product through one of our authorized service centers. All repairs must be preauthorized by Spirit Fitness.
- The owner is responsible for adequate packaging upon return to Spirit Fitness. Spirit Fitness is not responsible for damages in shipping. Make all freight damage claims with the appropriate freight carrier. DO NOT SHIP ANY UNIT TO OUR FACTORY WITHOUT A RETURN AUTHORIZATION NUMBER. All units arriving without a return authorization number will be refused.
- For any further information, or to contact our service department by mail, send your correspondence to:
SPIRIT FITNESS, INC.
P.O. Box 2037
Jonesboro, AR 72402-2037
Product features or specifications as described or illustrated are subject to change without notice. All warranties are made by Spirit Manufacturing, Inc.
This warranty applies only in the 48 contiguous United States. NOTE: This does not apply to Alaska or Hawaii.
www.spiritfitness.com

800.258.4555
[email protected]
www.spiritfitness.com
Spirit Fitness
3000 Nestle Road
Jonesboro, AR 72401
ST800FI Owners Manual
© 2021 All Rights Reserved
Revision: 11.24.2021






















