CANDY HBRUP 160 NK-N Built-Under Larder Fridge

Product Information
The Larder is a kitchen area designed for use by staff in shops, offices, and other work environments. It can also be used by beauty farms, hotel guests, motel guests, and residents in residential settings. It is suitable for catering services and similar applications, excluding retail sales.
The appliance should only be connected to the power supply after removing the packaging and transport protections. Keep children away from the packaging and its components to avoid suffocation. The folding cardboard and plastic film could pose a choking hazard.
Before turning on the appliance, it is recommended to allow the compressor oil to settle if the product has been transported horizontally. Check that the product is undamaged and that all parts and accessories are in perfect condition. Clean the ventilation openings in the area where the appliance is located or in the compressor structure. After cleaning, use a dry cloth to prevent rust formation.
Always handle the appliance with at least two people in a suitable area based on its size and intended use. Ensure that the electrical connections on the product’s label comply with the power supply. If not, consult an electrician. The electrical current required is 220-240 VAC / 50 Hz. Abnormal voltage fluctuations may prevent the appliance from starting, cause damage to temperature control or the compressor, or result in abnormal noises during operation. Use an automatic regulator.
The appliance is equipped with a 3-wire plug (grounded) suitable for a standard 3-wire socket (grounded). After installation, ensure that the plug remains accessible. Take care not to get the power cord caught under the appliance during transport or movement to prevent cutting or damage. If the power cord is damaged, have it replaced by the manufacturer, their technical service, or a qualified technician to avoid risks.
Avoid placing the appliance in dusty environments, direct sunlight, or near stoves or flammable materials. In the freezer compartment, do not open the lid in the event of a power interruption. Frozen food should not spoil if the power outage lasts less than the indicated hours on the classification label (temperature rise time). If an interruption occurs, check the food and consume it immediately or refreeze it after cooking.
If the lid does not open easily immediately after closing, it is not a problem. This condition depends on the pressure difference and will allow the lid to open again.
Avoid storing chemicals in the appliance. It is not suitable for storing materials that require low temperatures in residential environments. Do not touch the plug with wet hands during power supply and do not store products containing flammable propellants (e.g., spray cans) or explosive substances in the appliance. There is a risk of explosion. Do not place heavy objects or containers filled with water on top of the refrigerator.
Product Usage Instructions
- Remove all packaging and transport protections before connecting the appliance to the power supply.
- Ensure children are kept away from the packaging and its components to prevent suffocation.
- If the product has been transported horizontally, allow the compressor oil to settle before turning on the appliance.
- Check that the product is undamaged and all parts and accessories are in perfect condition.
- Clean the ventilation openings in the appliance’s location and compressor structure using a dry cloth to prevent rust formation.
- Always handle the appliance with at least two people in a suitable area based on its size and intended use.
- Ensure that the electrical connections on the product’s label comply with the power supply. Consult an electrician if necessary.
- Use an automatic regulator to handle abnormal voltage fluctuations (220-240 VAC / 50 Hz).
- Plug the appliance into a standard 3-wire socket (grounded) and ensure the plug remains accessible after installation.
- Avoid getting the power cord caught under the appliance during transport or movement to prevent damage. Have the power cord replaced by a qualified technician if damaged.
- Avoid placing the appliance in dusty environments, direct sunlight, or near stoves or flammable materials.
- In case of a power interruption in the freezer compartment, do not open the lid. Check frozen food for spoilage and consume immediately or refreeze after cooking.
- If the lid does not open easily immediately after closing, it is normal due to pressure differences.
- Avoid storing chemicals, materials requiring low temperatures, or products containing flammable propellants or explosive substances in the appliance.
- Do not touch the plug with wet hands during power supply.
- Avoid placing heavy objects or containers filled with water on top of the refrigerator.
Thank you for purchasing this product.
Before using your refrigerator, please carefully read this instruction manual in order to maximize its performance. Store all documentation for subsequent use or for other owners. This product is intended solely for household use or similar applications such as:
- the kitchen area for personnel in shops, offices and other working environments
- on farms, by clientele of hotels, motels and other environments of a residential type
- at bed and breakfasts (B & B)
- for catering services and similar applications not for retail sale.
This appliance must be used only for purposes of storage of food, any other use is considered dangerous and the manufacturer will not be responsible for any omissions. Also, it is recommended that you take note of the warranty conditions.
SAFETY INFORMATION
Please read the operating and installation instructions carefully! They contain important information on how to install, use and maintain the appliance. The manufacturer is not liable if you fail to comply with the instructions and warnings. Retain all documents for subsequent use or for the next owner.
- Do not connect the appliance to the electricity supply until all packing and transit protectors have been removed. Keep children away from packaging and its parts.
- Danger of suffocation from folding cartons and plastic film!
- Leave to stand for at least 4 hours before switching on the product, to allow compressor oil to settle if transported horizontally.
- Make sure there is no transport damage.
- Do not damage the refrigerant circuit.
- Maintain the ventilation openings in the appliance enclosure or in the built-in structure, free of obstruction.
- Never use water to wash the compressor position, wipe it with a dry cloth thoroughly after cleaning to prevent rust.
- Handle the appliance always with at least two persons because it is heavy.
- Install and level the appliance in an area suitable for its size and use.
- Make sure that the electrical information on the rating plate agrees with the power supply. If it does not, contact an electrician.
- The appliance is operated by a 220-240 VAC/50 Hz power supply. Abnormal voltage fluctuation may cause the appliance to fail to start, or damage to the temperature control or compressor, or there may be an abnormal noise when operating. In such case, an automatic regulator shall be mounted.
- Only for UK: The appliance’s power cable is fitted with 3-cord (grounding) plug that fits a standard
- 3- cord (grounded) socket. Never cut off or dismount the third pin (grounding). After the ap- pliance is installed, the plug should be accessible.
- Make sure that mains cable is not caught under the appliance during and after carrying/moving the appliance, to avoid the mains cable becoming cut or damaged. If the supply cord is damaged, it must be replaced by the manufacturer, its service agent or similarly qualified person in order to avoid a hazard. Do not install the appliance in humid, oily or dusty places, nor expose it to direct sunlight and to water.
- Do not install the appliance near heaters or inflammable materials.
- FOR appliances with a freezer compartment: if there is a power failure do not open the lid. Frozen food should not be affected if the failure lasts for less than the hours indicated on the rating label (Temperature rise time). If the failure is longer, then the food should be checked and eaten immediately or cooked and then refrozen.
- If you find that the lid of the appliance is difficult to open just after you have closed it, don’t worry. This is due to the pressure difference which will equalize and allow the lid to be opened normally after a few minutes.
- Do not store medicines, bacteria or chemical agents in the appliance. This appliance is a household appliance, it is not recommended to store materials that require strict temperatures.
- Do not excessively pull or fold the power cord or touch the plug with wet hands.
- Do not store products which contain flammable propellant (e.g. spray cans) or explosive substances in the appliance. Risk of explosion!
- Do not place unstable articles (heavy objects, containers filled with water) on top of the refrigerator, to ovoid personal injury caused by falling or electric shock caused by contact with water.
- Do not use electrical appliances inside the food storage compartments, unless they are of the type recommended by the manufacturer.
- Do not touch internal cooling elements, especially with wet hands, to avoid cracks or injuries.
- At risk here are children, people who have limited physical, mental or sensory abilities, as well as people who have inadequate knowledge concerning safe operation of the appliance.
- Check that children and vulnerable people have understood the hazards. A person responsible for safety must supervise or instruct children and vulnerable people who are using the appliance. Only children aged 8 years and above may use the appliance.
- Children should not play with the appliance.
- Children aged from 3 to 8 years are allowed to load and unload this appliance.
- FOR appliances with a freezer compartment: do not store bottled or canned liquids (especially carbonated drinks) in the freezer compartment. Bottles and cans may burst!
- FOR appliances with a freezer compartment: never put frozen food straight from the freezer compartment in your mouth. Risk of low-temperature burns!
- Keep plastic parts and the door seal free of oil and grease. Otherwise, plastic parts and the door seal will become porous.
- Before performing any operation, unplug the power cord from the power socket.
- Do not use mechanical devices or other means to accelerate the defrosting process, other than those recommended by the manufacturer.
- Do not use pointed or sharp-edged objects such as knives or forks to remove the frost.
- Never use hairdryers, electrical heaters or other such electrical appliances for defrosting.
- It is recommended to keep the plug clean, any excessive dust residues on the plug can be the cause fire.
- Do not try to repair, disassemble or modify the appliance by yourself. In case of repair please contact always our customer service.
- Supervise children while the appliance is being cleaned or maintained.
- Do not clean the cold glass shelves with hot water. Sudden temperature change may cause the glass to break.
- WARNING: The tubes of the refrigeration circuit convey a small quantity of an environmentally friendly but flammable refrigerant (R600a) and insulating gas (cyclopentane). It does not damage the ozone layer and does not increase the greenhouse effect. If refrigerant escapes, it may injure your eyes or ignite.
- If the refrigerant circuit should be damaged:
- Switch off the appliance and pull out the mains plug,
- Keep naked flames and/or ignition sources away from the appliance,
- Thoroughly ventilate the room for several minutes,
- Inform customer service.
- WARNING: Do not damage the plug and/or the power cord; this could cause electrical shocks or fires.
- WARNING: Do not use multiple portable socket-outlets or portable power supplies. We do not recommend the use of extension leads and multi-way adapters.
- Do not attempt to sit or stand on the top of the appliance. You could injure yourself or damage it. This appliance is not designed for stacking with any other ones.
- The product is designed and built for domestic household use only.
- Only original parts supplied by the manufacturer may be used. The manufacturer guarantees that only these parts satisfy the safety requirements.
- Opening the door for long periods can cause a significant increase of the temperature in the compartments of the appliance.
- Clean regularly surfaces that can come in contact with food and accessible drainage systems.
- Clean water tanks if they have not been used for 48h; flush the water system connected to a water supply if water has not been drawn for 5 days.
- Store raw meat and fish in suitable containers in the refrigerator, so that it is not in contact with or drip onto other food.
- Two-star frozen-food compartments(if they are presented in the appliance) are suitable for storing pre-frozen food, storing or making ice-cream and making ice cubes.
- One-, two- and three -star compartments, if present in the appliance, are not suitable for the freezing of fresh food.
- If the appliance is left empty for long periods, switch off, defrost, clean, dry and leave the door open to prevent mould developing within the appliance.
- FOR Wine Coolers: this appliance is intended to be used exclusively for the storage of wine
- FOR appliances without a 4-star compartment: this refrigerating appliance is not suitable for freezing foodstuffs
SPECIFICATIONS OF YOUR LARDER FRIDGE

DESCRIPTION OF THE APPLIANCE

NOTE:
Image is for reference only and may differ from your product.
The most energy-saving configuration requires drawers, food box and shelves to be positioned in the product, please refer to the above pictures
DESCRIPTION OF THE PRODUCT FEATURES
Shelves
- The shelves may be placed in any of the guide slots within the interior of the appliance. They are protected from sliding out.
- To remove a shelf: Take off all of the items that are stored on the shelf that you want to remove. Then lift the front of the shelf and carefully pull it out of the grooves.
Defrost water outlet
- The interior of the refrigerator is cooled by the cooling plate that is on the rear wall. Beneath this there is a channel and an outlet for the defrost water.
- It is important that this channel never becomes clogged (see “The defrost drain hole” section for a detailed explanation of how to keep the channel clear).

Crisper (salad) drawers and cover
- The crisper drawers are in the bottom of your refrigerator and there is a cover that goes over them.
- The cover helps to prevent fruit and vegetables from drying out prematurely.
Dairy shelf (door rack)
- The dairy shelf is suitable for storing eggs, cheese and yogurt. As well as smaller packages, tubes, cans etc.
Bottle shelf (bottle door rack)
- The lower shelf should be used for storing reasonably sized bottles.
IMPORTANT: IT IS IMPORTANT THAT NONE OF THE SHELVES THAT SIT IN THE DOOR ARE OVERLOADED, AS THIS WILL DRASTICALLY REDUCE THEIR WORKING LIFE.
USING YOUR LARDER FRIDGE
Before switching on
- Make sure that it has been installed by a suitably qualified person, as per the information contained in Baumatic’s installation instructions.
- After delivery, wait for eight hours before connecting the appliance to your mains supply. This will allow any refrigerant gasses that may have been disturbed during the transportation process to settle.
- The outside of the appliance and the removable accessories contained within it, should be cleaned with a solution of liquid detergent and water.
- The interior of the appliance should be cleaned with a solution of sodium bicarbonate dissolved in lukewarm water. The interior and accessories should be thoroughly dried, after the cleaning process has been completed.
- There can be an odour when you first switch on the appliance. It will lessen as the appliance starts to cool.
During first use
- You should set the thermostat dial to its maximum setting for 24 hours after switching on the appliance for the first time.
- When you first switch on the appliance, the compressor will run continuously for approximately 24 hours or until the fridge freezer reaches a cool enough temperature.
- During this period of time, you should try not to open the door frequently or place a large amount of food within the appliance.
- You should then adjust the thermostat dial down to its normal operating position.
- If the unit is switched off or unplugged, you must allow at least 5 minutes before restarting the appliance on the thermostat or connecting it to your mains supply.

Switching on the appliance and setting the thermostat
You switch on your appliance by connecting it to your mains supply and setting the thermostat. The thermostat control knob is located on the right hand side of the fridge.
- The thermostat automatically regulates the temperature inside of the fridge, depending on what number you have turned the thermostat control knob to:-
- Position <0> means that the appliance will not cool. However the light will still function.
- Position <1> will give you a higher temperature inside of the fridge.
- Position <6> will give you a lower temperature inside of the fridge.
- Ideally the thermostat should be set to a position of between <3> to <4>.
- Your refrigerator can maintain a temperature of between 4 –6 degrees centigrade.
IMPORTANT: The ambient temperature of the room, the temperature of the food and the amount of food that has been placed in the appliance and how often the door is opened, will all affect the temperature being maintained by the appliance. - On the maximum setting (position <6>), your fridge will work harder to maintain a lower temperature and will increase the energy usage. There is no need to run your appliance on this setting for prolonged periods and you should return the thermostat knob to between <3> to <4>.
IMPORTANT: Do not run the appliance with the thermostat above number 5 in normal usage otherwise the defrost drain hole will freeze.
ARRANGING AND STORING FOOD IN YOUR REFRIGERATOR
Position different food in different compartments according to be below table
| Refrigerator compartment | Type of food |
| Door or balconies of fridge compartment | · Foods with natural preservatives, such as jams, juices, drinks, condiments. · Do not store perishable foods |
| Crisper drawers (salad drawer) | · Fruits, herbs and vegetables should be placed separately in the crisper bin · Do not store bananas, onions, potatoes, garlic in the refrigerator |
| Fridge shelf – middle | · Dairy products, eggs |
| Fridge shelf – top | · Foods that do no need coocking, such as ready-to-eat foods, deli meats, leftovers. |
- It’s suggested to set the temperature at 4°C in the fridge compartment, and, whether possible, at -18°C in the freezer compartment.
- For most food categories, the longest storage time in the fridge compartment is achieved with colder temperatures. Since some particular products (as fresh fruits and vegetables) may be damaged with colder temperatures, it is suggested to keep them in the crisper drawers, whenever present. If not present, maintain an average setting of the thermostat.
- For frozen food, refer to the storage time written on the food packaging. This storage time is achieved whenever the setting respects the reference temperatures of the compartment (one-star -6°C, two stars -12°C, three stars -18°C)
- Warm food or evaporating liquids should not be stored in your refrigerator, as this will increase the humidity inside of the appliance.
- All foods should be wrapped or covered, this is particularly important if the food has a strong flavour. You should use polythene bags or sheets, aluminium foil, wax paper. Liquids should be stored in covered containers or bottles.
- To maximise the space inside of your refrigerator, any excessive packaging on the food should be removed.
- Quickly perishable food should be stored at the back of the refrigerator, which is the coldest part of the appliance.
- No food items should be allowed to come into contact with the back wall of the refrigerator.
- Make sure that you arrange food in such a way that the door can close completely. Particular attention should be given to bottles that may protrude when placed on shelves inside the main section of the refrigerator.
- Some organic solutions, such as the oils in lemon/orange peel and acid in butter, can cause damage to the plastic parts contained inside of the refrigerator.
- Do not open the refrigerator door too often or leave the door open for long periods of time, as this will increase the temperature inside of the appliance and will increase the energy usage.
- Meat should be wrapped in polythene bags and then placed on the glass shelf above the salad drawer. (Meat should only be stored in this manner for one or two days at the most).
- Cold dishes/cooked food should be covered and can be placed on any shelf.
- Fruit and vegetables should be cleaned thoroughly and placed in the salad drawer.
- Cheese and butter should be placed in airtight containers, or they can be wrapped in aluminium foil or polythene bags. As much air as possible should be removed from the bags.
- Milk bottles should have a cap on them and be stored on the bottle shelf that sits in the door.
- Garlic, potatoes, onions and bananas should only be stored in a refrigerator IF they are stored in airtight containers.
SAVING ENERGY WHEN USING YOUR REFRIGERATOR
Installing
- Install the appliance in a cool position. If it is placed in direct sunlight or next to an oven or other heat source, the energy consumption can increase substantially.
- Ensure the appliance is installed with the correct ventilation requirements. Restricting ventilation can increase the energy consumption by 15%.
Cleaning and Maintenance
- Occasionally clean the condenser coils (if present) at the back of the appliance to maintain a high performance level.
- Clean the door gasket with warm water or a neutral detergent that leaves no residue. A tight-sealing door gasket is critical to the efficiency of your appliance.
Usage
- Do not open the door repeatedly or more frequently than you have to.
- Do not set the thermostat too low. A change of just one degree can effect the energy consumption by 5%. Use a thermometer to check the temperature.
- The refrigerator should operate at around 3 to 4 degrees Celsius.
- Allow food to sufficiently cool before putting it in the appliance (but don’t let it sit at room temperature for too long).
- If you are going away for a long period of time, turn off the appliance, empty and clean it and leave the door ajar.
- If you have a second appliance that is not used, make sure that it is stored with the power off and the door left ajar until it is actually required.
Disposing
If you’re going to throw out your old fridge, see if there’s a chlorofluorocarbons (CFCs) recycler in your area. The government department which looks after the environment in your area may be able to help you.
CLEANING AND MAINTENANCE
WARNING: PLEASE ENSURE THAT YOUR APPLIANCE IS DISCONNECTED FROM YOUR MAINS SUPPLY BEFORE ATTEMPTING TO CLEAN IT.
- Do not clean the appliance by pouring water onto it or spraying water over it.
- The refrigerator compartment should be cleaned periodically, using a solution of bicarbonate of soda and lukewarm water.
- Clean the accessories separately with soap and water. Do not clean them in a dishwasher.
- Do not use abrasive products, detergents or soaps.
- After washing the appliance, wipe over the area that you have cleaned with a damp cloth and then dry it thoroughly.
- When cleaning is complete, dry your hands and then reconnect the plug to your mains supply.
The defrost drain hole 
Defrosting occurs automatically in the refrigerator compartment during operation. The defrost water is collected by the evaporating tray and evaporates automatically.
- The drain hole should be cleaned periodically with the drain hole cleaner. This will prevent water from collecting in the bottom of the refrigerator, instead of flowing down the defrost drainage channel and drain hole.
IMPORTANT: Please note that the drain hole cleaner should not be left in position permanently. Otherwise this may prevent the defrost water from entering the drain hole. - You can also pour a small amount of water down the drain hole to clean the defrost drainage channel.
- You should be careful to make sure that food packages do not touch the rear wall of the appliance, as this can interrupt the automatic defrosting process and deflect water into the base of your refrigerator.
- Use a solution of bicarbonate of soda and lukewarm water to clean the evaporating tray.
IMPORTANT: It is normal to get some ice droplets forming on the back wall of the appliance. The formation of ice droplets does not indicate an appliance fault.

Replacing the light bulb
WARNING: PLEASE ENSURE THAT YOUR APPLIANCE IS DISCONNECTED FROM YOUR MAINS SUPPLY BEFORE ATTEMPTING TO REPLACE THE LIGHT BULB.
- Press the rear end of the bulb cover until the sides release and then lift the bulb cover clear of the bulb.
- Change the present light bulb with a new one. The replacement bulb should not have a greater rating than 15 W; (an E14 15 W bulb should be used).
- Replace the light cover and after waiting five minutes, reconnect your plug to your mains supply.
INSTALLATION
IMPORTANT: Before installation and usage read all the instructions and make sure that the voltage (V) and the frequency (Hz)
indicated on the rating plate are exactly the same as the voltage and frequency in your home. The rating plate can be found on the front left edge of the
inside of the refrigerator.
The manufacturer declines all responsibility in the event of the installer failing to observe all the accident prevention regulations in force, which are necessary for normal use and the regular operation of the electric system.
Electrical connection
YOUR REFRIGERATOR IS INTENDED FOR FITTED AND PERMANENT INSTALLATION.
We recommend that the appliance is connected by a qualified electrician, who is a member of the N.I.C.E.I.C. and who will comply with the I.E.E. and local regulations.
- Your refrigerator comes supplied with a 13 amp plug fitted. If in future you need to change the fuse in this plug, then a 13 amp ASTA approved (BS 1362) fuse must be used.
- The wiring in the mains lead is coloured as follows:
- Brown Live
- Blue Neutral
- Green and yellow Earth
- As the colours of the wires in the appliance’s mains lead may not correspond with the coloured markings identifying the terminals in your spur box, please proceed as follows:
- The brown wire must be connected to the terminal marked “L” (live), or coloured red.
- The blue wire must be connected to the terminal marked “N” (neutral), o coloured black.
- The green and yellow wire must be connected to the terminal marked “E” (earth), or by the earth symbol, or coloured green and yellow.
- When the connection is completed, no stray strands or cut wire should be present. The cord clamp must be secured over the outer sheath.

Positioning
- It is advisable that your appliance is only installed in a location where the ambient temperature of the room, corresponds with the climate classification that is stated on the rating plate of your appliance. Your appliance may not function correctly if the ambient temperature falls outside of the following ranges.
- extended temperate (SN): ‘this refrigerating appliance is intended to be used at ambient temperatures ranging from 10 °C to 32 °C’;
- temperate (N): ‘this refrigerating appliance is intended to be used at ambient temperatures ranging from 16 °C to 32 °C’;
- subtropical (ST): ‘this refrigerating appliance is intended to be used at ambient temperatures ranging from 16 °C to 38 °C’
- tropical (T): ‘this refrigerating appliance is intended to be used at ambient temperatures ranging from 16 °C to 43 °C’;
- Your appliance should not be located in direct sunlight or exposed to continuous heat or extremes of temperature (e.g. next to a radiator or boiler).
- The door should be able to open completely and freely.
- The appliance should be situated so you can easily access the food that is stored in it.
- You should check whether there is an electrical socket available, which will be accessible after your appliance is installed.
Reversing the door of your appliance
This procedure MUST be completed before the furniture door is attached. Any parts that you remove from the appliance whilst reversing the door, should be retained for later use.
WARNING – Take care when opening the hinges, they are sprung loaded and there is the risk of injury if they close on your hand.
Tools required:
- Phillips screwdriver
- Flat bladed screwdriver

- Slacken the retaining screws (1) on the appliance and then carefully remove the appliance door.
- Place the appliance door on a cushioned surface, so that it does not get damaged.
- Lever off the cover caps (3).
- Insert the retaining screws (1) into the opposite side of the appliance from their original position. These screws should be partially tightened but not fully tightened.
- Remove the door retaining screws (2) and then reverse the position of the top and bottom hinge (as shown in the above diagram).
- Reattach the appliance door and then fully re-tighten the retaining screws (1) and the door retaining screws (2).
- Insert the cover caps (3) into the holes that are now exposed on the right hand side of the cabinet.
IMPORTANT: Check that the door opens and shuts correctly, without fouling, after you have completed the door reversal process.
After the door has been reversed, you should check the door seal of the appliance. The seal should not be creased or crushed; otherwise there will be a gap between it and the inside of the door. The seal must adhere properly all the way around the door.
If the seal is not adhering to the cabinet properly, then you should either:
- Use a warm damp cloth and manipulate the seal until it does adhere to the cabinet properly, all the way around the door.
Or - Use a hair dryer on its lowest heat setting and lightly heat the areas of the door seal that are not adhering correctly. The heat will make the seal more pliable and this will allow you to manipulate the seal into the correct position.
IMPORTANT: DO NOT HEAT THE DOOR SEAL ON ANYTHING BUT THE LOWEST HEAT SETTING, OR HEAT THE SEAL FOR A LONG PERIOD OF TIME.
OTHERWISE DAMAGE MAY BE CAUSED TO THE DOOR SEAL, WHICH WOULD NOT BE RECTIFIED UNDER THE GUARANTEE FREE OF CHARGE.
Aperture dimensions
The diagram below shows the aperture size that you will need to be able to install your appliance. The appliance must be stood on a level floor. You can use the levelling feet to take into account any minor unevenness in the floor.
Adjusting the plinth/kickboard
When the appliance has been placed underneath the worktop, you may decide to attach a plinth or kickboard to match your existing kitchen units.
Remove the grid on the base of the appliance by unscrewing the screws on each side of the grid and then pull the grid towards you. 
Use a spanner to adjust the height of the adjustable feet.
- If your aperture has a height of 820 mm, then the adjustable feet should be fully tightened.
- If your aperture has a height of 870 mm, then the adjustable feet should be set at a height of 50 mm.
- The appliance should be flush with the underside of the worktop and be level.
IMPORTANT: If the appliance is not level, then the door and door seal may be affected. - A cut out must be made in the plinth/kickboard for ventilation. The cut out should measure 600mm in width, and between 140mm and 90mm in height, depending on the height that you have set your appliance.
- Insert the plinth/kickboard and then refit the grid in its original position to hold it in place.
IMPORTANT: Please note that as shown in the above drawing, an appropriately sized ventilation cut out MUST be made in the furniture plinth/kickboard.
Fitting the furniture door to the appliance
If you need the appliance door to open from the other side, then please reverse the door before commencing the installation process. (See “Reversing the door section”).
Tools required:
- Tape measure
- Sharp pencil
- Small flat bladed screwdriver
- Spanner
IMPORTANT: We recommend that two people install this appliance.
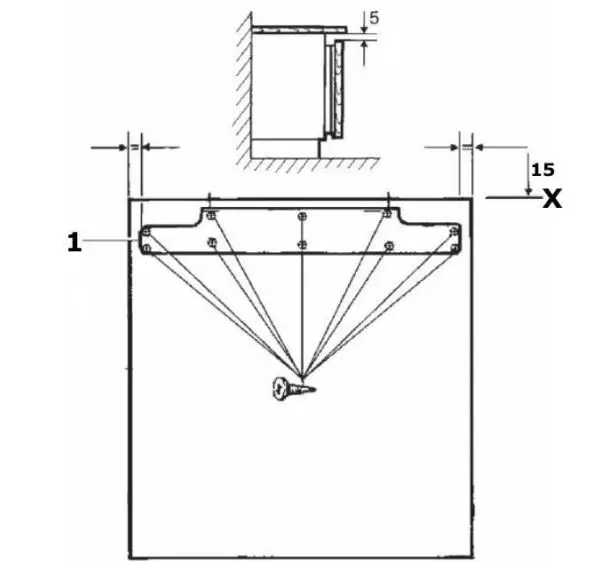
- Undo the screws from the two adjusting bolts that are located on the top of the appliance door and then remove the mounting bracket (1).

- Measure the width of the furniture door, at the halfway point mark a line vertically down the inner surface of the furniture door. You should draw the line from the top of the furniture door to approximately halfway down.
- Place the mounting bracket (1) on the reverse of the furniture door.
- The middle of the mounting bracket should be positioned on the line that you have just drawn. Please note the position of the mounting bracket in the above drawing, to ensure that you have the mounting bracket the correct way up.
- The top of the mounting bracket should be positioned approximately 15 mm from the top of the furniture door. This will allow you a 5 mm gap from the top of the furniture door, to the underneath of your worktop.
- Fix the mounting bracket to the furniture door using the screws provided and a Phillips-head screwdriver. These screws should be fully tightened.

- Hang the furniture door onto the appliance door, making sure that the brackets on the mounting bracket locate over the adjusting bolts.

- Use a screwdriver to adjust the gap on the lower section of the adjusting bolts. The gap should be set to approximately 9 mm (as shown in the above drawing).
- Fix the lower bracket to the bottom of the furniture door and the underneath of the appliance door.
- It is possible to make minor adjustments to the position of the furniture door using the screws on the top and the bottom of the appliance door. You should make these adjustments so that the furniture door is level.

- It is possible to make minor adjustments to the position of the furniture door using the screws on the top and the bottom of the appliance door. You should make these adjustments so that the furniture door is level.
- Insert the cover plate to the top of the appliance, this will just clip into place.

- Open the appliance door.
- Use a suitably sized drill bit to drill through the holes in the bracket, into the work top.
- IMPORTANT: The drill bit should be appropriate for the material that your work top is made from.
- Secure the bracket to the underside of the worktop, using the screws provided.
- IMPORTANT: These screws should be fully tightened.
- If the appliance is being installed under a granite worktop, use the L shaped brackets provided to secure the fridge to the side of the cabinet. Use a suitably sized drill bit to drill through the three holes in the bracket into the cabinet side on the opposite side to the hinges.
- The oval holes rest over the hinge positions which are not being used on the front of the appliance. Use two screws to secure the bracket to the front of the appliance.
- Check that the door opens and shuts without snagging, as well as checking that the door is sealing correctly.
TROUBLESHOOTING
IMPORTANT: If your refrigerator appears not to be operating properly, before contacting the Customer Care Department, please refer to the checklist below.
My fridge does not appear to be working/there is no power to my appliance.
- Check that the plug is fully inserted into the power socket.
- Check that there is power to your mains supply (e.g. that there hasn’t been a power cut or that the fuse hasn’t blown).
- Check that the thermostat inside the appliance has not been turned to the off position.
- Check that your mains supply voltage, corresponds to the voltage stated on the rating plate of your appliance.
My fridge appears to be performing poorly
- Check that the appliance isn’t overloaded and that food hasn’t been packed too tightly into it.
- The thermostat setting is too low; you should turn the thermostat up higher.
- Ensure that the door is closing properly and that the door has not been opened for a prolonged period in error.
- Ensure that there is adequate ventilation for your appliance.
My fridge is noisy
- The refrigerant gas that circulates the pipework of the appliance may make a slight noise, even if the compressor is not running.
- If the noise worsens or the appliance gets louder than normal; check that it is levelled off correctly, that nothing is touching the rear of the fridge and that nothing placed inside the appliance is rattling.
Ice has formed on the inner back wall of my fridge
- Check that food has not been pushed too far back inside the appliance, so that it is in contact with the inner back wall.
- IMPORTANT: It is normal to get some ice droplets forming on the back wall of the appliance. The formation of ice droplets does not indicate an appliance fault.
- There is water in the base of the fridge or leaking out of my fridge.
- Follow the “The defrost drain hole” section on page 15.
- DO NOT ATTEMPT TO REPAIR THE APPLIANCE YOURSELF.
Please note that if an engineer is asked to attend whilst the product is under guarantee and finds that the problem is not the result of an appliance fault, then you may be liable for the cost of the call out charge. The appliance must be accessible for the engineer to perform any necessary repair. If your appliance is installed in such a way that an engineer is concerned that damage will be caused to the appliance or your kitchen, then they will not complete a repair.
This includes situations where appliances have been tiled in, sealed in with sealant, have wooden obstructions placed in front of the appliance, like plinths. Or any installation other than the one specified by Baumatic Ltd. has been completed.
Please refer to the conditions of guarantee that appear on the warranty card that you receive with the appliance
To contact the technical assistance, visit our website:
https://corporate.haier-europe.com/en/
Under the section “website”, choose the brand of your product and your country. You will be redirected to the specific website where you can find the telephone number and form to contact the technical assistance
Availability of spare parts
Thermostats, temperature sensors, printed circuit boards and light sources are available for a minimum period of seven years after placing the last unit of the model on the market.
Door handles, door hinges, trays and baskets for a minimum period of seven years and door gaskets for a minimum period of 10 year, after placing the last unit of the model on the market
SCRAPPING OLD APPLIANCES 
This appliance is marked according to the European directive 2012/19/EU on Waste Electrical and Electronic Equipment (WEEE).
WEEE contains both polluting substances (which can cause negative consequences for the environment) and basic components (which can be re- used). It is important to have WEEE subjected to specific treatments, in order to remove and dispose properly all pollutants, and recover and recycle all materials.
Individuals can play an important role in ensuring that WEEE does not become an environmental issue; it is essential to follow some basic rules:
WEEE should not be treated as household waste.
WEEE should be handed over to the relevant collection points managed by the municipality or by registered companies. In many countries, for large WEEE, home collection could be present.
In many countries, when you buy a new appliance, the old one may be returned to the retailer who has to collect it free of charge on a one-to-one basis, as long as the equipment is of equivalent type and has the same functions as the supplied equipment.
Conformity
By placing the mark on this product, we are confirming compliance to all relevant European safety, health and environmental requirements which are applicable in legislation for this product.
Guarantee
Minimum guarantee is: 2 years for EU Countries, 3 years for Turkey, 1 year for UK, 1 year for Russia, 3 years for Sweden, 2 years for Serbia, 5 years for Norway, 1 year for Morocco, 6 months for Algeria, Tunisia no legal warranty required.
For further information about the product, please consult
https://eprel.ec.europa.eu/ or scan the QR on the energy label supplied with the appliance
CANDY HOOVER GROUP S.R.L. Via Privata Eden Fumagalli 20861 Brugherio Milan Italy




























