

Thank you for purchasing this product.
Before using your refrigerator, please carefully read this instruction manual in order to maximize its performance. Store all documentation for subsequent use or for other owners. This product is intended solely for household use or similar applications such as:
– the kitchen area for personnel in shops, offices, and other working environments
– on farms, by a clientele of hotels, motels, and other environments of a residential type
– at bed and breakfasts (B & B)
– for catering services and similar applications not for retail sale.
This appliance must be used only for purposes of the storage of food, any other use is considered dangerous and the manufacturer will not be responsible for any omissions. Also, it is recommended that you take note of the warranty conditions.
SAF ETY INFORMATION
The refrigerator contains a refrigerant gas (R600a: isobutane) and insulating gas (cyclopentane), with high compatibility with the environment, that is, however, inflammable.
We recommend that you follow the following regulations so as to avoid situations dangerous to you:
- Before performing any operation, unplug the power cord from the power socket.
- The refrigeration system positioned behind and inside the refrigerator contains refrigerant. Therefore,
avoid damaging the tubes. - If in the refrigeration system a leak is noted, do not touch the wall outlet and do not use open flames. Open the window and let air into the room. Then call a service center to ask for repair.
- Do not scrape with a knife or sharp object to remove frost or ice that occurs. With these, the refrigerant circuit can be damaged, the spill from which can cause a fire or damage your eyes.
- Do not install the appliance in humid, oily, or dusty places, nor expose it to direct sunlight and to water.
- Do not install the appliance near heaters or inflammable materials.
- Do not use extension cords or adapters.
- Do not excessively pull or fold the power cord or touch the plug with wet hands.
- Do not damage the plug and/or the power cord; this could cause electrical shocks or fires.
- It is recommended to keep the plug clean, any excessive dust residues on the plug can be the cause of the fire.
- Do not use mechanical devices or other equipment to hasten the defrosting process.
- Absolutely avoid the use of open flame or electrical equipment, such as heaters, steam cleaners, candles, oil lamps, and the like in order to speed up the defrosting phase.
- Do not use or store inflammable sprays, such as spray paint, near the refrigerator. It could cause an
explosion or fire. - Do not use electrical appliances inside the food storage compartments unless they are of the type
recommended by the manufacturer. - Do not place or store inflammable and highly volatile materials such as ether, petrol, LPG, propane gas,
aerosol spray cans, adhesives, pure alcohol, etc. These materials may cause an explosion. - Do not store medicine or research materials in the refrigerator. When the material that requires strict
control of storage temperatures is to be stored, it is possible that it will deteriorate or an uncontrolled
the reaction may occur that can cause risks. - Maintain the ventilation openings in the appliance enclosure or in the built-in structure, free of
obstruction. - Do not place objects and/or containers filled with water on the top of the appliance.
- Do not perform repairs on this refrigerator. All interventions must be performed solely by qualified
personnel. - This appliance can be used by children aged 8 years and above and by persons with reduced physical, sensory or mental capabilities or with a lack of experience and knowledge, provided that they have been given adequate supervision or instruction concerning how to use the appliance in a safe way and understand the hazards involved.
Children should not play with the appliance. Cleaning and user maintenance should not be made by
children without supervision.
Turning the knob fully counterclockwise, you will hear a click that corresponds to the switch-off of
the product. When the appliance is installed, the electrical cord and the current socket must be easily reached. The socket is compatible with the plug of the appliance. If not, request a replacement of the plug by an authorized technician; do not use extension cords and/or multiple connectors.
Do not touch the internal parts or frozen food with moist or wet hands as it can cause burns.
Scrapping old appliance
By ensuring that this product is properly disposed of, you will help prevent potential negative consequences for the environment and human health, which could otherwise arise due to inappropriate waste handling of this product on reaching the end of its working life.
With proper disposal of the appliance, it is possible to recover valuable raw materials!
This appliance is marked as conforming to the European Directive
2012/19/EU on Waste of Electrical and Electronic Equipment (WEEE).
The symbol on the product indicates that this appliance may not be treated as normal household waste; it must, instead, be delivered over to the nearest collection point for the recycling of electrical and electronic equipment.
Disposal must be effectuated in accordance with the environmental regulations in force for waste disposal.
For more detailed information about treatment, recovery, and recycling of this product, contact the competent public office (Department of Ecology and Environment), your home household waste disposal service, or the
shop where you purchased the product.
Cut and dispose of the power cord with the plug.
Up until appropriate disposal, do not damage the tubing because they contain refrigerant gas.
For the disposal of packing materials, follow local regulations.
WEEE contains both polluting substances (which can cause negative consequences for the environment) and basic components (which can be re-used). It is important to have WEEE subjected to specific
treatments, in order to remove and dispose properly of all pollutants, and recover and recycle all materials.
Individuals can play an important role in ensuring that WEEE does not become an environmental issue; it is essential to follow some basic rules:
-WEEE should not be treated as household waste.
-WEEE should be handed over to the relevant collection points managed by the municipality or by registered companies. In many countries, for large WEEE, the home collection could be present.
– when you buy a new appliance, the old one may be returned to the retailer who has to collect it free of charge on a one-to-one basis, as long as the equipment is of equivalent type and has the same functions as the supplied equipment.
Conformity
This equipment, in the parts intended to come into contact with food products, is in conformity with the requirements of EC Regulation No. CE 1935/2004. Apparatus conforms with European Directive 2004/1 08/EC, 2006/95EC, and successive amendments.
INSTALLATION
WARNINGS:
- Do not install the appliance in a damp or wet location as this could compromise the insulation and result in leakage.
Furthermore, on the exterior of the same, condensate could accumulate - Do not place the appliance in locations outside or near sources of heat or exposed to direct sunlight.
The appliance operates properly within the range of environmental temperatures indicated:
+10 +32’C for the climatic class SN
+16 +32’C for the climatic class N
+16 +38’C for the climatic class ST
+16 +43’C for the climatic class T
(See the nameplate of the product) - Do not place containers with liquids on top of the appliance.
- Wait at least 3 hours after final placement before placing the appliance in operation.
Electrical connection
After shipping, place the appliance vertically and wait at least 2 – 3 hours before connecting it to the electrical system. Before inserting the plug into the electrical socket, make sure that:
- The socket is earthed and in compliance with the law.
- The socket can withstand the maximum power load of the appliance, as indicated on the nameplate of the refrigerator.
- The power supply voltage is within the amounts indicated on the nameplate of the refrigerator.
- The cord must not be folded or compressed.
- The cord must be checked regularly and replaced solely by authorized technicians.
- The manufacturer declines any liability whenever these safety measures are not respected.
Appliance start-up
Remove all wrapping/packaging present inside the appliance and clean with water and baking soda or neutral soap.
After the installation, wait 2 – 3 hours to allow time for the refrigerator/ freezer to stabilize at normal working temperature, before placing fresh or frozen foods inside.
If the power cord becomes disconnected, wait at least five minutes before restarting the refrigerator/ freezer. At this point, the appliance is ready for use.
OPERATION
Turning On/Off (no display)
- The thermostat unit for control of the appliance is located inside the refrigerator compartment (Fig. 1).
Rotate the thermostat knob of the thermostat beyond the “0” position.
The light is on when the refrigerator door is open. Turning the knob to “0” completely turns off the product.

Temperature adjustment (no display)

- The temperature adjustment of both compartments is affected by rotating the thermostat knob (Fig. 2).
Select the desired position: - For colder temperatures in the refrigerator and in the freezer, by turning towards 5.
- For temperature less cold in the refrigerator and in the freezer, by rotating in the direction of 0.
CONSERVATION
- To maintain the best flavor, nourishment, and freshness of foods, it is advisable to store them in the refrigerator compartment as shown in Fig. 6 below, make sure to wrap them in aluminum or plastic sheets or inappropriate covered containers to avoid cross-contamination.
Refrigerator zone
Fruit / Vegetables
• To decrease fruit and vegetable moisture losses they must be wrapped in plastic materials such as, for example, films or bags and then inserted in the fruit/vegetable zone. In this way, rapid deterioration is avoided.
FRIDGE ZONE

Indicator of the temperature in the coldest zone (not all models)
Some models are equipped with an indicator of the temperature in the refrigerator compartment in the coldest zone, for you to be able to control the average temperature.
This symbol indicates the coldest zone of the refrigerator (Fig. 5).

Check that on the indicator of the temperature, the word OK is clearly shown (Fig. 6). If the word does not appear, this means that the temperature is too high: adjust the temperature to a cooler setting and wait for
about 10 hours.
Recheck the indicator: if necessary, proceed with a new adjustment.

NOTE:
If large quantities of food are inserted or the refrigerator door frequently opened, it is normal for the indicator fails to show OK. Wait at least 10 h before adjusting the knob to a higher setting.
Practical recommendations
Place food on the shelves in a homogeneous manner to allow air to circulate properly and to cool it.
- Avoid contact between the food and the far-end walls of the refrigerator compartment.
- Do not introduce hot foods as they can cause deterioration of existing ones and increase energy consumption.
- Remove the wrappings of foods before inserting them.
- Do not put in dishes or other containers unless previously washed.
- Do not obstruct the cold air ventilator openings with food.
- Do not cover the glass shelf of the vegetable bin to allow for proper air circulation.
- Do not store bottles in the freezer compartment as they can burst when frozen.
- ln the case of a prolonged power outage, keep the doors closed so that foods remain cold as long as possible.
- The installation of the appliance in a hot and humid location, with frequent door openings and storing large amounts of vegetables, can cause the formation of condensate and affect the performance of the unit itself.
- To prevent excessive energy consumption, the frequent or prolonged opening of the doors is not recommended.

DEFROSTING
Defrosting the refrigerator compartment
During normal functioning, the refrigerator is automatically defrosted.
There is no need to dry the drops of water present on the rear wall or to eliminate the frost (depending on functioning).
The water is conveyed to the rear part through the drain hole found there and the heat of the compressor causes it to evaporate.
• Keep the drainage pipe (Fig. 8) clean in the refrigerator compartment to keep it free of water.
Defrosting of the fridge compartment occurs automatically in this product.

Important: if your ambient temperature is high, the appliance may operate continuously, thus building up excessive frost on the inner wall of the fridge. In this case, turn the fridge knob to a warmer setting (1-2).

MAINTENANCE AND CLEANING
Lighting
LED lighting
The product is equipped with LED lights, please contact the Technical
Assistance Service in case of replacement.
Compared to traditional light bulbs, the LEDs last longer and are environmentally friendly.
Cleaning
NOTICE:
- Before each operation, remove the refrigerator plug from the power socket to prevent electric shocks.
- Do not pour water directly on the outside or inside of the refrigerator itself. This could lead to oxidation and damage to the electrical insulation.
IMPORTANT:
To prevent cracking of the inside surfaces and plastic parts, follow these suggestions:
- Wipe away any food oils adhered to plastic components.
- The internal parts, gaskets, and external parts can be cleaned with a cloth with warm water and baking soda or neutral soap. Do not use solvents, ammonia, bleach, or abrasives.
- Remove the accessories, for example, the shelves, from the refrigerator and from the door. Wash in hot soapy water. Rinse and thoroughly dry.
- The back of the appliance tends to accumulate dust which can be eliminated with the use of a vacuum cleaner, after having switched off and disconnected the appliance from the electrical outlet. This provides greater energy efficiency.
ENERGY SAVINGS
For better energy savings, we suggest:
- Installing the appliance away from heat sources and not exposed to direct sunlight and in a well-ventilated room.
- Avoid putting hot food into the refrigerator to avoid increasing the internal temperature and therefore causing continuous functioning of the compressor.
- Do not excessively stuff foods so as to ensure proper air circulation.
- Defrost the appliance in case there is ice (see DEFROSTING) to facilitate the transfer of cold.
- ln case of the absence of electrical energy, it is advisable to keep the refrigerator door closed.
- Open or keep the doors of the appliance open as little as possible
- Avoid adjusting the thermostat to temperatures too cold.
- Remove dust present on the rear of the appliance (see CLEANING).
AVOIDING NOISES
During its operation, the refrigerator emits some absolutely normal noises, such as:
- HUMMING, the compressor is running.
- RUMBLINGS, RUSTLINGS, and HISSING, the refrigerant is flowing through the tubes.
- TICKS and CLICKS, the operation shutdown of the compressor. Small measures to reduce the vibration noises:
- Containers touch each other: Avoid contact between containers and glass recipients.
- Drawers, shelves, bins vibrate: Check the proper installation of internal accessories.
NOTE:
The refrigerant gas produces noise even when the compressor is off; it is not a defect, it is normal.
If you hear a clicking sound inside the appliance, it is normal due to the expansion of the various materials.
REVERSIBILITY OF THE DOOR
The doors of the appliance can be reversed so as to allow the opening to the right or left according to exigency.
NOTE:
- Inversion of the doors must be performed by qualified technical personnel.
- Inversion of the doors is not covered by the warranty.
REVERSING THE OPENING OF THE DOOR

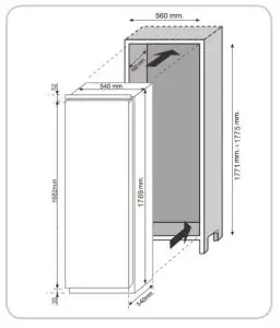
PRODUCT DIMENSIONS AND BUILT-IN COMPARTMENT

INSTALLATION OF THE APPLIANCE IN THE COLUMN
- Insert the appliance into the column, place it on the opposite side of the hinges, and make sure 3-5 mm distance gap.

- After ensuring the match between the appliance door and column door, then screw the appliance upper
part to the cabinet
- Screw the appliance lower part.

- Fit the seal to the appliance, cut off the excessive part if necessary. Fit the bottom parts with plastic covers.

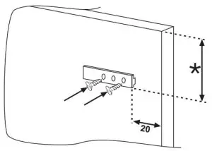
COUPLING OF THE PANELS OF THE BUILT-IN COLUMN OF THE APPLIANCE DOORS
The appliance is equipped with coupling devices for the appliance doors with the column panels (loader slide).
Secure the slide in the inner part of the panel of the built-in column at the desired height and at approx. 20 mm. From the outer wire of the door.

Open the doors of the built-in column and the fridge. Position the built-in loader in the slide, then fit it into the fridge door.

Mark the fixing points for the screws and drill with a bit of a diameter of 2.5mm.

Connect the appliance door to the cabinet panel keeping the loader slots as guidelines.

PRECAUTIONS FOR THE CORRECT OPERATION
Once the product has been embedded, place the rear part of the column in contact with the wall so as to prevent access to the compressor compartment.
For the product to operate correctly it is essential to allow adequate air circulation so as to cool down the condenser located in the rear part of the appliance.
For this reason, the column must be equipped with a rear chimney, whose upper opening must not be blocked, and with a front slot that will be covered with a ventilation grill. Size of the unit cutouts.

Room to leave between the unit and ceiling.

SUSPENDING USE OF THE APPLIANCE
If the appliance is not to be used for a long time:
1) Turn the appliance OFF (see Operation).
2) Extract the plug or remove the safety device.
3) Clean the appliance
4) Leave the doors of the appliance open.
TROUBLESHOOTING
PROBLEM
The inside illumination light bulb does not turn on.
The refrigerator and freezer do not sufficiently cool.
The food is in the refrigerator freezer.
The bottom of the refrigerator compartment is wet or droplets are present.
Presence of drops of water on the back wall of the refrigerator.
Presence of water in the vegetable drawer.
The motor runs continuously.
CAUSE
- Electricity absence.
- Door switch is blocked.
- The doors are not closed.
- The doors are frequently opened
- Erroneous setting of the temperature.
- The refrigerator and freezer have been excessively filled.
- Surrounding temperature is too low.
- No electrical power.
- Erroneous setting of the temperature.
- Food in contact with the back wall.
- The freezing of too much fresh food causes a lowering of the temperature of the refrigerator
The drain tube could be clogged. - Normal operation of the refrigerator.
- Lack of air circulation.
- Vegetables and fruits with too much moisture.
- The doors are not closed.
- The doors are opened frequently.
- Ambient temperature is very high.
- Thickness of frost than 3mm.
REMEDY
- The power cord is not properly plugged in.
- Check whether the appliance is switched off. (see Temperature Adjustment).
- Ensure that there is a current in the house.
- Check that it is active.
- Check that the door and gaskets close properly.
- Avoid unnecessary opening of the doors for a period of time.
- Check the temperature setting and, if it is possible, cool even more (see Temperature adjustment)
- Wait for the stabilization of the temperature of the refrigerator or freezer.
- Check that the ambient temperature is in accordance with what is indicated on the nameplate (see Installation).
- The power cord is not properly plugged in.
- Check whether the appliance is switched off (see Temperature adjustment)
- Ensure that in the home there is current.
- Check the temperature setting (see Temperature Adjustment) and, if possible, decrease the temperature setting
- Separate the food from the back wall of the refrigerator.
- Do not exceed the maximum amount to be frozen (see Freezing).
- Clean the drain tube with a stick or the like to allow the discharge of water.
- It is not a defect (see Defrosting).
- Verify that your glass shelf tray vegetables are not put foods that prevent air circulation.
- Wrap the fruit and vegetable materials with plastic such as for example, films, bags, or containers.
- Make sure the doors are closed and if the seals close properly.
- Avoid unnecessary open ports for a certain period.
- Verify that the ambient temperature is in accordance with the specifications on the nameplate (see Installation).
- Set the display/thermostat to a warmer temperature.
- Defrost the unit (see Defrosting).
IF YOU ARE NOT SOLVED THE PROBLEM, CONTACT THE SERVICE CENTER, PLEASE GIVE THE TYPE OF FAULT AND THE INFORMATION ON THE PLATE OF THIS APPARATUS TO INSIDE THE REFRIGERATOR COMPARTMENT:
- The model of equipment.
- The number of series.























