
USER’S MANUAL
Please read this instruction booklet carefully before using your fridge
Thank you for purchasing this product.
Before using your refrigerator, please carefully read this instruction manual in order to maximize its performance. Store all documentation for subsequent usage or other owners. This product is intended solely for household use or similar applications such as: – the kitchen area for personnel in shops, offices, and other working environments – on farms, by the clientele of hotels, motels, and other environments of a residential type
– at bed and breakfasts (B & B)
– For catering services and similar applications not for retail sale.
This appliance must be used only for purposes of the storage of food, any other use is considered dangerous and the manufacturer will not be responsible for any omissions. Also, it is recommended that you take note of the warranty conditions.
SAFETY INFORMATION
The refrigerator contains a refrigerant gas (R600a: isobutene) and insulating gas (cyclopentane), with high compatibility with the environment, that are, however, inflammable. We recommend that you follow the following regulations so as to avoid situations dangerous to you:
Before performing any operation, unplug the power cord from the power socket.
- The refrigeration system positioned behind and inside the appliance contains refrigerant. Therefore, avoid damaging the tubes.
- If in the refrigeration system a leak is noted, do not touch the wall outlet and do not use open flames. Open the window and let air into the room. Then call a service center to ask for repair.
- Do not scrape with a knife or sharp object to remove frost or ice that occurs. With these, the refrigerant circuit can be damaged, the spill from which can cause a fire or damage your eyes.
- Do not install the appliance in humid, oily or dusty places, nor expose it to direct sunlight and to water.
- Do not install the appliance near heaters or inflammable materials.
- Do not use extension cords or adapters.
- Do not excessively pull or fold the power cord or touch the plug with wet hands.
- Do not damage the plug and/or the power cord; this could cause electrical shocks or fires.
- It is recommended to keep the plug clean, any excessive dust residues on the plug can be the cause fire.
- Do not use mechanical devices or other equipment to hasten the defrosting process.
- Absolutely avoid the use of open flame or electrical equipment, such as heaters, steam cleaners, candles, oil lamps and the like in order to speed up the defrosting phase.
- Do not use or store inflammable sprays, such as spray paint, near the appliance, it could cause an explosion or fire.
- Do not use electrical appliances inside the food storage compartments, unless they are of the type recommended by the manufacturer.
- Do not place or store inflammable and highly volatile materials such as ether, petrol, LPG, propane gas, aerosol spray cans, adhesives, pure alcohol, etc. These materials may cause an explosion.
- Do not store medicine or research materials in the appliance. When the material that requires strict control of storage temperatures is to be stored, it is possible that it will deteriorate or an uncontrolled reaction may occur that can cause risks.
- Maintain the ventilation openings in the appliance enclosure or in the built-in structure, free of obstruction.
- Do not place objects and/or containers filled with water on the top of the appliance.
- Do not perform repairs on this appliance. All interventions must be performed solely by qualified personnel.
- This appliance can be used by children aged 8 years and above and by persons with reduced physical, sensory or mental capabilities or with a lack of experience and knowledge; provide that they have been given adequate supervision or instruction concerning how to use the appliance in a safe way and understand the hazards involved.
- Children should not play with the appliance. Cleaning and user maintenance should not be made by children without supervision
SCRAPPING OLD APPLIANCE
This appliance is marked according to the European directive 2012/19/EU on Waste Electrical and Electronic Equipment (WEEE).
WEEE contains both polluting substances (which can cause negative consequences for the environment) and basic components (which can be re-used). It is important to have WEEE is subjected to specific treatments, in order to remove and dispose properly of all pollutants, and recover and recycle all materials. Individuals can play an important role in ensuring that WEEE does not become an environmental issue’ it is essential to follow some basic rules:
– WEEE should not be treated as household waste;
– WEEE should be handed over to the relevant collection points managed by the municipality or by registered companies. In many countries, for large WEEE, the home collection could be present
In many countries, when you buy a new appliance, the old one may be returned to the retailer who has to collect it free of charge on a one-to-one basis, as long as the equipment is of equivalent type and has the same functions as the supplied equipment.
CE Conformity
By placing the C E mark on this product, we are confirming compliance to all relevant European safety, health and environmental requirements that are applicable in legislation for this product
ENERGY SAVINGS
Installing the appliance away from heat sources and not exposed to direct sunlight and in a well-ventilated room.For better energy savings, we suggest:
- Avoid putting hot food Into the refrigerator to avoid increasing the Internal temperature and therefore causing continuous functioning of the compressor.
- Do not excessively stuff foods so as to ensure proper air circulation.
- Defrost the appliance in case there is ice (see DEFROSTING) to facilitate the transfer of cold.
- In case of the absence of electrical energy, It Is advisable to keep the refrigerator door closed.
- Open or keep the doors of the appliance open as little as possible
- Avoid adjusting the thermostat to temperatures too cold.
- Remove dust present on the rear of the appliance (see CLEANING).
- Total no frost Audy( with the display on the door): remove all thebaskets In the freezer compartment;
- Total no frost ( with Internal user interface for fridge and knob for the freezer): remove other baskets in freezer compartment but keep a bottom drawer in Its position.
- Frost free model: remove other baskets In the freezer compartment but keep the bottom drawer in its position.
- All normal static models: remove all drawers In the freezer compartment.
NAME OF PARTS
PARTS AND FEATURES

| 1.Evaporator 2.Shelves of refrigerator chamber 3.Glass cover 4.Crisper box | 5.Leveling Legs 6.Bottle Racks 7.Door Switch 8.Temperature Control Knob |
CORRECTLY POSITIONING
Well Ventilating
There is a need of good ventilation around the refrigerator for easy dissipation of the at, high efficiency of refrigeration, and low power consumption. For this purpose, sufficient clear space should need around the refrigerator. Its back is at least 100mm away from the wall, its sides at least have a space of 100mm separately and the height from over its top is not less than 200mm. Clear space should be left to open its doors to 160 .
Power Supply
The refrigerator is only applied with a power supply of a single-phase alternating current of (220-240)V-/50Hz;230V-/60Hz.lf fluctuation of voltage in the district user is of so large that the voltage exceeds the above scope, for safety sake, be sure to apply a.c. automatic voltage regulator to the refrigerator. The refrigerator must employ a special power socket instead of a common one with other electric appliances. Its plug must match the socket with ground wire.
Power Line Cord
The cord should be neither lengthened nor folded into the coil during operation. Moreover, it is forbidden that the cord is kept close to the compressor at the back of the refrigerator, the surface temperature of which is quite high when operating. Touching with it would deactivate the insulation or cause leakage for electricity.
Protection from Moisture
Avoiding placing the refrigerator in a place where heavy moisture is present so as to minimize the possibility of rusty for its metal parts. Still more, the refrigerator is forbidden to be directly sprayed by water, otherwise, poor insulation and current leakage would occur.
Protection from Heat
The refrigerator should be far away from any heat source or direct sunshine.
Fixing Stable
The floor on which the refrigerator will be placed must be flat and solid. It should not be laid on any soft material such as foam plastic, etc. If the refrigerator is not on the same level, adjust the screws suitably. The refrigerator should not be placed near anything which may echo.
Keep Away from Danger
It is inadvisable that the refrigerator is placed near any volatilizable or combustible such as gas, petrol, alcohol, lacquer and banana oil, etc. The above-mentioned objects can not be stored in the refrigerator.
Moving
When fixed or moved, the refrigerator can not be set horizontally or declined to more than 45′ or upside-down.
CAUTIONS
- It must be checked that the voltage used should be the same as the rated voltage before the refrigerator is used.
- Water contained in food or getting into air inside the refrigerator by opening doors may form a layer of frost inside, It will weaken the refrigerator when the frost is thick,
- Defrosting on evaporator Is operated manually. When the biggest themes of the frost layer on the evaporator increase to 4mm, It must be turned off per supply to defrost. The defrost water flows into the water collection pan through the drain port and evaporate by the heat of the compressor.
- If the supply cord of this appliance is damaged, it must only be replaced by a repair shop appointed by the manufacturer, because special purpose tools are required.
- It is dangerous to alter the specifications or attempt to modify this product in any way
- When you change the light bulb or when the refrigerator is not in use for long periods, disconnect it from the electricity supply..
- Wait for 5 minutes before restarting the unit after the power supply blackout.
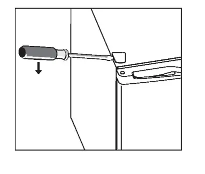
CHANGING THE REVERSIBLE DOOR
Reversing the Door Swing
Tools required: Phillips style screwdriver / Flat bladed screwdriver / Hexagonal spanner
- Ensure the unit is unplugged and empty.
- Adjust the two leveling feet to their highest position.
- To take the door off it is necessary to tilt the unit backward. You should rest the unit on something solid so that it will not slip during the door reversing process.
- All parts removed must be saved to do the reinstallation of the door.
- Do not lay the unit flat as this may damage the coolant system.
- We recommend that 2 people handle the unit during assembly.
- Tilt the unit slightly towards the rear and prop it securely. Two people are required to tilt the unit during the door reversal process.

- Remove the top right hinge cover

- Undo the screws. Then remove the hinge bracket.

- Remove the top left screw cover.

- Move the core cover from left side to the right side. And then lift the door and place it on a padded surface to prevent it from scratching.

- Remove the screws and bottom hinge. Then remove the adjustable feet from both side.

- Unscrew and remove the bottom hinge pin, turn the bracket over and replace it.

- Refit the bracket fitting the bottom hinge pin. Replace both adjustable feet.

- Place the door back on. Ensure the door is aligned horizontally and vertically so that the seals are closed on all sides before finally tightening the top hinge.

- Insert the hinge bracket and screw it to the top of the unit.
- Use a spanner to tighten it if necessary.
- Put the hinge cover and the screw cover back.

- With the door closed, check that the door is aligned horizontally and vertically and that the seals are closed on all sides before finally tightening the bottom hinge. Re-adjust the leveling feet as needed.

MAINTENANCE
- The refrigerator should be cleaned and maintained once a month.
- When performing maintenance, make absolutely sure that the power plug is first disconnected from the power outlet.
- Wipe the inner and outer surface of the refrigerator and its accessories with wet cloth. If they are too dirty, scrub them with neutral detergent, and then clean them with water and dry them with clean cloth. After this, a small quantify of glass wax is recommended to polish the refrigerator surface with a flannelette.
- For cleaning, don’t use hot water, diluent, petrol, alcohol, kerosene, washing powder, cleanser, aikailinous detergent, acid, Chemical cloth, etc. So as not to damage the lacquer coat and plastics. It is forbidden that the refrigerator is directly sprayed with water. Otherwise, it would cause rusty or weaken the
- Be careful to upkeep the sealing rubber bars of the doors. They should always be cleaned.
- If the plastic parts in the refrigerator remain contaminated for a long time by oil (animal or vegetable), they will be easy aged and possibly cracked. The drain pan gets dirty very easily if it is not cleaned regularly, bad odors will be produced, get into the habit of cleaning this pan regularly.
TROUBLESHOOTING
- When the refrigerator does not work Check if there is a power failure. Check if the power plug is plugged into the power outlet.Check that the fuse has not blown.
- When the refrigerator is cooling excessively The temperature control dial may be set too high. If you place foodstuffs containing a lot of moisture directly under the cool air outlets, they will freeze easily. This does not indicate a malfunction.
- When the refrigerator is not cooling sufficiently
The food may be packed too tightly together which will block the flow of cool air.
You may have put something hot or a lot of foodstuffs into the refrigerator.
The door may not have been closed properly.
The door gaskets may be damaged. The refrigerator may not be ventilated.
There may be insufficient clearance between the refrigerator and the surfaces
Immediately both sides and above.
The temperature control dial may not be set properly. - When the defrosting water overflows inside the refrigerator and onto the floor.
Check that the drain pipe and the drain hose are not clogged.
Check that the drain pan is housed properly.
Whether the thickness of the frost layer was thicker than 4mm when you make the refrigerator defrost. - When condensation form on the outside of the refrigerator.
- Condensation may form on the outside when the humidity is high such as during a wet season.
This is the same result as the condensation formed when chilled water is poured into a glass.
It does not, therefore, indicate a failure, wipe dry with a dry cloth. - When you hear a sound like water flowing.
A sound like water flowing is the refrigerant flowing. It does not indicate a malfunction. When the cabinet’s side panel heats up The side panel of the cabinet will heat up when the door is opened or closed frequently, when starting the unit and when the unit operates in summer with high ambient outside temperature, In such case, do not touch the panel, it results from the dissipation of the heat from inside the cabinet, and it does not mean that something is wrong with the refrigerator.
TECHNICAL SPECIFICATIONS
- For the detailed technical specifications, please refer to the nameplate at the back of the refrigerator.
- specifications are subject to change without prior notice.
Rear spacer































